TOP
|
特許
|
意匠
|
商標
意匠ウォッチ
Twitter
他の意匠を見る
発行日
2025-11-17
公報種別
意匠公報(S)
登録番号
1812846
登録日
2025-11-07
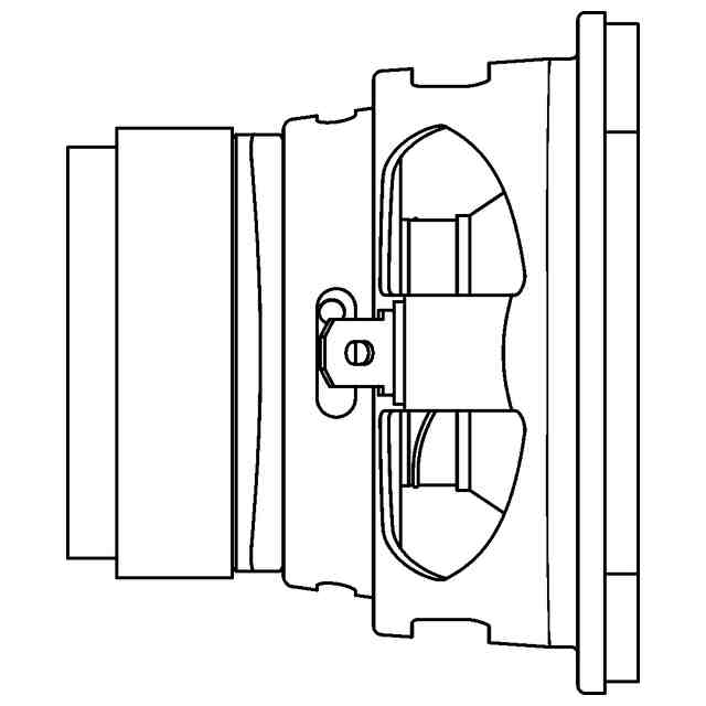
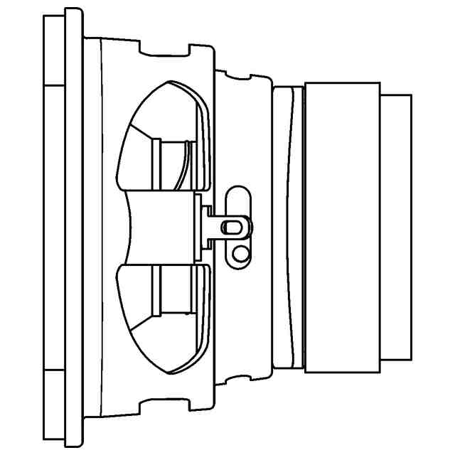
意匠に係る物品
スピーカー
意匠分類
H7
-23291(電子情報入出力機器)
出願番号
2025007119
出願日
2025-04-08
意匠権者
ヤマハ株式会社
,
YAMAHA CORPORATION
代理人
個人
意匠に係る物品の説明
意匠の説明
意匠ウォッチbot のツイートを見る
この意匠をJ-PlatPat(特許庁公式サイト)で参照する
関連意匠
ヤマハ株式会社
7か月前
ヤマハ株式会社
4日前
ヤマハ株式会社
7か月前
ヤマハ株式会社
7か月前
ヤマハ株式会社
7か月前
ヤマハ株式会社
1か月前
ヤマハ株式会社
ギター
5か月前
ヤマハ株式会社
ギター
5か月前
ヤマハ株式会社
ギター
5か月前
ヤマハ株式会社
譜面板
7か月前
ヤマハ株式会社
管楽器
6か月前
ヤマハ株式会社
電子ピアノ
11か月前
ヤマハ株式会社
電子ドラム
7か月前
ヤマハ株式会社
電子ピアノ
11か月前
ヤマハ株式会社
電子ピアノ
11か月前
ヤマハ株式会社
電子鍵盤楽器
11か月前
ヤマハ株式会社
フルート用演奏補助具
11か月前
ヤマハ株式会社
フルート用演奏補助具
11か月前
ヤマハ株式会社
鍵盤楽器用椅子の部品
3か月前
ヤマハ株式会社
シロフォンおもちゃ
10か月前
ヤマハ株式会社
ヘッドホン
10日前
ヤマハ株式会社
ヘッドホン
10日前
ヤマハ株式会社
ギター
6か月前
ヤマハ株式会社
スピーカー
4か月前
ヤマハ株式会社
スピーカー
4か月前
ヤマハ株式会社
マイクロフォン
11か月前
ヤマハ株式会社
マイクロフォン
2か月前
ヤマハ株式会社
マイクロフォン
2か月前
ヤマハ株式会社
マイクロフォン
11か月前
ヤマハ株式会社
マイクロフォン
11か月前
ヤマハ株式会社
ルーター
6日前
ヤマハ株式会社
スピーカー
今日
ヤマハ株式会社
スピーカーフォン
11か月前
ヤマハ株式会社
スピーカーフォン
11か月前
ヤマハ株式会社
ウェーブガイド
10か月前
ヤマハ株式会社
リモートコントローラー
7か月前
続きを見る
他の意匠を見る