TOP
|
特許
|
意匠
|
商標
意匠ウォッチ
Twitter
他の意匠を見る
発行日
2025-11-13
公報種別
意匠公報(S)
登録番号
1812755
登録日
2025-11-05
意匠に係る物品
シリンジ用キャップ
意匠分類
J7
-42(医療機械器具)
出願番号
2025013926
出願日
2025-07-11
意匠権者
株式会社大塚製薬工場
,
OTSUKA PHARMACEUTICAL FACTORY,INC.
代理人
個人
,
個人
,
個人
意匠に係る物品の説明
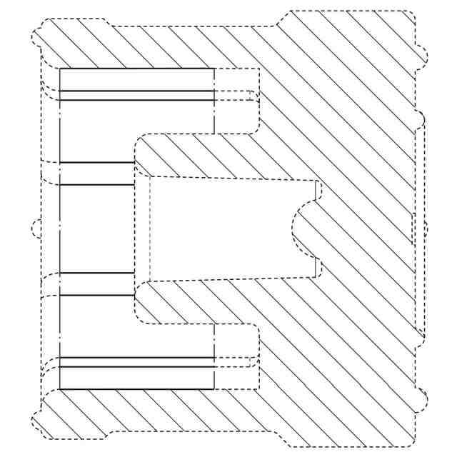
本物品は、注射針をねじ込んで装着するタイプのシリンジ(いわゆるルアーロック式のシリンジ)に使用するキャップである。本物品は、内周面に凹部を有することで、シリンジのロック機構と本物品の内周面の接する表面積を小さくして、開栓のし易さを向上させている。
意匠の説明
実線で表した部分が部分意匠として意匠登録を受けようとする部分である。一点鎖線は、部分意匠として意匠登録を受けようとする部分とその他の部分との境界のみを示す線である。
意匠ウォッチbot のツイートを見る
この意匠をJ-PlatPat(特許庁公式サイト)で参照する
関連意匠
株式会社大塚製薬工場
7か月前
株式会社大塚製薬工場
10か月前
株式会社大塚製薬工場
輸液バッグ
11か月前
株式会社大塚製薬工場
シリンジ用キャップ
20日前
株式会社大塚製薬工場
シリンジ用キャップ
20日前
花王株式会社
首枕
9か月前
個人
薬箱
3か月前
合同会社サポートサービスオレンジ
担架
5か月前
花王株式会社
首枕
9か月前
花王株式会社
首枕
9か月前
花王株式会社
首枕
9か月前
雪印ビーンスターク株式会社
錠剤
3か月前
花王株式会社
首枕
9か月前
花王株式会社
首枕
10か月前
花王株式会社
首枕
10か月前
花王株式会社
首枕
10か月前
花王株式会社
首枕
9か月前
シーク・ウィメンズ・ヘルス・インコーポレイテッド
検鏡
9か月前
ブライデア アイピー ビー.ブイ.
膣鏡
19日前
シーク・ウィメンズ・ヘルス・インコーポレイテッド
検鏡
9か月前
シーク・ウィメンズ・ヘルス・インコーポレイテッド
検鏡
9か月前
シーク・ウィメンズ・ヘルス・インコーポレイテッド
検鏡
9か月前
雪印ビーンスターク株式会社
錠剤
3か月前
株式会社オーディオテクニカ
集音器
3か月前
株式会社エー・アンド・デイ
血圧計
11か月前
株式会社オーディオテクニカ
集音器
3か月前
株式会社サーキュラス
注射器
11か月前
ハロザイム インコーポレイテッド
注入器
11か月前
千寿製薬株式会社
視力表
5か月前
ハロザイム インコーポレイテッド
注入器
9か月前
千寿製薬株式会社
視力表
4か月前
株式会社永光
集音器
2か月前
株式会社永光
集音器
2か月前
パラマウントベッド株式会社
カート
12か月前
ティ・アール・エイ株式会社
集音器
6か月前
ハロザイム インコーポレイテッド
注入器
6か月前
続きを見る
他の意匠を見る