TOP
|
特許
|
意匠
|
商標
意匠ウォッチ
Twitter
他の意匠を見る
発行日
2025-11-11
公報種別
意匠公報(S)
登録番号
1812527
登録日
2025-10-31
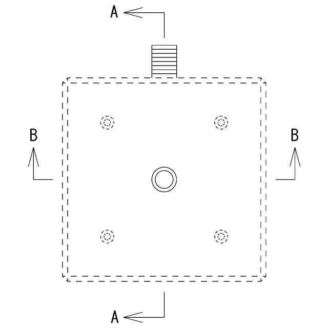
意匠に係る物品
機器設置用基礎ブロック
意匠分類
L3
-0(組立て家屋、屋外装備品等)
出願番号
2025008792
出願日
2025-05-01
意匠権者
東洋ベース株式会社
代理人
個人
意匠に係る物品の説明
本物品は、「使用状態を示す参考図」に表されたように、上面においてケーブルを構成要素とする機器を支持するために使用される機器設置用基礎ブロックである。また、本物品は、「使用状態を示す参考図」又は「A-A断面図」に表されたように、上記ケーブルが内部に挿通される電線管の主要部が埋設され、該電線管の一端は上面の中央から突出され、他端は背面から水平方向に突出されてなるものである。
意匠の説明
実線で表された部分が意匠登録を受けようとする部分である。
この意匠をJ-PlatPat(特許庁公式サイト)で参照する
関連意匠
東洋ベース株式会社
機器設置用基礎ブロック
22日前
株式会社LIXIL
門
2か月前
積水樹脂株式会社
柵
1か月前
株式会社LIXIL
門
2か月前
株式会社大林組
柵
3か月前
株式会社LIXIL
門
2か月前
株式会社LIXIL
門
2か月前
積水ハウス株式会社
住宅
9か月前
積水ハウス株式会社
住宅
9か月前
積水ハウス株式会社
住宅
9か月前
積水ハウス株式会社
住宅
9か月前
石友ホーム株式会社
住宅
11か月前
株式会社長谷工コーポレーション
門柱
8か月前
積水ハウス株式会社
住宅
1か月前
株式会社長谷工コーポレーション
門柱
8か月前
積水ハウス株式会社
住宅
8か月前
旭化成ホームズ株式会社
住宅
9か月前
積水ハウス株式会社
住宅
8か月前
旭化成ホームズ株式会社
住宅
9か月前
住友林業緑化株式会社
門柱
9か月前
個人
住宅
9か月前
個人
住宅
9か月前
旭化成ホームズ株式会社
住宅
11か月前
旭化成ホームズ株式会社
住宅
11か月前
旭化成ホームズ株式会社
住宅
11か月前
旭化成ホームズ株式会社
住宅
11か月前
旭化成ホームズ株式会社
住宅
11か月前
旭化成ホームズ株式会社
住宅
11か月前
旭化成ホームズ株式会社
住宅
3か月前
住友林業株式会社
住宅
2か月前
積水ハウス株式会社
住宅
8か月前
YKK AP株式会社
門扉
3か月前
YKK AP株式会社
門扉
3か月前
株式会社LIXIL
門扉
8か月前
三協立山株式会社
門扉
8か月前
株式会社東亜産業
倉庫
11か月前
続きを見る
他の意匠を見る