TOP
|
特許
|
意匠
|
商標
意匠ウォッチ
Twitter
他の意匠を見る
発行日
2025-11-07
公報種別
意匠公報(S)
登録番号
1812330
登録日
2025-10-29
意匠に係る物品
ファン取付具
意匠分類
D4
-490(暖冷房機又は空調換気機器)
出願番号
2025004409
出願日
2025-03-06
意匠権者
株式会社イシカワ
代理人
個人
,
個人
意匠に係る物品の説明
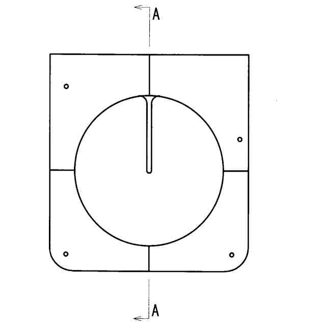
本物品のファン取付具は、例えば、使用状態を示した参考図の如く、部屋内に設置した小型のシーリングファンの場合、壁面まで温風や冷風が届きにくくなることから、ファンを前面に設置した状態で壁際に設けることにより、前記シーリングファンから撹拌された空気を壁際まで引っ張ることができ、効率的な壁面温度を調整することができる。即ち、本物品の内部構造は、空洞の後ろ半分が、左右の両方向にそれぞれ湾曲面が形成されていると共に、下方向にも湾曲面が形成されており、前面に設置されるファンで吸引されたシーリングファンからの温風や冷風が前記湾曲面に誘導されて壁面にも気流(図中の矢印参照)が発生し、ガラス面に気流が当たり、結露を防止し、下向きの気流がエアーカーテンとなり、外気の影響を低減する(ファンを取付けた状態の参考底面図、同参考左側面図参照)。また、本物品は、上部のベース板と本体が分割可能に合体されており、天井にベース板を取付けた後、ファンを前面に設置した本体を、ベース板にスライド移動させて完成する設置作業を簡単に行える(ベース板を取外した状態の参考右側面図、同参考背面図、同参考平面図参照)。
意匠の説明
意匠ウォッチbot のツイートを見る
この意匠をJ-PlatPat(特許庁公式サイト)で参照する
関連意匠
株式会社イシカワ
ファン取付具
6日前
GD Midea Environment Appliances MFG Co., Ltd.
Fan
4か月前
アイリスオーヤマ株式会社
扇風機
8か月前
深セン首明科技有限公司
加湿器
7か月前
深せん市舞翔電子有限公司
扇風機
2か月前
深セン宝霧科技有限公司
加湿器
7か月前
リスカイ株式会社
扇風機
2か月前
リスカイ株式会社
扇風機
2か月前
日翔株式会社
カイロ
7か月前
三菱電機株式会社
暖房機
2か月前
広東美的環境電器制造有限公司
加熱器
8か月前
個人
ファン
8か月前
アイリスオーヤマ株式会社
扇風機
8か月前
アイリスオーヤマ株式会社
扇風機
8か月前
Shenzhen Senhe Plastic Mould Co., Ltd.
Fan
2か月前
アイリスオーヤマ株式会社
扇風機
8か月前
深セン宝霧科技有限公司
加湿器
7か月前
アイリスオーヤマ株式会社
扇風機
8か月前
アイリスオーヤマ株式会社
扇風機
8か月前
深セン宝霧科技有限公司
加湿器
8か月前
艾美特電器(深せん)有限公司
扇風機
8か月前
台湾奥利安産業股フン有限公司
除湿機
8か月前
深せん市さん活科技有限公司
扇風機
8か月前
BRUNO株式会社
加湿器
8か月前
東洋紡エムシー株式会社
送風機
9か月前
個人
温風機
9か月前
株式会社山善
暖房機
9か月前
株式会社山善
暖房機
9か月前
小林製薬株式会社
カイロ
1か月前
佛山市土撥鼠智能科技有限公司
扇風機
2か月前
GD Midea Environment Appliances MFG Co., Ltd.
Fan
2か月前
広東美的環境電器制造有限公司
ファン
1か月前
広東松下環境系統有限公司
加湿器
6か月前
個人
扇風機
5か月前
寧波九きん智能科技有限公司
足温器
5か月前
シロカ株式会社
加湿器
5か月前
続きを見る
他の意匠を見る