TOP
|
特許
|
意匠
|
商標
意匠ウォッチ
Twitter
他の意匠を見る
発行日
2025-10-24
公報種別
意匠公報(S)
登録番号
1811441
登録日
2025-10-16
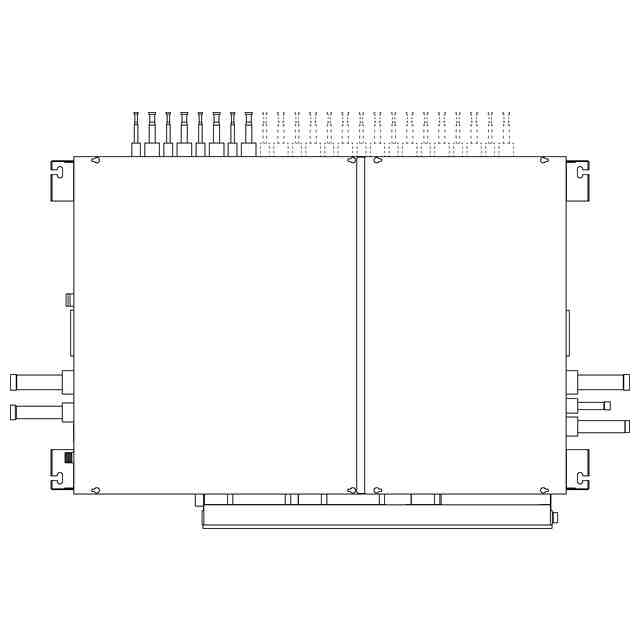
意匠に係る物品
エアーコンディショナー用分流コントローラー
意匠分類
K6
-590(化学機械器具)
出願番号
2025004221
出願日
2025-03-04
意匠権者
三菱電機株式会社
,
MITSUBISHI ELECTRIC CORPORATION
代理人
個人
,
個人
,
個人
意匠に係る物品の説明
本物品はエアーコンディショナー室内機と室外機とを接続する冷媒配管の中間に接続され、冷媒を分流する機能を有する。また、室内機で冷媒が漏えいした際に当該漏えいを遮断する弁を内蔵し、冷媒漏えいを遮断する機能を有する。
意匠の説明
部分意匠として意匠登録を受けようとする部分を実線で、それ以外の部分を破線で表している。
意匠ウォッチbot のツイートを見る
この意匠をJ-PlatPat(特許庁公式サイト)で参照する
関連意匠
三菱電機株式会社
5か月前
三菱電機株式会社
7か月前
三菱電機株式会社
5か月前
三菱電機株式会社
3か月前
三菱電機株式会社
9か月前
三菱電機株式会社
8か月前
三菱電機株式会社
8か月前
三菱電機株式会社
8か月前
三菱電機株式会社
8か月前
三菱電機株式会社
8か月前
三菱電機株式会社
7か月前
三菱電機株式会社
6か月前
三菱電機株式会社
9か月前
三菱電機株式会社
6か月前
三菱電機株式会社
6か月前
三菱電機株式会社
6か月前
三菱電機株式会社
5か月前
三菱電機株式会社
5か月前
三菱電機株式会社
5か月前
三菱電機株式会社
5か月前
三菱電機株式会社
5か月前
三菱電機株式会社
5か月前
三菱電機株式会社
3か月前
三菱電機株式会社
3か月前
三菱電機株式会社
9か月前
三菱電機株式会社
29日前
三菱電機株式会社
2か月前
三菱電機株式会社
9か月前
三菱電機株式会社
29日前
三菱電機株式会社
翻訳修正用画像
3か月前
三菱電機株式会社
情報表示用画像
11か月前
三菱電機株式会社
情報表示用画像
11か月前
三菱電機株式会社
情報表示用画像
11か月前
三菱電機株式会社
情報表示用画像
8か月前
三菱電機株式会社
情報表示用画像
5か月前
三菱電機株式会社
情報表示用画像
5か月前
続きを見る
他の意匠を見る