TOP特許意匠商標
意匠ウォッチ Twitter
発行日2025-10-22
公報種別意匠公報(S)
登録番号1811153
登録日2025-10-14
意匠に係る物品Fitness apparatus
意匠分類E3-0100(運動競技用品)
出願番号2024502755,29/928894,29/928897
出願日
意匠権者AMP FIT ISRAEL LTD
代理人
意匠に係る物品の説明
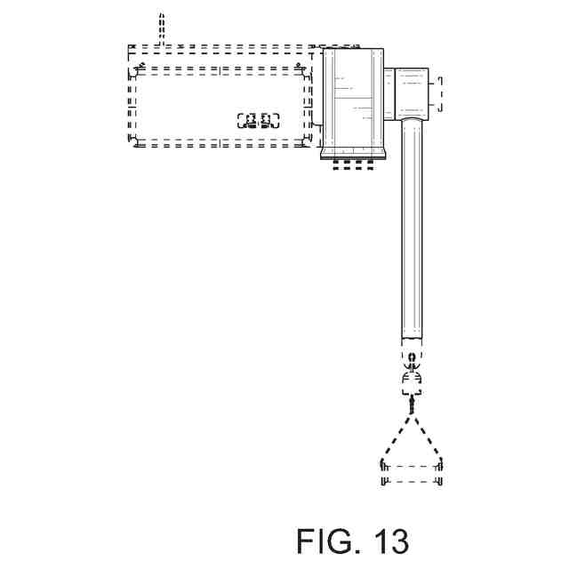
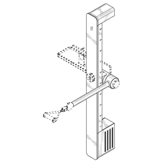
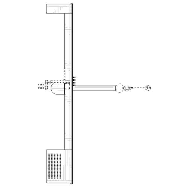
意匠の説明Fig. 1 , Fig. 8, Fig. 15 are top front right perspective views of a fitness apparatus; Fig. 2, Fig. 9, Fig. 16 are front elevational views; Fig. 3, Fig 10, Fig. 17 are back elevational views; Fig. 4, Fig. 11, Fig. 18 are left side elevational views; Fig. 5, Fig. 12, Fig. 19 are right side elevational views; Fig. 6, Fig. 13, Fig. 20 are top plan views; Fig. 7, Fig. 14, Fig. 21 are bottom plan views; reproductions 1-7 show the claimed design with an element in a high position, while reproductions 8-14, and 15-21 show the claimed design with an element in a middle position and in a low position, respectively; the broken lines shown in the drawings represent portions of the fitness apparatus that form no part of the claimed design. 1.1)Perspective; 1.2)Front; 1.3)Back; 1.4)Left; 1.5)Right; 1.6)Top; 1.7)Bottom; 1.8)Perspective; 1.9)Front; 1.10)Back; 1.11)Left; 1.12)Right; 1.13)Top; 1.14)Bottom; 1.15)Perspective; 1.16)Front; 1.17)Back; 1.18)Left; 1.19)Right; 1.20)Top; 1.21)Bottom
この意匠をJ-PlatPat(特許庁公式サイト)で参照する

関連意匠

AMP FIT ISRAEL LTD
Fitness apparatus
4日前
AMP FIT ISRAEL LTD
Fitness apparatus
4日前
個人
手裏剣
3か月前
株式会社キザキ
ポール
6か月前
個人
足ひれ
2か月前
個人
足ひれ
2か月前
株式会社カインズ
ダンベル
6か月前
個人
運動器具
2か月前
個人
応援道具
6か月前
株式会社ヴァルテックス
健康器具
2か月前
ニューテックウェルネス カンパニー,リミテッド
ダンベル
6か月前
パッショネート カンパニー リミテッド
運動器具
3か月前
個人
ハードル
7か月前
株式会社吉増製作所
運動器具
11か月前
武義博達工貿有限公司
バーベル
7か月前
株式会社大文字
応援用具
6か月前
武義博達工貿有限公司
バーベル
7か月前
株式会社スポーツオアシス
身体鍛錬具
7か月前
株式会社リモハブ
身体鍛錬機
7か月前
アクシュネット カンパニー
旅行バッグ
2か月前
レ グエンカイン チン
運動用器具
4か月前
株式会社フィールドフォース
投球練習機
6か月前
大進プレス工業有限会社
雪上用そり
1か月前
大進プレス工業有限会社
雪上用そり
1か月前
グラビティ アップギア エルエルシー
加重ベスト
3か月前
武義博達工貿有限公司
ケトルベル
7か月前
株式会社YOCABITO
投球練習具
6か月前
株式会社リモハブ
身体鍛錬機
7か月前
個人
水泳用足ひれ
2か月前
シアメン レンヘ スポーツ イクイップメント カンパニー リミテッド
トレッドミル
6か月前
株式会社YOCABITO
身体鍛錬器具
2か月前
株式会社オールマーケットジャパン
身体鍛錬器具
8か月前
株式会社オールマーケットジャパン
身体鍛錬器具
8か月前
アディダス アーゲー
運動用ボール
6か月前
カスタム ゴルフ インターナショナル ピーティーワイ リミテッド
ゴルフティー
2か月前
深セン市神来一筆科技有限公司
身体鍛練器具
7か月前
続きを見る