TOP
|
特許
|
意匠
|
商標
意匠ウォッチ
Twitter
他の意匠を見る
発行日
2025-10-22
公報種別
意匠公報(S)
登録番号
1811039
登録日
2025-10-14
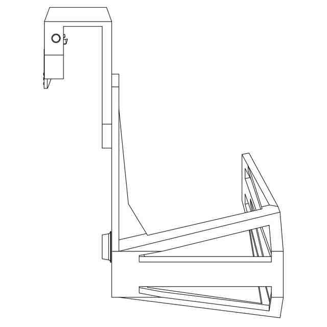
意匠に係る物品
引き出し用構成部材
意匠分類
D9
-14(住宅設備用品汎用部品及び付属品)
出願番号
2024027462,015064126
出願日
2024-12-13
意匠権者
ユリウス ブルーム ゲー・エム・ベー・ハー
,
Julius Blum GmbH
代理人
アインゼル・フェリックス=ラインハルト
,
個人
,
個人
,
個人
,
個人
,
個人
意匠に係る物品の説明
本物品は、引き出し用構成部材であって、たとえば引き出しの奥に掛けて大皿を保持するために用いられるフィッシュプレートホルダーまたはプレートホルダーあり、主に同じタイプのプレートホルダーと組み合わせて使用することができる。
意匠の説明
この意匠をJ-PlatPat(特許庁公式サイト)で参照する
関連意匠
ユリウス ブルーム ゲー・エム・ベー・ハー
家具用引き出し
1か月前
ユリウス ブルーム ゲー・エム・ベー・ハー
家具用引き出し
1か月前
ユリウス ブルーム ゲー・エム・ベー・ハー
家具用引き出し
3か月前
ユリウス ブルーム ゲー・エム・ベー・ハー
引き出し用部材
3か月前
ユリウス ブルーム ゲー・エム・ベー・ハー
引き出し用部材
3か月前
ユリウス ブルーム ゲー・エム・ベー・ハー
引き出し用部材
3か月前
ユリウス ブルーム ゲー・エム・ベー・ハー
家具用引き出し
1か月前
ユリウス ブルーム ゲー・エム・ベー・ハー
家具用引き出し
3か月前
ユリウス ブルーム ゲー・エム・ベー・ハー
家具用引き出し
3か月前
ユリウス ブルーム ゲー・エム・ベー・ハー
引き出し用部材
3か月前
ユリウス ブルーム ゲー・エム・ベー・ハー
家具用引き出し
3か月前
ユリウス ブルーム ゲー・エム・ベー・ハー
家具用引き出し
1か月前
ユリウス ブルーム ゲー・エム・ベー・ハー
家具用引き出し
1か月前
ユリウス ブルーム ゲー・エム・ベー・ハー
家具用引き出し
1か月前
ユリウス ブルーム ゲー・エム・ベー・ハー
引き出し用構成部材
1か月前
ユリウス ブルーム ゲー・エム・ベー・ハー
引き出し用構成部材
1か月前
ユリウス ブルーム ゲー・エム・ベー・ハー
引き出し用構成部材
1か月前
ユリウス ブルーム ゲー・エム・ベー・ハー
引き出し用構成部材
1か月前
ユリウス ブルーム ゲー・エム・ベー・ハー
引き出し用構成部材
1か月前
ユリウス ブルーム ゲー・エム・ベー・ハー
引き出し用構成部材
1か月前
ユリウス ブルーム ゲー・エム・ベー・ハー
家具用引き出し用前板
4か月前
ユリウス ブルーム ゲー・エム・ベー・ハー
家具用引き出し用前板
4か月前
ユリウス ブルーム ゲー・エム・ベー・ハー
家具用引き出し用前板
4か月前
ユリウス ブルーム ゲー・エム・ベー・ハー
家具用引き出し用前板
4か月前
ユリウス ブルーム ゲー・エム・ベー・ハー
家具用引き出し用部品
1か月前
ユリウス ブルーム ゲー・エム・ベー・ハー
家具用引き出し用部品
1か月前
ユリウス ブルーム ゲー・エム・ベー・ハー
プレートホルダー型の引き出し用部材
3か月前
ユリウス ブルーム ゲー・エム・ベー・ハー
プレートホルダー型の引き出し用部材
3か月前
ユリウス ブルーム ゲー・エム・ベー・ハー
プレートホルダー型の引き出し用部材
3か月前
ユリウス ブルーム ゲー・エム・ベー・ハー
プレートホルダー型の引き出し用部材
3か月前
ユリウス ブルーム ゲー・エム・ベー・ハー
プレートホルダー型の引き出し用部材
3か月前
ユリウス ブルーム ゲー・エム・ベー・ハー
プレートホルダー型の引き出し用部材
3か月前
ユリウス ブルーム ゲー・エム・ベー・ハー
家具用部品
4か月前
ユリウス ブルーム ゲー・エム・ベー・ハー
家具用部品
4か月前
ユリウス ブルーム ゲー・エム・ベー・ハー
家具用部品
4か月前
ユリウス ブルーム ゲー・エム・ベー・ハー
家具用部品
4か月前
続きを見る
他の意匠を見る