TOP
|
特許
|
意匠
|
商標
意匠ウォッチ
Twitter
他の意匠を見る
発行日
2025-10-22
公報種別
意匠公報(S)
登録番号
1811028
登録日
2025-10-14
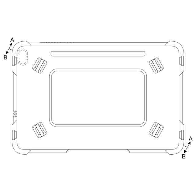
意匠に係る物品
携帯情報端末機用ケース
意匠分類
H7
-792(電子情報入出力機器)
出願番号
2024022755
出願日
2024-10-31
意匠権者
京セラ株式会社
,
KYOCERA CORPORATION
代理人
弁理士法人酒井国際特許事務所
意匠に係る物品の説明
本物品は、タブレットなどの携帯情報端末機に装着して使用する携帯情報端末機用ケースである。本物品の正面には、別途ハンドストラップを装着するための各係止部と、当該ハンドストラップに挿入したユーザーの掌を固定するための凹部がある。また本物品の四隅には別途ショルダーベルトを装着するための各ベルトループがある。当該ハンドストラップを装着した状態の例を「使用状態を示す参考図1」に表わす。また、当該ショルダーベルトを装着した状態の例を「使用状態を示す参考図2」に表わす。
意匠の説明
実線で表わされた部分が、部分意匠として意匠登録を受けようとする部分である。
この意匠をJ-PlatPat(特許庁公式サイト)で参照する
関連意匠
京セラ株式会社
8か月前
京セラ株式会社
8か月前
京セラ株式会社
8か月前
京セラ株式会社
9か月前
京セラ株式会社
9か月前
京セラ株式会社
イヤホン
4か月前
京セラ株式会社
切削工具用チップ
6か月前
京セラ株式会社
切削工具用チップ
6か月前
京セラ株式会社
切削工具用チップ
6か月前
京セラ株式会社
電気コネクタ
11か月前
京セラ株式会社
交通情報監視カメラ
2か月前
京セラ株式会社
交通情報監視カメラ
3か月前
京セラ株式会社
ピーラー
17日前
京セラ株式会社
まな板
3か月前
京セラ株式会社
携帯情報端末機
2か月前
京セラ株式会社
充電台
4か月前
京セラ株式会社
充電台
4か月前
京セラ株式会社
作業機械用センサー
1か月前
京セラ株式会社
光コネクタフェルール
29日前
京セラ株式会社
カーポート
4か月前
京セラ株式会社
カーポート
4か月前
京セラ株式会社
カーポート
4か月前
京セラ株式会社
携帯情報端末機用ケース
9日前
京セラ株式会社
フライパン用蓋
4か月前
京セラ株式会社
携帯情報端末機用ケース
6か月前
京セラ株式会社
携帯情報端末機用カバー
6か月前
京セラ株式会社
携帯情報端末機用ケース
5か月前
京セラ株式会社
光コネクタ用レンズプレート
1か月前
京セラ株式会社
リモートコントローラー付きイヤホン
17日前
京セラ株式会社
リモートコントローラー付きイヤホン
17日前
メタ プラットフォームズ テクノロジーズ, リミテッド ライアビリティ カンパニー
眼鏡
4か月前
メタ プラットフォームズ テクノロジーズ, リミテッド ライアビリティ カンパニー
眼鏡
4か月前
デシブルズ エルエルシー
耳栓
3か月前
ボーズ・コーポレーション
取手
7か月前
NECプラットフォームズ株式会社
電話機
1か月前
日本航空電子工業株式会社
教示器
6か月前
続きを見る
他の意匠を見る