TOP
|
特許
|
意匠
|
商標
意匠ウォッチ
Twitter
他の意匠を見る
発行日
2025-10-21
公報種別
意匠公報(S)
登録番号
1810971
登録日
2025-10-10
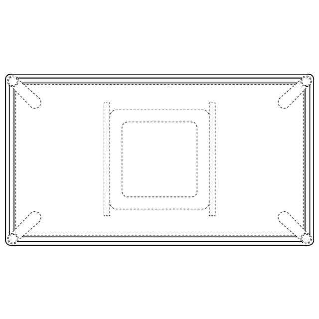
意匠に係る物品
こたつ
意匠分類
D4
-120(暖冷房機又は空調換気機器)
出願番号
2025005914
出願日
2025-03-26
意匠権者
ユアサプライムス株式会社
代理人
個人
,
個人
,
個人
意匠に係る物品の説明
本物品は、こたつである。
意匠の説明
実線で表した部分が、部分意匠として意匠登録を受けようとする部分である。
この意匠をJ-PlatPat(特許庁公式サイト)で参照する
関連意匠
ユアサプライムス株式会社
こたつ
3日前
ユアサプライムス株式会社
こたつ
3日前
シェンチャン・ソン
扇風機
11か月前
株式会社山善
暖房機
8か月前
リスカイ株式会社
扇風機
1か月前
リスカイ株式会社
扇風機
1か月前
佛山市小熊健康電器有限公司
加湿器
3か月前
Shenzhen Hesung Innovation Technology Co., LTD
Fan
11か月前
深せん市さん活科技有限公司
扇風機
8か月前
三菱電機株式会社
暖房機
1か月前
台湾奥利安産業股フン有限公司
除湿機
8か月前
広東又一電器科技有限公司
扇風機
11か月前
Shenzhen Senhe Plastic Mould Co., Ltd.
Fan
1か月前
バルミューダ株式会社
扇風機
11か月前
艾美特電器(深せん)有限公司
扇風機
8か月前
深せん市舞翔電子有限公司
扇風機
2か月前
佛山市強弓創新科技有限公司
扇風機
12か月前
株式会社コロナ
加湿器
3か月前
株式会社K.K物産
扇風機
1か月前
シャープ株式会社
除湿機
6か月前
シャープ株式会社
除湿機
6か月前
アイリスオーヤマ株式会社
加湿器
7か月前
三菱電機株式会社
換気扇
2か月前
株式会社山善
暖房機
8か月前
協立エアテック株式会社
制気口
10か月前
有限会社アイール工業
カイロ
3か月前
BRUNO株式会社
加湿器
8か月前
賈維斯知能(深セン)有限公司
扇風機
11か月前
深セン宝霧科技有限公司
加湿器
8か月前
東莞市徳前電子科技有限公司
ファン
6か月前
個人
温風機
8か月前
深せん市鋭拓跨境電子商務有限公司
ファン
11か月前
株式会社山善
暖房機
5か月前
深セン市同創創精密電子有限公司
扇風機
2か月前
深セン市同創創精密電子有限公司
扇風機
2か月前
株式会社サンライズエンジニアリング
トング
2か月前
続きを見る
他の意匠を見る