TOP
|
特許
|
意匠
|
商標
意匠ウォッチ
Twitter
他の意匠を見る
発行日
2025-10-15
公報種別
意匠公報(S)
登録番号
1810663
登録日
2025-10-06
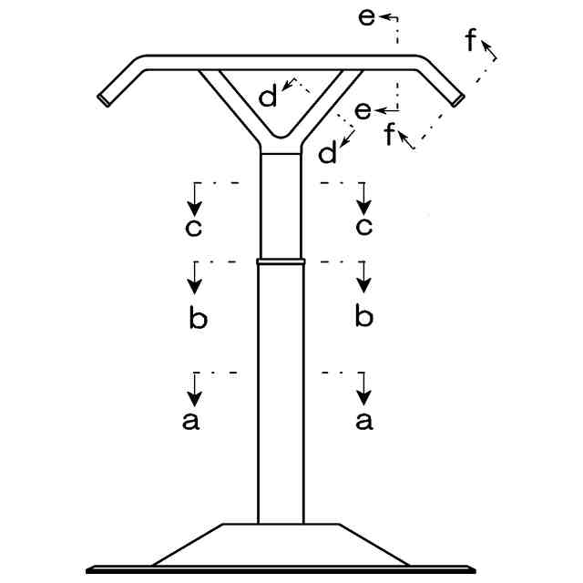
意匠に係る物品
据置型手すり
意匠分類
L3
-5300(組立て家屋、屋外装備品等)
出願番号
2025008901
出願日
2025-05-07
意匠権者
株式会社タマツ
代理人
個人
意匠に係る物品の説明
本物品は、屋内外の床面に設置される手すりであり、高齢者や身体障害者等の歩行を補助するために使用することができる。
意匠の説明
左側面図は右側面図と対称にあらわれるため省略する。
この意匠をJ-PlatPat(特許庁公式サイト)で参照する
関連意匠
株式会社タマツ
据置型手すり
14日前
株式会社大林組
柵
2か月前
積水樹脂株式会社
柵
7日前
株式会社LIXIL
門
1か月前
株式会社LIXIL
門
1か月前
株式会社LIXIL
門
1か月前
株式会社LIXIL
門
1か月前
YKK AP株式会社
門扉
27日前
株式会社長谷工コーポレーション
門柱
7か月前
野村不動産株式会社
住宅
10か月前
個人
住宅
8か月前
旭化成ホームズ株式会社
住宅
10か月前
三協立山株式会社
門柱
1か月前
旭化成ホームズ株式会社
住宅
10か月前
旭化成ホームズ株式会社
住宅
10か月前
旭化成ホームズ株式会社
住宅
10か月前
住友林業緑化株式会社
門柱
7か月前
旭化成ホームズ株式会社
住宅
10か月前
旭化成ホームズ株式会社
住宅
10か月前
株式会社長谷工コーポレーション
門柱
7か月前
積水ハウス株式会社
住宅
7か月前
YKK AP株式会社
門扉
2か月前
石友ホーム株式会社
住宅
26日前
株式会社アールシーコア
住宅
11か月前
三協立山株式会社
門扉
7か月前
旭化成ホームズ株式会社
住宅
10か月前
積水ハウス株式会社
住宅
7か月前
YKK AP株式会社
門塀
2か月前
住友林業株式会社
住宅
26日前
YKK AP株式会社
門塀
2か月前
YKK AP株式会社
門扉
2か月前
YKK AP株式会社
門塀
2か月前
積水ハウス株式会社
住宅
7か月前
積水ハウス株式会社
住宅
7か月前
積水ハウス株式会社
住宅
26日前
YKK AP株式会社
門扉
27日前
続きを見る
他の意匠を見る