TOP
|
特許
|
意匠
|
商標
意匠ウォッチ
Twitter
他の意匠を見る
発行日
2025-10-14
公報種別
意匠公報(S)
登録番号
1810572
登録日
2025-10-03
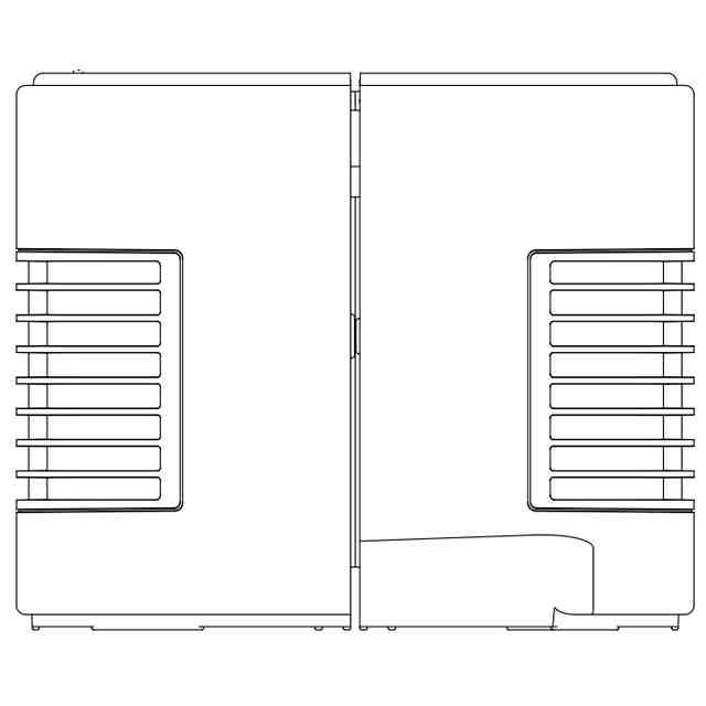
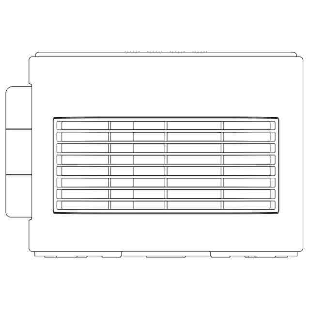
意匠に係る物品
セラミックヒーター
意匠分類
D4
-3110(暖冷房機又は空調換気機器)
出願番号
2025009495
出願日
2025-05-14
意匠権者
アイリスオーヤマ株式会社
代理人
意匠に係る物品の説明
本物品は、開状態を示す下方斜視図で示すように2つの筐体を回動可能に接続しているセラミックヒーターである。
意匠の説明
実線で表された部分が、部分意匠として意匠登録を受けようとする部分である。
この意匠をJ-PlatPat(特許庁公式サイト)で参照する
関連意匠
アイリスオーヤマ株式会社
2か月前
アイリスオーヤマ株式会社
11か月前
アイリスオーヤマ株式会社
2か月前
アイリスオーヤマ株式会社
2か月前
アイリスオーヤマ株式会社
2か月前
アイリスオーヤマ株式会社
2か月前
アイリスオーヤマ株式会社
8か月前
アイリスオーヤマ株式会社
2か月前
アイリスオーヤマ株式会社
2日前
アイリスオーヤマ株式会社
11か月前
アイリスオーヤマ株式会社
14か月前
アイリスオーヤマ株式会社
6日前
アイリスオーヤマ株式会社
2日前
アイリスオーヤマ株式会社
2日前
アイリスオーヤマ株式会社
14か月前
アイリスオーヤマ株式会社
6日前
アイリスオーヤマ株式会社
6日前
アイリスオーヤマ株式会社
6日前
アイリスオーヤマ株式会社
14か月前
アイリスオーヤマ株式会社
椅子
11か月前
アイリスオーヤマ株式会社
椅子
11か月前
アイリスオーヤマ株式会社
投光器
8日前
アイリスオーヤマ株式会社
かばん
8か月前
アイリスオーヤマ株式会社
かばん
8か月前
アイリスオーヤマ株式会社
洗浄機
6か月前
アイリスオーヤマ株式会社
洗濯機
4か月前
アイリスオーヤマ株式会社
マスク本体
3か月前
アイリスオーヤマ株式会社
収納棚
2か月前
アイリスオーヤマ株式会社
ラベル
今日
アイリスオーヤマ株式会社
収納棚
2か月前
アイリスオーヤマ株式会社
目元用温熱マスク
7か月前
アイリスオーヤマ株式会社
収納棚
2か月前
アイリスオーヤマ株式会社
目元用温熱マスク
11か月前
アイリスオーヤマ株式会社
収納棚
10か月前
アイリスオーヤマ株式会社
収納棚
10か月前
アイリスオーヤマ株式会社
収納棚
10か月前
続きを見る
他の意匠を見る