TOP
|
特許
|
意匠
|
商標
意匠ウォッチ
Twitter
他の意匠を見る
発行日
2025-10-09
公報種別
意匠公報(S)
登録番号
1810383
登録日
2025-10-01
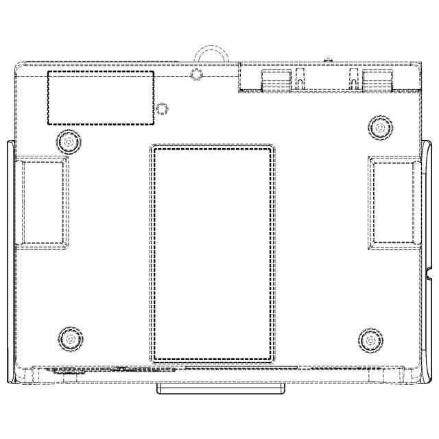
意匠に係る物品
腹膜透析機用トレイ
意匠分類
J7
-46(医療機械器具)
出願番号
2025009214
出願日
2024-09-19
意匠権者
バクスター・インターナショナル・インコーポレイテッド
,
BAXTER INTERNATIONAL INCORP0RATED
,
ヴァンティブ ヘルス ゲーエムベーハー
,
Vantive Health GmbH
代理人
個人
,
個人
,
個人
,
個人
,
個人
意匠に係る物品の説明
意匠の説明
実線で表した部分が、部分意匠として意匠登録を受けようとする部分である。各図中に表された細線はいずれも立体表面の形状を表す線であり、意匠の模様を構成するものではない。
この意匠をJ-PlatPat(特許庁公式サイト)で参照する
関連意匠
バクスター・インターナショナル・インコーポレイテッド
腹膜透析機用トレイ
21日前
バクスター・インターナショナル・インコーポレイテッド
腹膜透析機用トレイ
1か月前
バクスター・インターナショナル・インコーポレイテッド
スタンド型医療用調剤システム
7か月前
バクスター・インターナショナル・インコーポレイテッド
スタンド型医療用調剤システム
7か月前
バクスター・インターナショナル・インコーポレイテッド
スタンド型医療用調剤システム
7か月前
花王株式会社
首枕
9か月前
個人
薬箱
3か月前
合同会社サポートサービスオレンジ
担架
5か月前
花王株式会社
首枕
9か月前
花王株式会社
首枕
9か月前
花王株式会社
首枕
9か月前
雪印ビーンスターク株式会社
錠剤
3か月前
花王株式会社
首枕
9か月前
花王株式会社
首枕
10か月前
花王株式会社
首枕
10か月前
花王株式会社
首枕
10か月前
花王株式会社
首枕
9か月前
シーク・ウィメンズ・ヘルス・インコーポレイテッド
検鏡
9か月前
ブライデア アイピー ビー.ブイ.
膣鏡
19日前
シーク・ウィメンズ・ヘルス・インコーポレイテッド
検鏡
9か月前
シーク・ウィメンズ・ヘルス・インコーポレイテッド
検鏡
9か月前
シーク・ウィメンズ・ヘルス・インコーポレイテッド
検鏡
9か月前
雪印ビーンスターク株式会社
錠剤
3か月前
株式会社オーディオテクニカ
集音器
3か月前
株式会社エー・アンド・デイ
血圧計
11か月前
株式会社オーディオテクニカ
集音器
3か月前
株式会社サーキュラス
注射器
11か月前
ハロザイム インコーポレイテッド
注入器
11か月前
千寿製薬株式会社
視力表
5か月前
ハロザイム インコーポレイテッド
注入器
9か月前
千寿製薬株式会社
視力表
4か月前
株式会社永光
集音器
2か月前
株式会社永光
集音器
2か月前
パラマウントベッド株式会社
カート
12か月前
ティ・アール・エイ株式会社
集音器
6か月前
ハロザイム インコーポレイテッド
注入器
6か月前
続きを見る
他の意匠を見る