TOP
|
特許
|
意匠
|
商標
意匠ウォッチ
Twitter
他の意匠を見る
発行日
2025-10-08
公報種別
意匠公報(S)
登録番号
1810295
登録日
2025-09-30
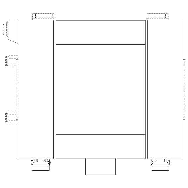
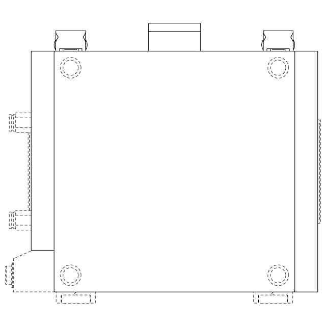
意匠に係る物品
恒温器
意匠分類
K6
-70(化学機械器具)
出願番号
2025009165
出願日
2025-05-09
意匠権者
エスペック株式会社
,
ESPEC CORP.
代理人
弁理士法人三協国際特許事務所
意匠に係る物品の説明
意匠の説明
実線で表した部分が部分意匠として意匠登録を受けようとする部分である。透明部を示す参考図におけるハッチング部は透明である。
意匠ウォッチbot のツイートを見る
この意匠をJ-PlatPat(特許庁公式サイト)で参照する
関連意匠
エスペック株式会社
恒温器
1か月前
エスペック株式会社
恒温器
1か月前
エスペック株式会社
恒温器用制御器
1か月前
エスペック株式会社
恒温器用制御器
1か月前
住友ファーマ株式会社
皿
4か月前
住友ファーマ株式会社
皿
4か月前
個人
濾布
1か月前
個人
濾布
1か月前
コーウェイ株式会社
浄水器
11か月前
コーウェイ株式会社
浄水器
4か月前
住鉱潤滑剤株式会社
撹拌翼
8か月前
エスペック株式会社
恒温器
1か月前
エスペック株式会社
恒温器
1か月前
住鉱潤滑剤株式会社
撹拌翼
8か月前
深せん市ふい心科技有限公司
浄水器
4か月前
株式会社明電舎
ろ過器
2か月前
フルタ電機株式会社
消泡機
8か月前
コーウェイ株式会社
浄水器
4か月前
キュア ホールディングス プロプライエタリー リミテッド
浄水器
11か月前
ドナルドソン カンパニー,インコーポレイティド
加湿器
1か月前
ウォンボン カンパニー リミテッド
浄水器
1か月前
ウォンボン カンパニー リミテッド
浄水器
1か月前
株式会社LIXIL
冷水器
12か月前
株式会社JOIN PLANNING
噴霧器
6か月前
ニイヌマ株式会社
噴霧器
6か月前
株式会社中部コーポレーション
撹拌翼
2か月前
株式会社ナリカ
撹拌器
5か月前
リジェネックス,エルエルシー
分離装置
1か月前
三菱ケミカル株式会社
中空糸膜
6か月前
三菱ケミカル株式会社
中空糸膜
6か月前
ロート製薬株式会社
培養装置
8か月前
ドナルドソン カンパニー,インコーポレイティド
水分離器
1か月前
三菱ケミカル株式会社
中空糸膜
6か月前
ロート製薬株式会社
培養装置
8か月前
三菱ケミカル株式会社
中空糸膜
11か月前
リジェネックス,エルエルシー
分離装置
1か月前
続きを見る
他の意匠を見る