TOP
|
特許
|
意匠
|
商標
意匠ウォッチ
Twitter
他の意匠を見る
発行日
2025-10-07
公報種別
意匠公報(S)
登録番号
1810161
登録日
2025-09-29
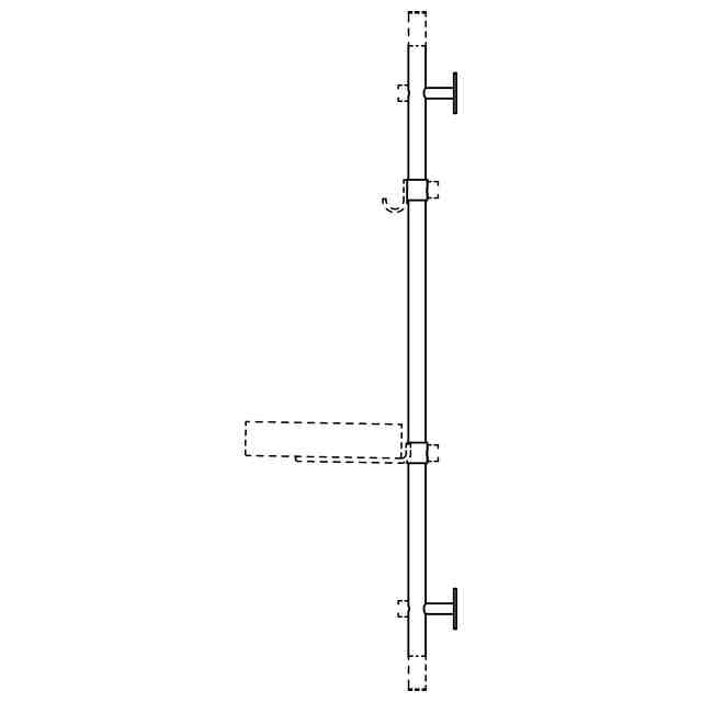
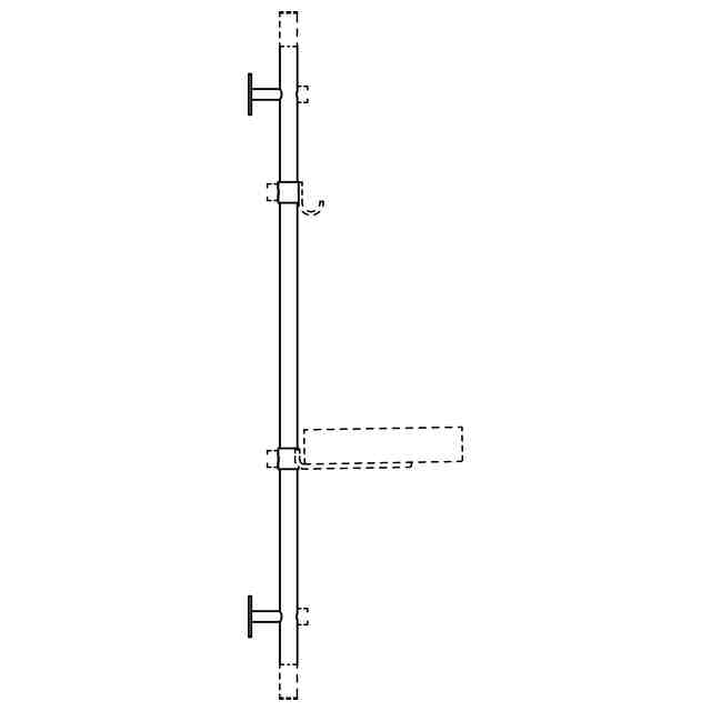
意匠に係る物品
壁付け用収納具
意匠分類
D6
-53(室内整理用家具・用具)
出願番号
2025007236
出願日
2025-04-09
意匠権者
平安伸銅工業株式会社
代理人
個人
,
個人
,
個人
,
個人
意匠に係る物品の説明
本物品は、壁に取り付けて使用する収納具である。
意匠の説明
実線で表した部分が意匠登録を受けようとする部分である。一点鎖線は意匠登録を受けようとする部分とその他の部分との境界のみを示す線である。
この意匠をJ-PlatPat(特許庁公式サイト)で参照する
関連意匠
平安伸銅工業株式会社
5か月前
平安伸銅工業株式会社
壁付け用収納具
12日前
平安伸銅工業株式会社
棚柱用伸縮棚
3か月前
平安伸銅工業株式会社
柱材支持具
3か月前
平安伸銅工業株式会社
柱材支持具
3か月前
平安伸銅工業株式会社
柱材支持具
3か月前
平安伸銅工業株式会社
柱材支持具
4か月前
平安伸銅工業株式会社
柱材支持具
4か月前
平安伸銅工業株式会社
柱材支持具
4か月前
株式会社カインズ
棚
4か月前
株式会社イトーキ
棚
6か月前
株式会社カインズ
棚
10か月前
株式会社カインズ
棚
10か月前
株式会社イトーキ
棚
9か月前
株式会社イトーキ
棚
9か月前
株式会社カインズ
棚
4か月前
株式会社カインズ
棚
7か月前
株式会社イトーキ
棚
6か月前
株式会社カインズ
棚
10か月前
株式会社イクロス
棚
5か月前
株式会社カインズ
棚
5か月前
株式会社カインズ
棚
5か月前
株式会社カインズ
棚
4か月前
株式会社カインズ
棚
4か月前
株式会社カインズ
棚
4か月前
株式会社カインズ
棚
10か月前
アンブラ エルエルシー
棚
1か月前
株式会社カインズ
棚
10か月前
株式会社カインズ
棚
10か月前
イデア 株式会社
棚
7か月前
株式会社エトウ
本棚
5か月前
個人
本棚
8か月前
景寧美格科技服務有限公司
戸棚
9か月前
筑波国際交易有限会社
花台
3か月前
株式会社エトウ
本棚
5か月前
景寧美格科技服務有限公司
戸棚
11か月前
続きを見る
他の意匠を見る