TOP
|
特許
|
意匠
|
商標
意匠ウォッチ
Twitter
他の意匠を見る
発行日
2025-10-03
公報種別
意匠公報(S)
登録番号
1809855
登録日
2025-09-25
意匠に係る物品
ゲーム機
意匠分類
E2
-300(遊戯娯楽用品)
出願番号
2025001911
出願日
2025-01-31
意匠権者
株式会社セガ
,
SEGA CORPORATION
代理人
意匠に係る物品の説明
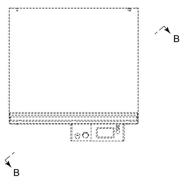
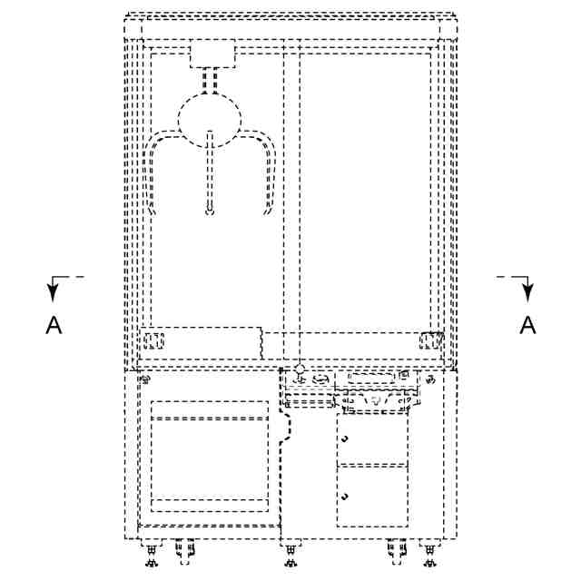
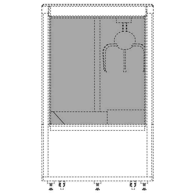
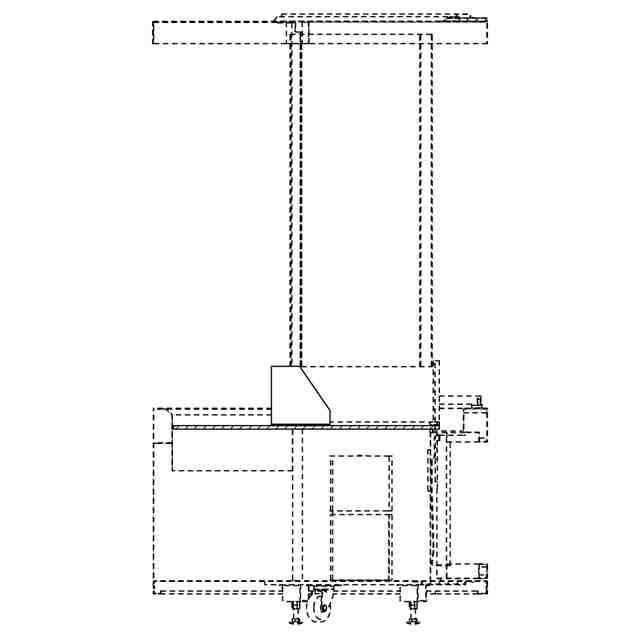
本物品は、本体上部に透明な四面を持つクレーンゲーム機である。意匠登録を受けようとする部分は、ゲーム機内のフィールド面及びフィールド隅に配置されるバンクである。バンクはゲーム中に移動した景品をクレーンアームが届く位置にとどめるために用いられる。
意匠の説明
実線で表された部分が意匠登録を受けようとする部分である。「A-A線断面図」、「B-B線断面図」、「意匠登録を受けようとする部分近傍の拡大斜視図1」、「意匠登録を受けようとする部分近傍の拡大斜視図2」を含め、意匠登録を受けようとする部分を特定している。「透明部分を表した参考斜視図」、「透明部分を表した参考背面図」において、灰色で示す部分は透明である。
意匠ウォッチbot のツイートを見る
この意匠をJ-PlatPat(特許庁公式サイト)で参照する
関連意匠
株式会社セガ
画像編集用画像
9か月前
株式会社セガ
画像編集用画像
9か月前
株式会社セガ
画像編集用画像
9か月前
株式会社セガ
画像編集用画像
9か月前
株式会社セガ
画像編集用画像
9か月前
株式会社セガ
画像編集用画像
5か月前
株式会社セガ
ゲーム機
15日前
株式会社セガ
ゲーム機
2か月前
株式会社セガ
ゲーム機
15日前
株式会社セガ
ゲーム機
15日前
株式会社セガ
ゲーム機
15日前
株式会社セガ
ゲーム機
15日前
株式会社セガ
ゲーム機
15日前
株式会社セガ
ゲーム機
15日前
株式会社セガ
ゲーム機
15日前
株式会社セガ
ゲーム機
15日前
株式会社セガ
ゲーム機
15日前
株式会社セガ
ゲーム機
15日前
株式会社セガ
ゲーム機
15日前
株式会社セガ
ゲーム機
15日前
株式会社セガ
ゲーム機
2か月前
株式会社セガ
ゲーム機
15日前
株式会社セガ
ゲーム機
15日前
株式会社セガフェイブ
携帯用ゲーム機
8か月前
株式会社セガ
クッション
8か月前
株式会社セガ
クッション
10か月前
株式会社セガ
クッション
10か月前
株式会社セガ
景品取得ゲーム機用把持具
6か月前
株式会社セガ
景品取得ゲーム機用把持具
6か月前
株式会社セガ
景品取得ゲーム機用景品設置台
6か月前
株式会社セガ
シール自動販売機
11か月前
株式会社セガ
シール自動販売機
11か月前
株式会社セガ
シール自動販売機
11か月前
株式会社セガ
シール自動販売機
11か月前
株式会社セガ
シール自動販売機
11か月前
株式会社セガ
シール自動販売機
11か月前
続きを見る
他の意匠を見る