TOP
|
特許
|
意匠
|
商標
意匠ウォッチ
Twitter
他の意匠を見る
発行日
2025-10-02
公報種別
意匠公報(S)
登録番号
1809813
登録日
2025-09-24
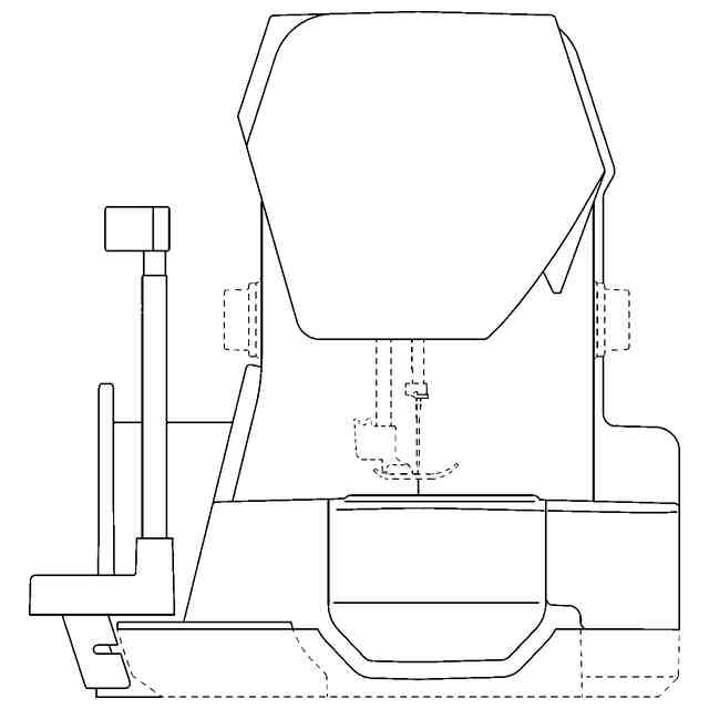
意匠に係る物品
ミシン
意匠分類
K5
-2300(繊維機械及びミシン)
出願番号
2025008328
出願日
2025-04-25
意匠権者
株式会社ジャノメ
代理人
めぶき弁理士法人
,
個人
,
個人
意匠に係る物品の説明
この意匠に係る物品は、家庭用のミシンである。本物品は単独で取引の対象となる。
意匠の説明
正面図、背面図、平面図、底面図、右側面図、左側面図、参考斜視図1及び参考斜視図2において、実線で示された部分は部分意匠として登録を受けようとする部分である。
この意匠をJ-PlatPat(特許庁公式サイト)で参照する
関連意匠
株式会社ジャノメ
ミシン
1か月前
株式会社ジャノメ
ミシン
6か月前
株式会社ジャノメ
ミシン
7か月前
株式会社ジャノメ
ミシン
7か月前
チューンズ デザイン エルエルシー
織機
1か月前
チューンズ デザイン エルエルシー
織機
6か月前
チューンズ デザイン エルエルシー
織機
1か月前
チューンズ デザイン エルエルシー
織機
6か月前
チューンズ デザイン エルエルシー
織機
6か月前
チューンズ デザイン エルエルシー
織機
6か月前
チューンズ デザイン エルエルシー
織機
6か月前
JUKI株式会社
ミシン
11か月前
JUKI株式会社
ミシン
8か月前
株式会社ジャノメ
ミシン
7か月前
株式会社ジャノメ
ミシン
7か月前
JUKI株式会社
ミシン
7か月前
JUKI株式会社
ミシン
7か月前
株式会社ジャノメ
ミシン
6か月前
株式会社TISM
刺繍機
6か月前
株式会社TISM
刺繍機
6か月前
株式会社TISM
刺繍機
6か月前
株式会社ジャノメ
ミシン
1か月前
星鋭縫じん機股ふん有限公司
ミシン
6か月前
星鋭縫じん機股ふん有限公司
ミシン
6か月前
ブラザー工業株式会社
刺しゅう機
18日前
ラ・メール株式会社
織機用綜絖
7か月前
JUKI株式会社
ミシン操作盤
7か月前
個人
絨毯製作器具
7か月前
JUKI株式会社
ミシン用制御装置
7か月前
個人
革加工機用調整治具
2か月前
個人
革加工機用調整治具
2か月前
東レ株式会社
織物の目付の調整用針
9か月前
東レ株式会社
織物の目付の調整用針
10か月前
東レ株式会社
織物の目付の調整用針
9か月前
東レ株式会社
織物の目付の調整用針
9か月前
株式会社豊田自動織機
紡績機械用ノズルホルダ
8か月前
続きを見る
他の意匠を見る