TOP
|
特許
|
意匠
|
商標
意匠ウォッチ
Twitter
他の意匠を見る
発行日
2025-10-02
公報種別
意匠公報(S)
登録番号
1809778
登録日
2025-09-24
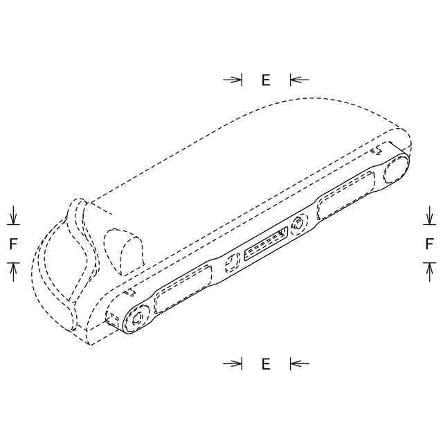
意匠に係る物品
電子機器用操作器
意匠分類
H7
-122(電子情報入出力機器)
出願番号
2024019265
出願日
2024-09-19
意匠権者
任天堂株式会社
代理人
弁理士法人深見特許事務所
,
個人
意匠に係る物品の説明
本物品は、ゲーム等を行うことができる電子機器用操作器である。
意匠の説明
実線で表した部分が登録を受けようとする部分である。
意匠ウォッチbot のツイートを見る
この意匠をJ-PlatPat(特許庁公式サイト)で参照する
関連意匠
任天堂株式会社
15か月前
任天堂株式会社
展示台
6か月前
任天堂株式会社
カメラ
2か月前
任天堂株式会社
アラーム機能付き時計
8か月前
任天堂株式会社
電子計算機
1か月前
任天堂株式会社
電子機器用操作器
29日前
任天堂株式会社
電子機器用操作器
2か月前
任天堂株式会社
電子機器用操作器
2日前
任天堂株式会社
電子機器用操作器
2か月前
任天堂株式会社
電子機器用操作器
2か月前
任天堂株式会社
電子機器用操作器
29日前
任天堂株式会社
電子機器用操作器
29日前
任天堂株式会社
電子機器用操作器
2日前
任天堂株式会社
電子機器用操作器
29日前
任天堂株式会社
電子機器用操作器
2日前
任天堂株式会社
電子機器用操作器
2日前
任天堂株式会社
電子機器用操作器
2日前
任天堂株式会社
電子機器用操作器
2日前
任天堂株式会社
電子機器用操作器
29日前
任天堂株式会社
電子機器用操作器
2日前
任天堂株式会社
電子機器用操作器
2日前
任天堂株式会社
電子機器用操作器
2か月前
任天堂株式会社
電子機器用操作器
29日前
任天堂株式会社
電子機器用操作器
29日前
任天堂株式会社
電子機器用操作器
29日前
任天堂株式会社
電子機器用操作器
29日前
任天堂株式会社
操作器用スティックデバイス
3か月前
任天堂株式会社
操作器用スティックデバイス
3か月前
任天堂株式会社
メモリーカード
9か月前
任天堂株式会社
メモリーカード
9か月前
任天堂株式会社
情報処理装置用コントローラ
3か月前
任天堂株式会社
電子機器用充電台
2か月前
任天堂株式会社
ゲーム装置用カートリッジ
9か月前
任天堂株式会社
ゲーム装置用カートリッジ
9か月前
任天堂株式会社
ゲーム装置用カートリッジ
9か月前
任天堂株式会社
ゲーム装置用カートリッジ
9か月前
続きを見る
他の意匠を見る