TOP
|
特許
|
意匠
|
商標
意匠ウォッチ
Twitter
他の意匠を見る
発行日
2025-09-29
公報種別
意匠公報(S)
登録番号
1809425
登録日
2025-09-18
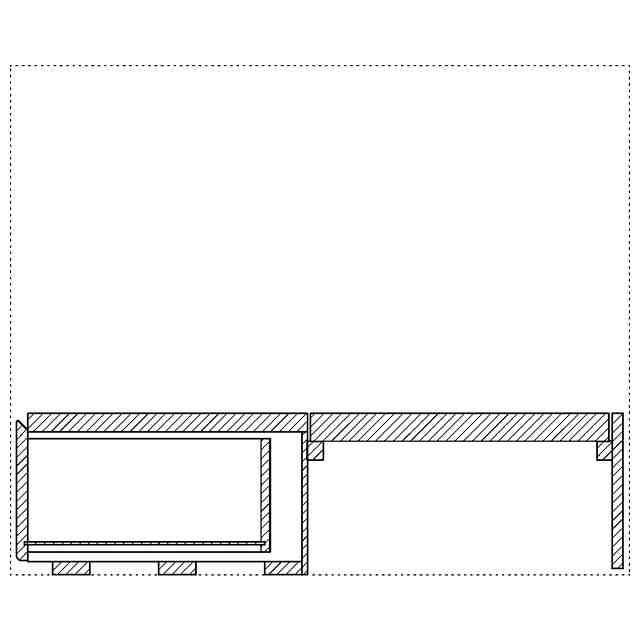
意匠に係る物品
ベッド用フレーム
意匠分類
D7
-31(家具)
出願番号
2025006976
出願日
2025-04-07
意匠権者
株式会社グランツ
代理人
意匠に係る物品の説明
本物品は正面側に引出しを備えたヘッドフレームである。正面の引出しは背面に組み替えることができる。
意匠の説明
実線で表した部分が、部分意匠として意匠登録を受けようとする部分である。
この意匠をJ-PlatPat(特許庁公式サイト)で参照する
関連意匠
株式会社グランツ
ベッド
7か月前
株式会社グランツ
二段ベッド
10か月前
株式会社グランツ
二段ベッド
10か月前
株式会社グランツ
二段ベッド
10か月前
株式会社グランツ
ベッド用棚
6か月前
株式会社グランツ
ベッド用フレーム
11か月前
株式会社グランツ
ベッド用フレーム
11か月前
株式会社グランツ
ベッド用フレーム
2か月前
株式会社グランツ
ベッド用フレーム
2か月前
株式会社グランツ
ベッド用フレーム
8か月前
株式会社グランツ
ベッド用フレーム
8か月前
株式会社グランツ
ベッド用フレーム
11か月前
株式会社グランツ
ベッド用フレーム
11か月前
株式会社グランツ
ベッド用ヘッドボード
10か月前
株式会社グランツ
ベッド用ヘッドボード
10か月前
株式会社グランツ
ベッド用ヘッドボード
2か月前
株式会社グランツ
ベッド用帽子掛け付きパネル
8か月前
株式会社カインズ
机
3か月前
アイリスチトセ株式会社
机
6か月前
愛知株式会社
机
2か月前
愛知株式会社
机
2か月前
アイリスチトセ株式会社
机
12か月前
株式会社カインズ
机
3か月前
アイリスチトセ株式会社
机
12か月前
株式会社オカムラ
机
8か月前
アイリスチトセ株式会社
机
6か月前
株式会社オカムラ
机
4か月前
アイリスチトセ株式会社
机
6か月前
株式会社カインズ
机
4か月前
株式会社カインズ
机
4か月前
株式会社オカムラ
机
10か月前
愛知株式会社
机
11か月前
愛知株式会社
机
11か月前
株式会社RDS
机
4か月前
株式会社オカムラ
机
8か月前
株式会社イトーキ
机
8か月前
続きを見る
他の意匠を見る