TOP
|
特許
|
意匠
|
商標
意匠ウォッチ
Twitter
他の意匠を見る
発行日
2025-09-22
公報種別
意匠公報(S)
登録番号
1808897
登録日
2025-09-11
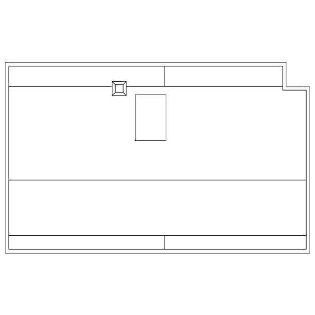
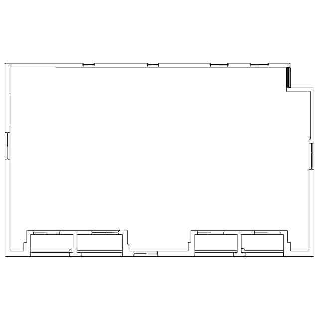
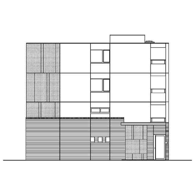
意匠に係る物品
集合住宅
意匠分類
L3
-21(組立て家屋、屋外装備品等)
出願番号
2025004968
出願日
2025-03-13
意匠権者
大東建託株式会社
代理人
弁理士法人勇智国際特許事務所
意匠に係る物品の説明
この建物は複数世帯が居住できる集合住宅である。
意匠の説明
底面図は重量物のため省略する。
この意匠をJ-PlatPat(特許庁公式サイト)で参照する
関連意匠
大東建託株式会社
集合住宅
3日前
大東建託株式会社
集合住宅
3日前
大東建託株式会社
集合住宅
3日前
大東建託株式会社
集合住宅
2か月前
大東建託株式会社
集合住宅
2か月前
大東建託株式会社
集合住宅
2か月前
大東建託株式会社
集合住宅
5か月前
大東建託株式会社
集合住宅
5か月前
大東建託株式会社
集合住宅
6か月前
大東建託株式会社
集合住宅
8か月前
大東建託株式会社
集合住宅
10か月前
大東建託株式会社
集合住宅
10か月前
大東建託株式会社
老人ホーム
10か月前
大東建託株式会社
障がい者グループホーム
8か月前
積水樹脂株式会社
柵
1か月前
株式会社LIXIL
門
2か月前
株式会社LIXIL
門
2か月前
株式会社LIXIL
門
2か月前
株式会社LIXIL
門
2か月前
株式会社大林組
柵
3か月前
YKK AP株式会社
門扉
5か月前
旭化成ホームズ株式会社
住宅
2か月前
YKK AP株式会社
門塀
3か月前
YKK AP株式会社
門塀
3か月前
株式会社丸豊建硝
手摺
6か月前
旭化成ホームズ株式会社
住宅
3か月前
積水ハウス株式会社
住宅
10か月前
パナソニックIPマネジメント株式会社
門柱
1か月前
YKK AP株式会社
門扉
3か月前
YKK AP株式会社
門扉
3か月前
株式会社丸豊建硝
手摺
6か月前
株式会社丸豊建硝
手摺
6か月前
トクラス株式会社
浴室
9か月前
個人
鳥居
9か月前
個人
住宅
9か月前
個人
住宅
9か月前
続きを見る
他の意匠を見る