TOP
|
特許
|
意匠
|
商標
意匠ウォッチ
Twitter
他の意匠を見る
発行日
2025-09-05
公報種別
意匠公報(S)
登録番号
1807976
登録日
2025-08-28
意匠に係る物品
フォークリフト
意匠分類
G2
-200(車両)
出願番号
2024018550
出願日
2024-09-09
意匠権者
三菱ロジスネクスト株式会社
代理人
個人
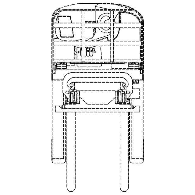
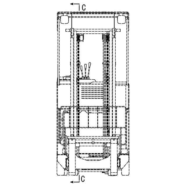
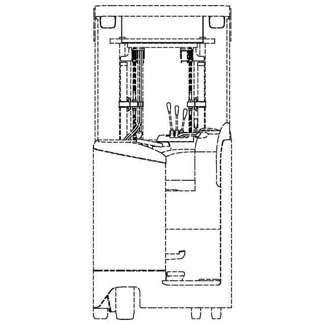
意匠に係る物品の説明
意匠の説明
実線で表した部分が、部分意匠として意匠登録を受けようとする部分である。意匠登録を受けようとする部分は、ヘッドガード桟部に取り付けられたディスプレイである。ディスプレイは、プロンプターやプロジェクター等の投影装置からの画像を表示するように構成されている。そして、フォークリフトの運転者が、ディスプレイに表示された画像を確認することができる。ディスプレイに表示される画像は、例えば、フォークリフトの荷役を支援するための案内画像等である。また、ディスプレイは、運転者の視界を遮らないよう透明で構成されている。一部拡大参考斜視図は、意匠登録を受けようとする部分を表すために、マスト、キャリッジ等を省略したものである。
この意匠をJ-PlatPat(特許庁公式サイト)で参照する
関連意匠
三菱ロジスネクスト株式会社
フォークリフト
27日前
三菱ロジスネクスト株式会社
フォークリフト
27日前
三菱ロジスネクスト株式会社
フォークリフト
8か月前
三菱ロジスネクスト株式会社
フォークリフト
6か月前
三菱ロジスネクスト株式会社
フォークリフト
6か月前
三菱ロジスネクスト株式会社
フォークリフト
27日前
三菱ロジスネクスト株式会社
フォークリフト
27日前
三菱ロジスネクスト株式会社
フォークリフト
27日前
三菱ロジスネクスト株式会社
フォークリフト
27日前
三菱ロジスネクスト株式会社
フォークリフト
27日前
三菱ロジスネクスト株式会社
フォークリフト
10か月前
三菱ロジスネクスト株式会社
フォークリフト
27日前
三菱ロジスネクスト株式会社
フォークリフト
27日前
三菱ロジスネクスト株式会社
フォークリフト
27日前
三菱ロジスネクスト株式会社
フォークリフト
27日前
三菱ロジスネクスト株式会社
フォークリフト
27日前
三菱ロジスネクスト株式会社
フォークリフト
27日前
三菱ロジスネクスト株式会社
フォークリフト
27日前
三菱ロジスネクスト株式会社
フォークリフト
27日前
三菱ロジスネクスト株式会社
フォークリフト
27日前
三菱ロジスネクスト株式会社
フォークリフト操作用画像
5か月前
三菱ロジスネクスト株式会社
フォークリフト操作用画像
5か月前
三菱ロジスネクスト株式会社
フォークリフトトラック
1か月前
三菱ロジスネクスト株式会社
フォークリフトトラック
1か月前
三菱ロジスネクスト株式会社
フォークリフトトラック
1か月前
三菱ロジスネクスト株式会社
フォークリフトトラック
1か月前
三菱ロジスネクスト株式会社
車両用フロントコンビネーションランプ
4か月前
三菱ロジスネクスト株式会社
車両用フロントコンビネーションランプ
6か月前
三菱ロジスネクスト株式会社
車両用フロントコンビネーションランプ
6か月前
三菱ロジスネクスト株式会社
車両用フロントコンビネーションランプ
6か月前
三菱ロジスネクスト株式会社
車両用フロントコンビネーションランプ
7か月前
三菱ロジスネクスト株式会社
車両用フロントコンビネーションランプ
7か月前
三菱ロジスネクスト株式会社
車両用フロントコンビネーションランプ
7か月前
三菱ロジスネクスト株式会社
車両用フロントコンビネーションランプ
7か月前
三菱ロジスネクスト株式会社
車両用フロントコンビネーションランプ
6か月前
大阪市高速電気軌道株式会社
バス
21日前
続きを見る
他の意匠を見る