TOP
|
特許
|
意匠
|
商標
意匠ウォッチ
Twitter
他の意匠を見る
発行日
2025-09-01
公報種別
意匠公報(S)
登録番号
1807486
登録日
2025-08-22
意匠に係る物品
自動車用タイヤ
意匠分類
G2
-91191(車両)
出願番号
2024024078
出願日
2024-11-21
意匠権者
住友ゴム工業株式会社
,
Sumitomo Rubber Industries,Ltd.
代理人
弁理士法人深見特許事務所
意匠に係る物品の説明
意匠の説明
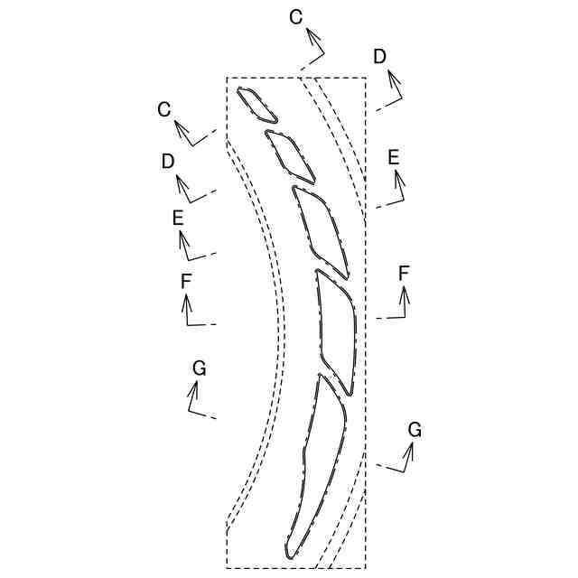
実線で表した部分が、意匠登録を受けようとする部分である。一点鎖線は、意匠登録を受けようとする部分とその他の部分との境界のみを示す線である。
この意匠をJ-PlatPat(特許庁公式サイト)で参照する
関連意匠
住友ゴム工業株式会社
9か月前
住友ゴム工業株式会社
7か月前
住友ゴム工業株式会社
14か月前
住友ゴム工業株式会社
14か月前
住友ゴム工業株式会社
14か月前
住友ゴム工業株式会社
14か月前
住友ゴム工業株式会社
14か月前
住友ゴム工業株式会社
14か月前
住友ゴム工業株式会社
7か月前
住友ゴム工業株式会社
7か月前
住友ゴム工業株式会社
7か月前
住友ゴム工業株式会社
14か月前
住友ゴム工業株式会社
14か月前
住友ゴム工業株式会社
14か月前
住友ゴム工業株式会社
14か月前
住友ゴム工業株式会社
10か月前
住友ゴム工業株式会社
14か月前
住友ゴム工業株式会社
6か月前
住友ゴム工業株式会社
6か月前
住友ゴム工業株式会社
6か月前
住友ゴム工業株式会社
6か月前
住友ゴム工業株式会社
3か月前
住友ゴム工業株式会社
3か月前
住友ゴム工業株式会社
14か月前
住友ゴム工業株式会社
ゴムクローラ
5か月前
住友ゴム工業株式会社
自動車用タイヤ
8か月前
住友ゴム工業株式会社
自動車用タイヤ
1か月前
住友ゴム工業株式会社
自動車用タイヤ
1か月前
住友ゴム工業株式会社
自動車用タイヤ
1か月前
住友ゴム工業株式会社
自動車用タイヤ
1か月前
住友ゴム工業株式会社
自動車用タイヤ
25日前
住友ゴム工業株式会社
自動車用タイヤ
8か月前
住友ゴム工業株式会社
自動車用タイヤ
7か月前
住友ゴム工業株式会社
自動車用タイヤ
1か月前
住友ゴム工業株式会社
自動車用タイヤ
2か月前
住友ゴム工業株式会社
自動車用タイヤ
2か月前
続きを見る
他の意匠を見る