TOP
|
特許
|
意匠
|
商標
意匠ウォッチ
Twitter
他の意匠を見る
発行日
2025-08-14
公報種別
意匠公報(S)
登録番号
1806131
登録日
2025-08-05
意匠に係る物品
料金自動収受機
意匠分類
J5
-320(自動販売機及び自動サービス機)
出願番号
2025002873
出願日
2025-02-14
意匠権者
三菱重工機械システム株式会社
代理人
個人
,
個人
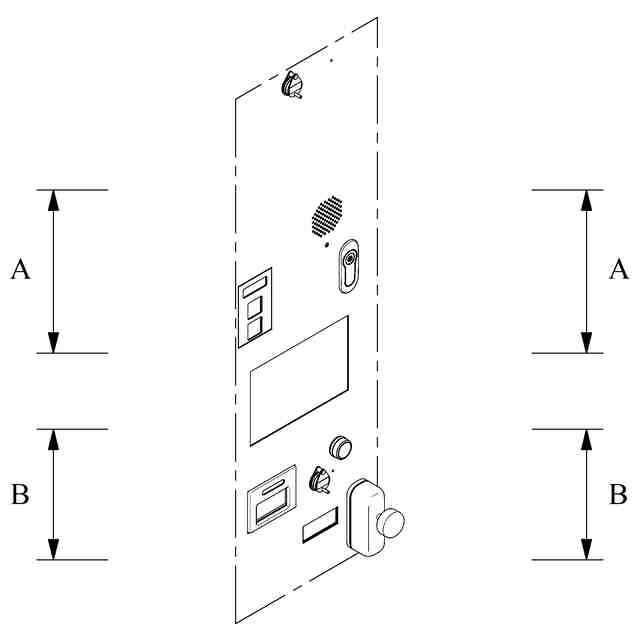
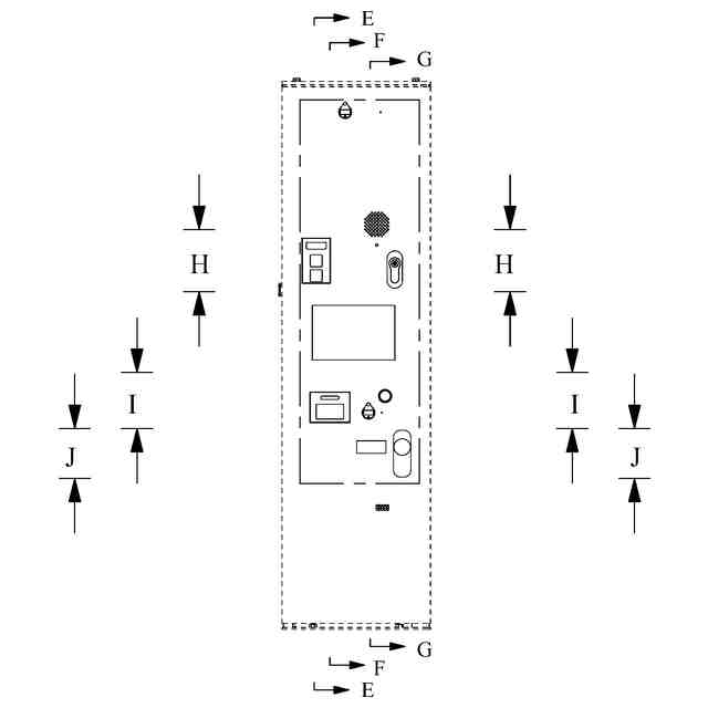
意匠に係る物品の説明
本物品は、有料道路等の通行料金を自動的に徴収する料金自動収受機である。
意匠の説明
実線で表した部分が、意匠登録を受けようとする部分である。一点鎖線は、意匠登録を受けようとする部分とその他の部分との境界のみを示す線である。斜視図、断面図及び拡大図を含めて意匠登録を受けようとする部分を特定している。
この意匠をJ-PlatPat(特許庁公式サイト)で参照する
関連意匠
三菱重工機械システム株式会社
料金自動収受機
3か月前
三菱重工機械システム株式会社
料金自動収受機
3か月前
オムロン株式会社
自動改札機
13日前
オムロン株式会社
自動改札機
3か月前
株式会社高見沢サイバネティックス
自動改札機
10か月前
株式会社高見沢サイバネティックス
自動改札機
10か月前
株式会社高見沢サイバネティックス
自動改札機
10か月前
富士電機株式会社
自動販売機
10か月前
株式会社スリーライク
販売機用蓋
8か月前
株式会社東芝
自動改札機
3か月前
株式会社東芝
自動改札機
3か月前
日本信号株式会社
自動改札機
3か月前
日本信号株式会社
自動改札機
3か月前
サントリーホールディングス株式会社
自動販売機
14日前
株式会社暁電機製作所
自動券売機
3か月前
サントリーホールディングス株式会社
自動販売機
3か月前
日本信号株式会社
自動改札機
3か月前
日本電気株式会社
認証ゲート
2か月前
サンデン・リテールシステム株式会社
自動販売機
1か月前
サンデン・リテールシステム株式会社
自動販売機
22日前
日本電気株式会社
認証ゲート
2か月前
日本電気株式会社
認証ゲート
2か月前
サンデン・リテールシステム株式会社
自動販売機
1か月前
東芝テック株式会社
決済用ゲート
26日前
東芝テック株式会社
決済用ゲート
26日前
富士電機株式会社
貨幣入出金機
3か月前
株式会社高見沢サイバネティックス
カード発売機
4か月前
富士電機株式会社
貨幣入出金機
3か月前
富士電機株式会社
貨幣入出金機
3か月前
ウォーターポイント株式会社
飲料自動販売機
10か月前
三菱重工機械システム株式会社
料金自動収受機
3か月前
三菱重工機械システム株式会社
料金自動収受機
3か月前
富士通フロンテック株式会社
現金自動預払機
11か月前
株式会社暁電機製作所
商品券リーダー
3か月前
アマノ株式会社
駐車料金精算機
4か月前
株式会社高見沢サイバネティックス
入退管理ゲート機
10か月前
続きを見る
他の意匠を見る