TOP
|
特許
|
意匠
|
商標
意匠ウォッチ
Twitter
他の意匠を見る
発行日
2025-06-26
公報種別
意匠公報(S)
登録番号
1802079
登録日
2025-06-18
意匠に係る物品
エレベーター表示用投影機
意匠分類
J3
-500(光学機械器具)
出願番号
2024022517
出願日
2024-10-30
意匠権者
三菱電機株式会社
,
MITSUBISHI ELECTRIC CORPORATION
,
三菱電機ビルソリューションズ株式会社
代理人
個人
,
個人
,
個人
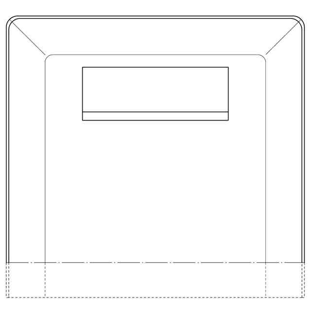
意匠に係る物品の説明
本物品は、主にエレベーターホールに設置され、例えば上下いずれかの矢印を壁面等に投影表示することによって、エレベーターの昇降方向や到着等を知らせるものである。
意匠の説明
部分意匠として意匠登録を受けようとする部分を実線で、それ以外の部分を破線で表している。一点鎖線は、部分意匠として意匠登録を受けようとする部分とその他の部分との境界のみを示す線である。図面上、内部構造は省略して表している。
この意匠をJ-PlatPat(特許庁公式サイト)で参照する
関連意匠
三菱電機株式会社
5か月前
三菱電機株式会社
7か月前
三菱電機株式会社
5か月前
三菱電機株式会社
3か月前
三菱電機株式会社
9か月前
三菱電機株式会社
8か月前
三菱電機株式会社
8か月前
三菱電機株式会社
8か月前
三菱電機株式会社
8か月前
三菱電機株式会社
8か月前
三菱電機株式会社
7か月前
三菱電機株式会社
6か月前
三菱電機株式会社
9か月前
三菱電機株式会社
6か月前
三菱電機株式会社
6か月前
三菱電機株式会社
6か月前
三菱電機株式会社
5か月前
三菱電機株式会社
5か月前
三菱電機株式会社
5か月前
三菱電機株式会社
5か月前
三菱電機株式会社
5か月前
三菱電機株式会社
5か月前
三菱電機株式会社
3か月前
三菱電機株式会社
3か月前
三菱電機株式会社
9か月前
三菱電機株式会社
1か月前
三菱電機株式会社
2か月前
三菱電機株式会社
9か月前
三菱電機株式会社
1か月前
三菱電機株式会社
翻訳修正用画像
3か月前
三菱電機株式会社
情報表示用画像
11か月前
三菱電機株式会社
情報表示用画像
11か月前
三菱電機株式会社
情報表示用画像
11か月前
三菱電機株式会社
情報表示用画像
8か月前
三菱電機株式会社
情報表示用画像
5か月前
三菱電機株式会社
情報表示用画像
5か月前
続きを見る
他の意匠を見る