TOP特許意匠商標
意匠ウォッチ Twitter
発行日2025-04-01
公報種別意匠公報(S)
登録番号1794948
登録日2025-03-24
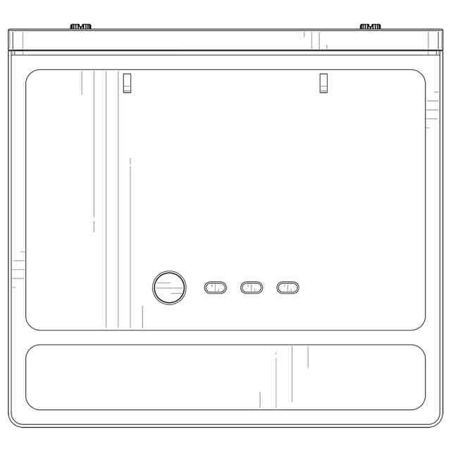
意匠に係る物品Display stand
意匠分類F5-2101(広告用具、表示具及び商品陳列用具)
出願番号2023504248,202330719374.9
出願日
意匠権者SHENZHEN SHOKZ CO., LTD.
代理人
意匠に係る物品の説明
意匠の説明The name of this design product: display stands; purpose of the product with this design: for displaying headphones; the main points of the design of the product are the shape of the product; the picture or photo that best shows the main points of the design: top perspective view; the first embodiment is specified as the basic design. 2.1)top perspective view; 2.2)bottom perspective view; 2.3)Front; 2.4)Back; 2.5)Left; 2.6)Right; 2.7)Top; 2.8)Bottom
この意匠をJ-PlatPat(特許庁公式サイト)で参照する

関連意匠

SHENZHEN SHOKZ CO., LTD.
Hearing aid
4か月前
SHENZHEN SHOKZ CO., LTD.
Hearing aid
2か月前
SHENZHEN SHOKZ CO., LTD.
Hearing aid
4か月前
SHENZHEN SHOKZ CO., LTD.
Hearing aid
4か月前
SHENZHEN SHOKZ CO., LTD.
Hearing aid
9か月前
SHENZHEN SHOKZ CO., LTD.
Hearing aid
4か月前
SHENZHEN SHOKZ CO., LTD.
Hearing aid
4か月前
SHENZHEN SHOKZ CO., LTD.
Hearing aid
4か月前
SHENZHEN SHOKZ CO., LTD.
Display stand
11か月前
SHENZHEN SHOKZ CO., LTD.
Earphone
1か月前
SHENZHEN SHOKZ CO., LTD.
Headphone
4か月前
SHENZHEN SHOKZ CO., LTD.
Headphone
4か月前
SHENZHEN SHOKZ CO., LTD.
Headphone
3か月前
SHENZHEN SHOKZ CO., LTD.
Headphone
3か月前
SHENZHEN SHOKZ CO., LTD.
Headphone
6か月前
SHENZHEN SHOKZ CO., LTD.
Display stand
8か月前
SHENZHEN SHOKZ CO., LTD.
Display stand
7か月前
SHENZHEN SHOKZ CO., LTD.
Display stand
8か月前
SHENZHEN SHOKZ CO., LTD.
Display stand
8か月前
SHENZHEN SHOKZ CO., LTD.
Display stand
8か月前
SHENZHEN SHOKZ CO., LTD.
Display stand
8か月前
SHENZHEN SHOKZ CO., LTD.
Display stand
7か月前
SHENZHEN SHOKZ CO., LTD.
Display stand
7か月前
SHENZHEN SHOKZ CO., LTD.
Display stand
7か月前
SHENZHEN SHOKZ CO., LTD.
Display stand
7か月前
SHENZHEN SHOKZ CO., LTD.
Display stand
7か月前
SHENZHEN SHOKZ CO., LTD.
Headphone
11か月前
SHENZHEN SHOKZ CO., LTD.
Headphone
10か月前
SHENZHEN SHOKZ CO., LTD.
Headphone
10か月前
SHENZHEN SHOKZ CO., LTD.
Headphone
10か月前
SHENZHEN SHOKZ CO., LTD.
Headphone
10か月前
SHENZHEN SHOKZ CO., LTD.
Headphone
10か月前
SHENZHEN SHOKZ CO., LTD.
Headphone
10か月前
SHENZHEN SHOKZ CO., LTD.
Headphone
10か月前
SHENZHEN SHOKZ CO., LTD.
Headphone
10か月前
SHENZHEN SHOKZ CO., LTD.
Headphone
10か月前
続きを見る