TOP
|
特許
|
意匠
|
商標
意匠ウォッチ
Twitter
他の意匠を見る
発行日
2025-02-19
公報種別
意匠公報(S)
登録番号
1791526
登録日
2025-02-10
意匠に係る物品
フラッシュランプ
意匠分類
H1
-76(基本的電気素子)
出願番号
2024020890
出願日
2024-10-08
意匠権者
浜松ホトニクス株式会社
代理人
個人
,
個人
,
個人
,
個人
意匠に係る物品の説明
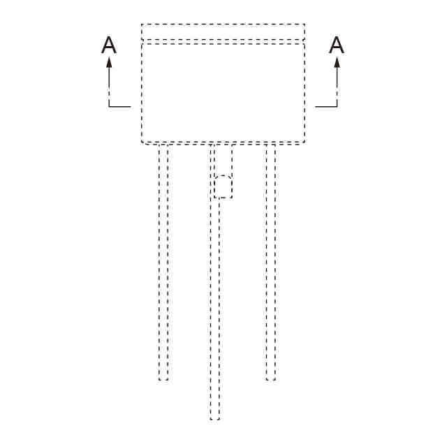
本物品は、血液検査機器などに使用する、放電により発光し分析のための光を提供するフラッシュランプである。本物品は、「平面図」に示すように、円の直径に相当する線上に、2個の電極を左右対称に配置している。発光は2個の電極の中心で起きることから、本物品は平面視における円の中心で常に発光する。そのため、本物品は取付角度がずれても常に円の中心で発光するため、本物品を血液検査機器などに容易に取り付けることができる。ピンチ管部は、製造の際に、本物品の内部を真空にし、また、放電ガスを注入するために使用する。スパーカ部は、フラッシュランプを確実に発光させるための電極である。
意匠の説明
実線で表した部分が、部分意匠として意匠登録を受けようとする部分である。「透明部分を示す参考正面図」において斜線を施した部分は透明である。
この意匠をJ-PlatPat(特許庁公式サイト)で参照する
関連意匠
浜松ホトニクス株式会社
7か月前
浜松ホトニクス株式会社
7か月前
浜松ホトニクス株式会社
7か月前
浜松ホトニクス株式会社
5か月前
浜松ホトニクス株式会社
7か月前
浜松ホトニクス株式会社
7か月前
浜松ホトニクス株式会社
半導体デバイス検査用画像
1か月前
浜松ホトニクス株式会社
半導体デバイス検査用画像
5か月前
浜松ホトニクス株式会社
半導体デバイス検査用画像
5か月前
浜松ホトニクス株式会社
接続ケーブル
5か月前
浜松ホトニクス株式会社
フラッシュランプ
7か月前
浜松ホトニクス株式会社
電気コネクタ
8か月前
浜松ホトニクス株式会社
フラッシュランプ
7か月前
浜松ホトニクス株式会社
フラッシュランプ
7か月前
浜松ホトニクス株式会社
フラッシュランプ
7か月前
浜松ホトニクス株式会社
フラッシュランプ
7か月前
浜松ホトニクス株式会社
フラッシュランプ用台座
7か月前
浜松ホトニクス株式会社
フラッシュランプ用台座
7か月前
浜松ホトニクス株式会社
フラッシュランプ用台座
7か月前
浜松ホトニクス株式会社
フラッシュランプ用台座
7か月前
浜松ホトニクス株式会社
フラッシュランプ用台座
7か月前
浜松ホトニクス株式会社
フラッシュランプ用台座
7か月前
浜松ホトニクス株式会社
キャリブレーション用スライド
1か月前
浜松ホトニクス株式会社
キャリブレーション用スライド
3か月前
浜松ホトニクス株式会社
キャリブレーション用スライド
3か月前
浜松ホトニクス株式会社
キャリブレーション用スライド
3か月前
浜松ホトニクス株式会社
キャリブレーション用スライド
3か月前
浜松ホトニクス株式会社
キャリブレーション用スライド
3か月前
浜松ホトニクス株式会社
キャリブレーション用スライド
3か月前
浜松ホトニクス株式会社
エックス線発生器
11か月前
浜松ホトニクス株式会社
エックス線発生器
11か月前
タイコ エレクトロニクス (シャンハイ) カンパニー リミテッド
端子
10か月前
リーダーソン ライティング カンパニー リミテッド
電球
7か月前
タイコ エレクトロニクス (シャンハイ) カンパニー リミテッド
端子
6か月前
タイコ エレクトロニクス (シャンハイ) カンパニー リミテッド
端子
6か月前
タイコ エレクトロニクス (シャンハイ) カンパニー リミテッド
端子
6か月前
続きを見る
他の意匠を見る