TOP
|
特許
|
意匠
|
商標
意匠ウォッチ
Twitter
他の意匠を見る
発行日
2025-11-07
公報種別
意匠公報(S)
登録番号
1756492
登録日
2023-10-23
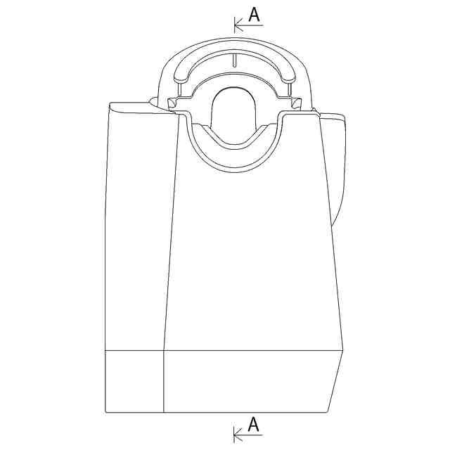
意匠に係る物品
自動洗髪機
意匠分類
C4
-111(家庭用保健衛生用品)
出願番号
2023015071
出願日
2023-07-24
意匠権者
タカラベルモント株式会社
代理人
意匠に係る物品の説明
本物品は、被施術者の頭部や髪に洗浄液や湯水などを噴射して自動洗髪を行うためのものである。使用時には、開閉式のフードを開いて被施術者の頭部をボール内にセットし、フードを閉じて自動洗髪が行われる。
意匠の説明
透光性を有する部分を示す参考斜視図において、濃いグレーを施した部分は透光性を有する。
意匠ウォッチbot のツイートを見る
この意匠をJ-PlatPat(特許庁公式サイト)で参照する
関連意匠
タカラベルモント株式会社
2か月前
タカラベルモント株式会社
2か月前
タカラベルモント株式会社
アイコン用画像
7か月前
タカラベルモント株式会社
アイコン用画像
10か月前
タカラベルモント株式会社
アイコン用画像
10か月前
タカラベルモント株式会社
アイコン用画像
10か月前
タカラベルモント株式会社
理美容用椅子
6か月前
タカラベルモント株式会社
医療用情報表示用画像
7か月前
タカラベルモント株式会社
自動洗髪機
1か月前
タカラベルモント株式会社
自動洗髪機
1か月前
タカラベルモント株式会社
タオルスチーマー
7か月前
タカラベルモント株式会社
理美容院の内装
4か月前
タカラベルモント株式会社
理美容院の内装
8か月前
タカラベルモント株式会社
シャワーヘッド
9か月前
タカラベルモント株式会社
シャワーヘッド用散水部品
9か月前
株式会社la vita
石鹸
7か月前
株式会社ゼロプラステクノロジー
耳栓
6か月前
株式会社la vita
石鹸
7か月前
個人
梵天
3か月前
個人
耳栓
17日前
深せん市か爾空科技創意有限公司
耳栓
6か月前
アモーレパシフィック コーポレーション
石鹸
4か月前
株式会社ROKI
マスク
6か月前
株式会社ピクセラ
美顔器
9か月前
コメット電機株式会社
美顔器
9か月前
コメット電機株式会社
美顔器
9か月前
楽澤美(深せん)科技有限公司
美容器
9か月前
株式会社共和
貼付材
6か月前
深せん市港基電技術有限公司
美顔器
9か月前
深せん由莱智能電子有限公司
美容灯
9か月前
小泉成器株式会社
美顔器
9か月前
株式会社共和
貼付材
6か月前
株式会社小林製作所
毛抜き
6か月前
株式会社共和
貼付材
6か月前
クルールラボ株式会社
美顔器
10か月前
株式会社共和
貼付材
6か月前
続きを見る
他の意匠を見る