TOP
|
特許
|
意匠
|
商標
意匠ウォッチ
Twitter
他の意匠を見る
発行日
2025-07-29
公報種別
意匠公報(S)
登録番号
1720668
登録日
2022-07-15
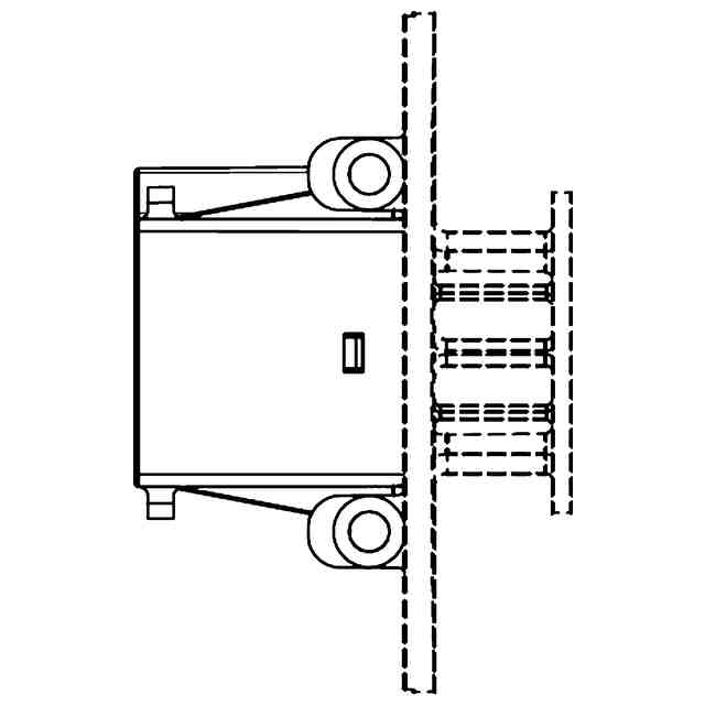
意匠に係る物品
火災感知器
意匠分類
H7
-110(電子情報入出力機器)
出願番号
2022001265
出願日
2022-01-25
意匠権者
能美防災株式会社
代理人
意匠に係る物品の説明
本物品は、火災による熱を検知する火災感知器である。
意匠の説明
実線で表した部分が、意匠登録を受けようとする部分である。
この意匠をJ-PlatPat(特許庁公式サイト)で参照する
関連意匠
能美防災株式会社
27日前
能美防災株式会社
11か月前
能美防災株式会社
11か月前
能美防災株式会社
11か月前
能美防災株式会社
11か月前
能美防災株式会社
11か月前
能美防災株式会社
1か月前
能美防災株式会社
11か月前
能美防災株式会社
11か月前
能美防災株式会社
11か月前
能美防災株式会社
11か月前
能美防災株式会社
11か月前
能美防災株式会社
11か月前
能美防災株式会社
11か月前
能美防災株式会社
5か月前
能美防災株式会社
5か月前
能美防災株式会社
5か月前
能美防災株式会社
1か月前
能美防災株式会社
1か月前
能美防災株式会社
11か月前
能美防災株式会社
一組の画像セット
5か月前
能美防災株式会社
一組の画像セット
5か月前
能美防災株式会社
一組の画像セット
5か月前
能美防災株式会社
火災検知器
4か月前
能美防災株式会社
火災検知器
4か月前
能美防災株式会社
火災感知器
10か月前
能美防災株式会社
火災検知器
4か月前
能美防災株式会社
火災検知器
4か月前
能美防災株式会社
火災感知器
10か月前
能美防災株式会社
火災検知器
4か月前
能美防災株式会社
火災感知器
4か月前
能美防災株式会社
火災検知器
4か月前
能美防災株式会社
防災監視盤
1か月前
能美防災株式会社
防災監視盤
1か月前
能美防災株式会社
防災監視盤
1か月前
能美防災株式会社
非常警報用発信機
11か月前
続きを見る
他の意匠を見る