TOP
|
特許
|
意匠
|
商標
意匠ウォッチ
Twitter
他の意匠を見る
発行日
2025-06-20
公報種別
意匠公報(S)
登録番号
1717262
登録日
2022-06-06
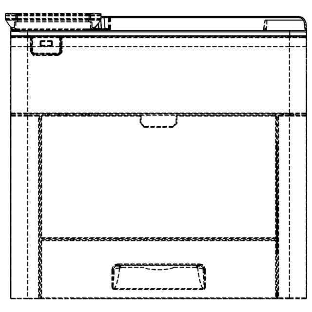
意匠に係る物品
プリンター
意匠分類
H7
-52(電子情報入出力機器)
出願番号
2020008606
出願日
2020-04-27
意匠権者
富士フイルム株式会社
代理人
特許業務法人レガート知財事務所
意匠に係る物品の説明
意匠の説明
実線で表した部分が部分意匠として意匠登録を受けようとする部分である。
この意匠をJ-PlatPat(特許庁公式サイト)で参照する
関連意匠
富士フイルム株式会社
6か月前
富士フイルム株式会社
9か月前
富士フイルム株式会社
11か月前
富士フイルム株式会社
11か月前
富士フイルム株式会社
11か月前
富士フイルム株式会社
11か月前
富士フイルム株式会社
5か月前
富士フイルム株式会社
5か月前
富士フイルム株式会社
5か月前
富士フイルム株式会社
8か月前
富士フイルム株式会社
5か月前
富士フイルム株式会社
6か月前
富士フイルム株式会社
1か月前
富士フイルム株式会社
1か月前
富士フイルム株式会社
1か月前
富士フイルム株式会社
9か月前
富士フイルム株式会社
双眼鏡
4か月前
富士フイルム株式会社
双眼鏡
4か月前
富士フイルム株式会社
双眼鏡
4か月前
富士フイルム株式会社
双眼鏡
4か月前
富士フイルム株式会社
双眼鏡
4か月前
富士フイルム株式会社
内視鏡
7か月前
富士フイルム株式会社
双眼鏡
4か月前
富士フイルム株式会社
双眼鏡
3か月前
富士フイルム株式会社
双眼鏡
3か月前
富士フイルム株式会社
モニター
5か月前
富士フイルム株式会社
プリンタ
9か月前
富士フイルム株式会社
プリンタ
7か月前
富士フイルム株式会社
プリンタ
9か月前
富士フイルム株式会社
プリンタ
9か月前
富士フイルム株式会社
プリンタ
9か月前
富士フイルム株式会社
医療機器の操作部
4か月前
富士フイルム株式会社
医療機器の操作部
4か月前
富士フイルム株式会社
医療機器の操作部
4か月前
富士フイルム株式会社
プリンター
5か月前
富士フイルム株式会社
医療機器の操作部
4か月前
続きを見る
他の意匠を見る