TOP
|
特許
|
意匠
|
商標
特許ウォッチ
Twitter
他の特許を見る
公開番号
2025182148
公報種別
公開特許公報(A)
公開日
2025-12-11
出願番号
2025170516,2024124233
出願日
2025-10-08,2020-09-30
発明の名称
記録装置
出願人
キヤノン株式会社
代理人
弁理士法人秀和特許事務所
主分類
B65H
31/28 20060101AFI20251204BHJP(運搬;包装;貯蔵;薄板状または線条材料の取扱い)
要約
【課題】バスケットを使用しない場合に、バスケットの装置本体内への収容を可能にする技術を提供する。
【解決手段】装置本体と、シートがロール状に巻回されたロールシートをセットするセット部と、前記セット部にセットされたロールシートから供給されたシートに画像を記録する記録部と、前記セット部の上方に設けられ、前記記録部で画像が記録されたシートを前記装置本体の前面に排出する排出部と、前記排出部から排出されたシートを受容する受け部材と、を備える記録装置であって、前記受け部材が前記装置本体の前面より外側でシートを収容する第1位置と、前記受け部材がシートを収容しない第2位置とに移動する移動部を備える。
【選択図】図7
特許請求の範囲
【請求項1】
装置本体と、
シートがロール状に巻回されたロールシートをセットするセット部と、
前記セット部にセットされたロールシートから供給されたシートに画像を記録する記録部と、
前記セット部の上方に設けられ、前記記録部で画像が記録されたシートを前記装置本体の前面に排出する排出部と、
前記排出部から排出されたシートを受容する受け部材と、
を備える記録装置であって、
前記受け部材が前記装置本体の前面より外側でシートを収容する第1位置と、前記受け部材がシートを収容しない第2位置とに移動する移動部を備えることを特徴とする記録装置。
続きを表示(約 790 文字)
【請求項2】
前記受け部材は第1端部と第2端部とを有し、
前記移動部が前記第1位置でシートを前記受け部材に収容する場合、前記第1端部は前記装置本体の前面側で、前記第2端部は前記装置本体の前面より外側にあることを特徴とする請求項1に記載の記録装置。
【請求項3】
前記移動部が前記第2位置にある場合、前記受け部材の少なくとも一部が前記装置本体の内部に収容されることを特徴とする請求項1に記載の記録装置。
【請求項4】
前記移動部が前記第1位置でシートを前記受け部材に収容する場合、前記第1端部は支持機構によって前記装置本体の外で支持されることを特徴とする請求項2に記載の記録装置。
【請求項5】
前記移動部が前記第1位置でシートを前記受け部材に収容する場合、前記第2端部は前記セット部より上方にあることを特徴とする請求項2に記載の記録装置。
【請求項6】
前記移動部が前記第1位置でシートを前記受け部材に収容する場合、前記受け部材は前記セット部の前方の少なくとも一部を覆うことを特徴とする請求項1に記載の記録装置。
【請求項7】
前記移動部は、前記記録装置の外装部の一部を形成する外装面を有することを特徴とする請求項1に記載の記録装置。
【請求項8】
前記外装面は、板状部材に形成されることを特徴とする請求項7に記載の記録装置。
【請求項9】
前記移動部は、レールによって水平方向にスライドすることを特徴とする請求項1に記載の記録装置。
【請求項10】
前記セット部の下方に、シートがロール状に巻回されたロールシートをセットする第2セット部を備えることを特徴とする請求項1に記載の記録装置。
(【請求項11】以降は省略されています)
発明の詳細な説明
【技術分野】
【0001】
本発明は、排出されたプリント媒体(記録材)などのシートを収容するシート収容装置及び該シート収容装置を備えたプリント装置(記録装置)に関する。
続きを表示(約 2,400 文字)
【背景技術】
【0002】
本発明は、プリントされたシートを収容するシート収容部を備えた記録装置に関してであり、特許文献1には、ロールカバーの前方に排紙収容部(バスケット)がある装置が開示されている。
【先行技術文献】
【特許文献】
【0003】
特許第05966574号公報
【発明の概要】
【発明が解決しようとする課題】
【0004】
しかし、特許文献1の装置ではバスケットを使用しない場合でもバスケットがむき出しになっているため埃がたまってしまう。バスケットに埃がたまると、排紙された印字物と埃が接触することでキズ等が発生する可能性がある。
【課題を解決するための手段】
【0005】
上記課題を解決するために、本発明による記録装置は、
装置本体と、
シートがロール状に巻回されたロールシートをセットするセット部と、
前記セット部にセットされたロールシートから供給されたシートに画像を記録する記録部と、
前記セット部の上方に設けられ、前記記録部で画像が記録されたシートを前記装置本体の前面に排出する排出部と、
前記排出部から排出されたシートを受容する受け部材と、
を備える記録装置であって、
前記受け部材が前記装置本体の前面より外側でシートを収容する第1位置と、前記受け部材がシートを収容しない第2位置とに移動する移動部を備えることを特徴とする。
【発明の効果】
【0006】
本発明の構成をとることで、バスケットを使用しない場合にはバスケットを収容することができ、バスケットに埃がたまらない。そのため、排紙された印字物と埃との接触キズを防止できる。
【図面の簡単な説明】
【0007】
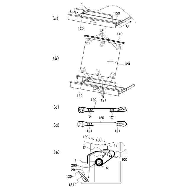
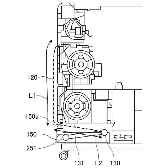
本発明の一実施形態に係るプリント装置の説明図
本発明の一実施形態のシート収容装置の説明図
本発明の一実施形態の第2の保持部材の斜視図
本発明の一実施形態の第2の保持部材の装着の説明図
本発明の一実施形態のバスケット装着の説明図
本発明の一実施形態に係るプリント装置の説明図
本発明の一実施形態に係る引き出し部を閉じた説明図
【発明を実施するための形態】
【0008】
以下に図面を参照して、この発明を実施するための形態を実施例に基づいて例示的に詳しく説明する。ただし、この実施の形態に記載されている構成部品の寸法、材質、形状それらの相対配置などは、発明が適用される装置の構成や各種条件により適宜変更されるべきものである。すなわち、この発明の範囲を以下の実施の形態に限定する趣旨のものではない。
【0009】
図1から図7は、本発明の第1の実施形態の説明図である。本実施形態のプリント装置(記録装置)は、プリント媒体としてのシートを供給するためのシート供給装置と、そのシートに画像をプリントするプリント部(記録部)。さらに、シートをプリント装置前面部に排紙する排紙部と、を備えたインクジェットプリント装置としての適用例である。
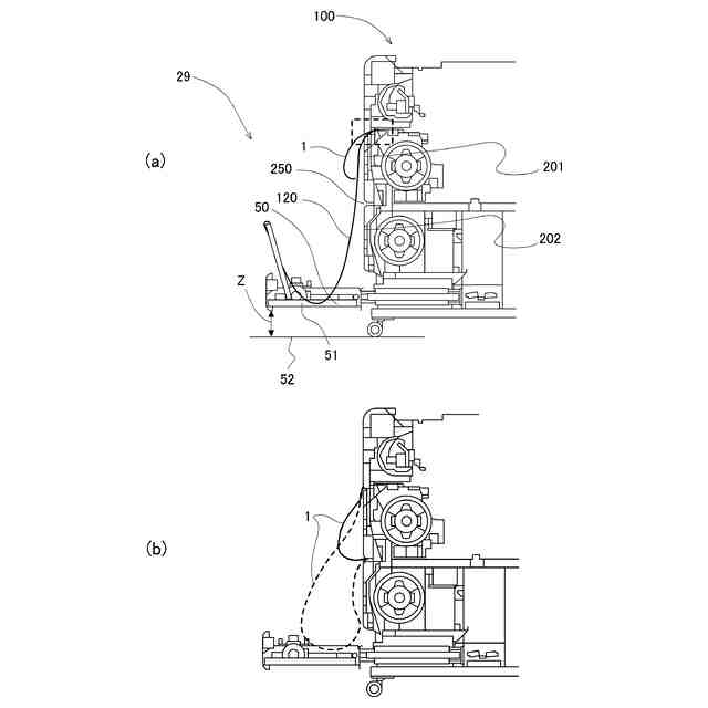
【0010】
図1(a)(b)は、シート1(記録媒体)をロール状に巻回したロールシートが2本セットすることが可能なプリント装置100の前面排紙中の概略図である。上下に配備されたシート供給装置200(給紙部)のうち、上方にセットされるものを上段給紙部、下方にセットされるものを下段給紙部という。このセットされた2本のロールシートから選択的に給紙されたシート1に画像がプリントされる。プリントが完了したシート1はプリント装置前面部に設けられた前面排紙ガイド部110(排出口)から排紙される。ユーザーは、操作パネル2に備わる各種のスイッチなどを用いて、シート1のサイズ指定、オンライン/オフラインの切り換え、プリント装置100に対する各種コマンドなどを入力することができる。図1(c)は、プリント装置100の要部の前面排紙中の概略断面図(図1(b)のA-A断面)である。2本のロールRに対応する2つのシート供給装置200が上下に配備されている。供給装置200によってロールRから引き出されたシート1は、シート搬送部(搬送機構)300によって、シート搬送経路に沿って画像をプリント可能なプリント部400に搬送される。尚、供給装置に200の前面には上下段共にロールカバー201がプリント装置100に対して回動可能に配置されている。ロールカバー201のうち、上方にセットされるものを上段カバー部材、下方にセットされるものを下段カバー部材という。ロールカバー201が閉じた状態ではロールカバー201は外装面となり、ロールRを供給装置200にセットする際には、ロールカバー201を開けて行う。プリント部400は、インクジェット式のプリントヘッド18からインクを吐出することによって、シート1に画像をプリントする。プリントヘッド18は、電気熱変換素子(ヒータ)やピエゾ素子などの吐出エネルギー発生素子を用いて、吐出口からインクを吐出する。プリントヘッド18はインクジェット方式のみに限定されず、またプリント部400のプリント方式も限定されず、例えば、シリアルスキャン方式あるいはフルライン方式などであってもよい。シリアルスキャン方式の場合には、シート1の搬送動作と、シート1の搬送方向と交差する方向におけるプリントヘッド18の走査と、を伴って画像をプリントする。フルライン方式の場合には、シート1の搬送方向と交差する方向に延在する長尺なプリントヘッド18を用い、シート1を連続的に搬送しつつ画像をプリントする。
(【0011】以降は省略されています)
この特許をJ-PlatPat(特許庁公式サイト)で参照する
関連特許
他の特許を見る