TOP
|
特許
|
意匠
|
商標
特許ウォッチ
Twitter
他の特許を見る
10個以上の画像は省略されています。
公開番号
2025182120
公報種別
公開特許公報(A)
公開日
2025-12-11
出願番号
2025170069,2023030728
出願日
2025-10-08,2023-03-01
発明の名称
遊技機
出願人
株式会社藤商事
代理人
個人
,
個人
主分類
A63F
7/02 20060101AFI20251204BHJP(スポーツ;ゲーム;娯楽)
要約
【課題】制御面で負担をかけることなく効果的に遊技の興趣を向上させることができる遊技機を提供する。
【解決手段】第2背景楽曲を再生中に、効果音とセリフ音が再生される演出が必ず発生する特定の演出が実行される場合、効果音とセリフ音が再生される際に、該再生中の第2背景楽曲の音量を制御によって低下させることなく、効果音とセリフ音の音量よりも小さい音量となるように予め設定されている第2背景楽曲の音量で再生する。そして、効果音とセリフ音の再生が一部重なるような場合には、効果音の再生が開始され、再生開始の音量から音量が下がって、遊技者に認識困難な音量となって再生が終了する際に、セリフ音の再生を開始することで、該効果音の再生開始と、該セリフ音の再生開始が同時にされないようにしている。
【選択図】図7
特許請求の範囲
【請求項1】
遊技に関する演出を実行する演出実行手段と、
前記遊技に関する演出を構成する音演出と、
前記音演出における所定の音を再生及び音量の調整を行う音制御手段と、を有し、
前記音演出は、背景楽曲と、効果音と、セリフ音と、を有し、
前記背景楽曲は、ループ再生される第1背景楽曲と、ループ再生されない第2背景楽曲と、を有し、
前記音制御手段は、前記第1背景楽曲を再生中に、前記効果音と前記セリフ音が再生される演出と、前記効果音と前記セリフ音が再生されない演出のいずれもが実行可能であって、前記効果音と前記セリフ音が再生される所定の演出が実行される場合、前記効果音と前記セリフ音が再生される際に、該再生中の第1背景楽曲の音量を、前記効果音と前記セリフ音の音量よりも小さい所定音量まで制御によって低下させる一方、
前記音制御手段は、前記第2背景楽曲を再生中に、前記効果音と前記セリフ音が再生される演出が必ず発生する特定の演出が実行される場合、前記効果音と前記セリフ音が再生される際に、該再生中の第2背景楽曲の音量を制御によって低下させることなく、前記効果音と前記セリフ音の音量よりも小さい音量となるように予め設定されている前記第2背景楽曲の音量で再生し、
前記効果音と前記セリフ音の再生が一部重なるような場合には、前記効果音の再生が開始され、再生開始の音量から音量が下がって、遊技者に認識困難な音量となって再生が終了する際に、セリフ音の再生を開始することで、該効果音の再生開始と、該セリフ音の再生開始が同時にされないようにしてなる遊技機。
発明の詳細な説明
【技術分野】
【0001】
本発明は、パチンコ機、アレンジボール機、雀球遊技機、スロット、封入された遊技球を内部で循環させる封入式パチンコ機(管理遊技機)などの遊技機に関し、より詳しくは、制御面で負担をかけることなく効果的に遊技の興趣を向上させることができる遊技機に関する。
続きを表示(約 4,800 文字)
【背景技術】
【0002】
従来のパチンコ機等の遊技機として、例えば特許文献1に記載のような遊技機が知られている。この遊技機は、演出ボタンが押下されたら音データが割り当てられていたチャンネルを空きチャンネルにするというものである。
【先行技術文献】
【特許文献】
【0003】
特許第61397395号公報
【発明の概要】
【発明が解決しようとする課題】
【0004】
ところで、遊技機に搭載される演出は、増加の一途を辿っており、それに伴い、音声やランプ演出も増加の一途を辿っている。そのため、上記のような遊技機では、制御面でのさらなる工夫が必要であるといった問題があった。
【0005】
そこで本発明は、上記問題に鑑み、制御面で負担をかけることなく効果的に遊技の興趣を向上させることができる遊技機を提供することを目的としている。
【課題を解決するための手段】
【0006】
上記本発明の目的は、以下の手段によって達成される。なお、括弧内は、後述する実施形態の参照符号を付したものであるが、本発明はこれに限定されるものではない。
【0007】
請求項1の発明に係る遊技機によれば、
遊技に関する演出を実行する演出実行手段(例えば、図4に示すサブ制御CPU800a)と、
前記遊技に関する演出を構成する音演出と、
前記音演出における所定の音を再生及び音量の調整を行う音制御手段(例えば、図4に示すサブ制御CPU800a、音LSI801)と、を有し、
前記音演出は、背景楽曲(例えば、図7に示すBGM、図9に示すBGM1,BGM2)と、効果音(例えば、図7に示す効果音、図9に示す効果音)と、セリフ音(例えば、図7に示すセリフ音、図9に示すセリフ音)と、を有し、
前記背景楽曲は、ループ再生される第1背景楽曲(例えば、図7に示すBGM、図9に示すBGM1)と、ループ再生されない第2背景楽曲(例えば、図11に示すBGM3)と、を有し、
前記音制御手段は、前記第1背景楽曲を再生中に、前記効果音と前記セリフ音が再生される演出と、前記効果音と前記セリフ音が再生されない演出のいずれもが実行可能であって、前記効果音と前記セリフ音が再生される所定の演出が実行される場合、前記効果音と前記セリフ音が再生される際に、該再生中の第1背景楽曲の音量を、前記効果音と前記セリフ音の音量よりも小さい所定音量まで制御によって低下させる(明細書段落[0072]~[0091]参照)一方、
前記音制御手段は、前記第2背景楽曲を再生中に、前記効果音と前記セリフ音が再生される演出が必ず発生する特定の演出が実行される場合、前記効果音と前記セリフ音が再生される際に、該再生中の第2背景楽曲の音量を制御によって低下させることなく、前記効果音と前記セリフ音の音量よりも小さい音量となるように予め設定されている前記第2背景楽曲の音量で再生し(明細書段落[0094]~[0102]参照)、
前記効果音と前記セリフ音の再生が一部重なるような場合には、前記効果音の再生が開始され、再生開始の音量から音量が下がって、遊技者に認識困難な音量となって再生が終了する際に、セリフ音の再生を開始することで、該効果音の再生開始と、該セリフ音の再生開始が同時にされないようにしてなる(明細書段落[0081],[0090],図7,図9参照)ことを特徴としている。
【発明の効果】
【0008】
本発明によれば、制御面で負担をかけることなく効果的に遊技の興趣を向上させることができる。
【図面の簡単な説明】
【0009】
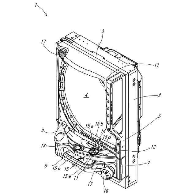
本発明の一実施形態に係る遊技機の外観を示す斜視図である。
同実施形態に係る遊技盤の正面図である。
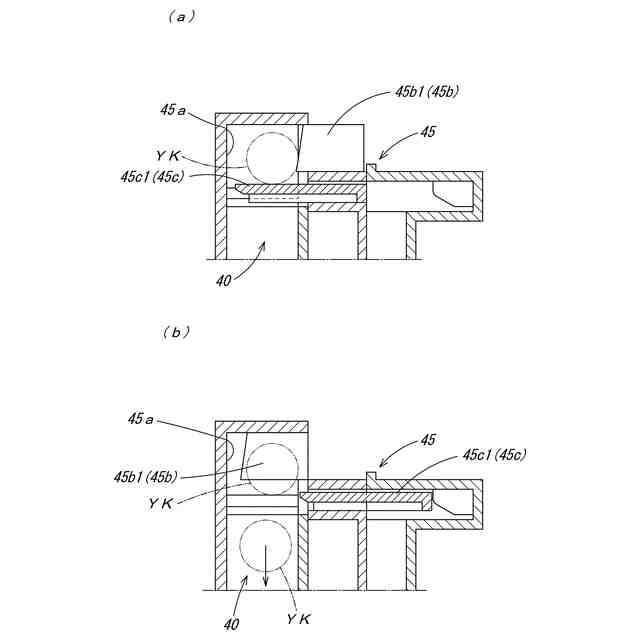
同実施形態に係る特別図柄2始動装置の側面断面図で、(a)は開状態、(b)は閉状態を示す図である。
同実施形態に係る遊技機の制御装置を示すブロック図である。
(a)~(c)は、インフォメーション予告演出の流れを示す画面例、(d)~(f)は、チャイム音予告演出の流れを示す画面例である。
(a)~(c)は、予告演出の流れを示す画面例である。
図7に示す予告演出に応じて発せられるBGM、効果音、セリフ音のタイミングチャートを示す図である。
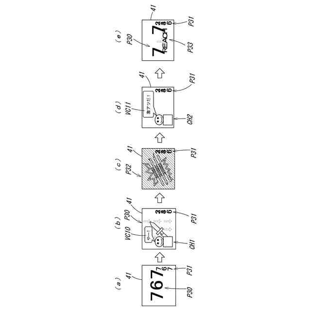
(a)~(e)は、大当たり遊技状態への信頼度が高い予告演出の流れを示す画面例である。
図8に示す予告演出に応じて発せられるBGM1、BGM2、効果音、セリフ音のタイミングチャートを示す図である。
(a)~(e)は、ノーマルリーチ演出からSPリーチ演出と発展する演出の流れを示す画面例である。
図10に示す演出に応じて発せられるBGM2、BGM3、効果音、セリフ音のタイミングチャートを示す図である。
同実施形態に係る遊技機を模式的に示し、同実施形態に係る装飾ランプを点滅させる方法を説明する説明図であって、図12(a-1)は装飾ランプが点灯している状態を示し、図12(b-1)は装飾ランプが消灯している状態を示し、図12(a-2)は装飾ランプが点灯している状態を示し、図12(b-2)は装飾ランプが消灯している状態を示し、図12(c-2)は装飾ランプが図12(a-2)と異なる色で点灯している状態を示し、図12(d-2)は装飾ランプが消灯している状態を示している。
(a-1)~(f-1)は、同実施形態に係る装飾ランプを輝度調整する際の一例を示す説明図、(a-2)は、同実施形態に係る装飾ランプを色彩調整する際の一例を示す説明図である。
(a)~(e)は、同実施形態に係る装飾ランプを輝度調整することによって階調点滅(ストロボフラッシュ)させる例を示す説明図である。
(a)は「静」のランプパターンを示し、装飾ランプの点灯、消灯のフレーム数を説明する説明図、(b)は「静」のランプパターンを示し、装飾ランプを低速階調させている例を説明する説明図、(c)は「動」のランプパターンを示し、装飾ランプを高速点滅させている例を説明する説明図、(d)は「動」のランプパターンを示し、装飾ランプを階調点滅(ストロボフラッシュ)させている例を説明する説明図である。
「静」のランプパターンと、「動」のランプパターンを組み合わせた例を説明する説明図である。
(a)は同実施形態に係る遊技機を模式的に示した正面図、(b)は右側面縦断面である。
同実施形態に係る液晶表示装置の前部にイルミパネルを配置しようとしている状態を示す斜視図である。
同実施形態に係る遊技盤の正面図を示し、(a)は大当たり遊技状態が開始される前、案内演出におけるランプ演出パターンが実行されている状態を示し、(b)は大当たり遊技状態が開始され、ラウンド演出におけるランプ演出パターンが実行されている状態を示す図である。
用途毎に予め設定されているサウンドチャンネルを示す図である。
複数の演出シナリオが重なって発生した場合、同時に再生できる音の上限を超えてしまう可能性があることを説明する説明図である。
同実施形態に係る音テーブルを示す図である。
複数の演出シナリオを同一フレーム(同一のタイミング)から実行させた際、同一フレーム(同一のタイミング)から再生を開始できる音のチャンネル数の上限を超えてしまう可能性があることを説明する説明図である。
再生する音を空いているチャンネルに設定する例を示し、(a)は、サウンドチャンネル「11」と「12」が空いている状態を示し、(b)は、サウンドチャンネル「12」が空いている状態を示し、(c)は新たな音がサウンドチャンネルに設定されず破棄された状態を示す説明図である。
(a)~(b)は、左装飾図柄が減速変動して停止する際に停止効果音が鳴り出すタイミングを説明する説明図である。
(a)は、左装飾図柄が減速変動している状態を示す画面例、(b)は、左装飾図柄がバウンド動作する際の状態を説明する説明図、(c)は、左装飾図柄が停止している状態を示す画面例である。
全ての装飾図柄が減速変動して停止する際に停止効果音が鳴り出すタイミングを説明する説明図である。
(a)は、全ての装飾図柄が減速変動している状態を示す画面例、(b)は、装飾図柄が停止する状態を説明する説明図である。
先頭から一定の無音区間を設けた音データを示す例である。
(a)は、先頭から1.5フレーム(1.5F)の無音区間を設けた音データを、1.5フレーム(1.5F)から鳴らし始めることを説明する説明図、(b)は、先頭から0.5フレーム(0.5F)の無音区間を設けた音データを、1.5フレーム(1.5F)から鳴らし始めることを説明する説明図である。
同実施形態に係る主制御のメイン処理を説明するフローチャート図である。
図31に示す主制御のメイン処理の続きを説明するフローチャート図である。
図31に示す設定切替処理を説明するフローチャート図である。
電源異常チェック処理を説明するフローチャート図である。
図32に示す賞球入賞数管理処理1を説明するフローチャート図である。
図35に示す計測用RAM領域の初期設定を説明するフローチャート図である。
図35に示すカウント処理を説明するフローチャート図である。
図35に示す計数処理を説明するフローチャート図である。
同実施形態に係る主制御のタイマ割込み処理を説明するフローチャート図である。
図39に示す普通図柄処理を説明するフローチャート図である。
図39に示す特別図柄処理を説明するフローチャート図である。
図41に示す始動口チェック処理1(2)を説明するフローチャート図である。
図41に示す特別図柄変動開始処理を説明するフローチャート図である。
図41に示す特別図柄変動中処理を説明するフローチャート図である。
図41に示す特別図柄確認時間中処理を説明するフローチャート図である。
図39に示す使用領域外処理を説明するフローチャート図である。
同実施形態に係るサブ制御のメイン処理を示すフローチャート図である。
図47に示すデータ解析処理を示すフローチャート図である。
同実施形態に係るサブ制御のコマンド受信処理を示すフローチャート図である。
同実施形態に係るサブ制御のタイマ割込み処理を示すフローチャート図である。
(a)は動画に関する初期コマンドリストを説明するフローチャート図を示し、(b)は動画に関する定常コマンドリストを説明するフローチャート図を示し、(c)は静止画に関するコマンドリストを説明するフローチャート図である。
【発明を実施するための形態】
【0010】
以下、本発明に係る遊技機の一実施形態を、パチンコ遊技機を例にして、図面を参照して具体的に説明する。なお、以下の説明において、上下左右の方向を示す場合は、図示正面から見た場合の上下左右をいうものとする。
(【0011】以降は省略されています)
この特許をJ-PlatPat(特許庁公式サイト)で参照する
関連特許
他の特許を見る