TOP
|
特許
|
意匠
|
商標
特許ウォッチ
Twitter
他の特許を見る
公開番号
2025182068
公報種別
公開特許公報(A)
公開日
2025-12-11
出願番号
2025168318,2021213169
出願日
2025-10-06,2021-12-27
発明の名称
管継手
出願人
株式会社オンダ製作所
代理人
主分類
F16L
21/00 20060101AFI20251204BHJP(機械要素または単位;機械または装置の効果的機能を生じ維持するための一般的手段)
要約
【課題】新規な構成の管継手を提供する。
【解決手段】継手本体11にはパイプ17に挿入される内筒部14が設けられ、継手本体11には内筒部14を取り囲むようにして外筒体12が取り付けられ、外筒体12には内筒部14が挿入されたパイプ17を視認するための確認窓23が形成され、確認窓23において外筒体12の径方向の外側に位置する開口縁は、外筒体12の軸線方向の前後に位置する領域が径方向の外方に向かって拡開されており、外筒体12の外周面において、確認窓23の開口縁の領域の一部は拡開がなされておらず、当該拡開がなされていないことにより拡げられた領域には、管継手に関するデータ32が表示されている管継手。
【選択図】図1
特許請求の範囲
【請求項1】
継手本体にはパイプに挿入される内筒部が設けられ、
前記継手本体には前記内筒部を取り囲むようにして外筒体が取り付けられ、
前記外筒体には前記内筒部が挿入された前記パイプを視認するための確認窓が形成された管継手であって、
前記確認窓において前記外筒体の径方向の外側に位置する開口縁は、前記外筒体の軸線方向の前後に位置する領域が前記径方向の外方に向かって拡開されており、
前記外筒体の外周面において、前記開口縁の前記領域の一部は前記拡開がなされておらず、当該拡開がなされていないことにより拡げられた領域には、前記管継手に関するデータが表示されている管継手。
続きを表示(約 120 文字)
【請求項2】
前記確認窓において前記外筒体の径方向の外側に位置する開口縁は、前記外筒体の軸線方向の前側または後側に位置する領域のうち、前記パイプの挿入側に位置する一方の領域のみが、一部において前記拡開がなされていない請求項1に記載の管継手。
発明の詳細な説明
【技術分野】
【0001】
本発明は、管継手に関する。
続きを表示(約 1,600 文字)
【背景技術】
【0002】
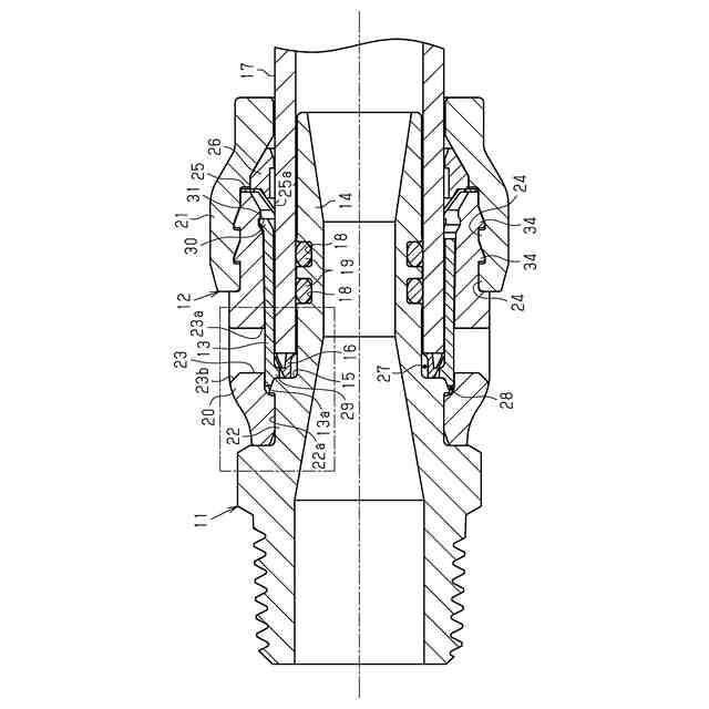
建物等の給水給湯システムには、パイプを簡単に接続できる管継手が用いられている。こうした管継手としては、例えば特許文献1に示すものが知られている。この管継手は、継手本体と外筒体と透視筒体とを備えている。
【0003】
継手本体には内筒部及び段差部が設けられている。内筒部はパイプに挿入される。段差部は、パイプを内筒部に挿入したときに同パイプと当接する。内筒部の外周面にはシール部材が取り付けられている。シール部材は、パイプの内周面に当接している。このシール部材により、パイプの内周面と内筒部の外周面との間が封止(シール)される。
【0004】
外筒体は、継手本体に対し、内筒部を取り囲むように取り付けられる。外筒体には、確認窓が形成されている。この確認窓により、内筒部が挿入されたパイプを視認することが可能となっている。外筒体の内側には、確認窓を覆う透明又は半透明の透視筒体が配置されている。この透視筒体と内筒部との間には、パイプを受け入れるための挿入空間が形成されている。透視筒体は、外部から確認窓を介して挿入空間内に異物が侵入することを抑制する。
【0005】
上記管継手では、継手本体の内筒部に対し、次のようにパイプが挿入される。すなわち、パイプと内筒部とを同一軸線上に配置した後、パイプを内筒部に対し接近させる。これにより、パイプは、内筒部に挿入されるとともに、管継手の挿入空間に挿入される。そして、パイプが継手本体の段差部に対し当接することにより、挿入空間に対するパイプの挿入位置が規定される。このように挿入空間に対しパイプを挿入するだけで、そのパイプが管継手に接続される。
【先行技術文献】
【特許文献】
【0006】
特開2015-140902号公報
【発明の概要】
【発明が解決しようとする課題】
【0007】
本発明の目的は、新規な構成の管継手を提供すること。
【課題を解決するための手段】
【0008】
上記目的を達成するために請求項1に係る発明は、継手本体にはパイプに挿入される内筒部が設けられ、前記継手本体には前記内筒部を取り囲むようにして外筒体が取り付けられ、前記外筒体には前記内筒部が挿入された前記パイプを視認するための確認窓が形成された管継手であって、前記確認窓において前記外筒体の径方向の外側に位置する開口縁は、前記外筒体の軸線方向の前後に位置する領域が前記径方向の外方に向かって拡開されており、前記外筒体の外周面において、前記開口縁の前記領域の一部は前記拡開がなされておらず、当該拡開がなされていないことにより拡げられた領域には、前記管継手に関するデータが表示されている管継手。
【0009】
請求項2に係る発明は請求項1において、前記確認窓において前記外筒体の径方向の外側に位置する開口縁は、前記外筒体の軸線方向の前側または後側に位置する領域のうち、前記パイプの挿入側に位置する一方の領域のみが、一部において前記拡開がなされていない。
【図面の簡単な説明】
【0010】
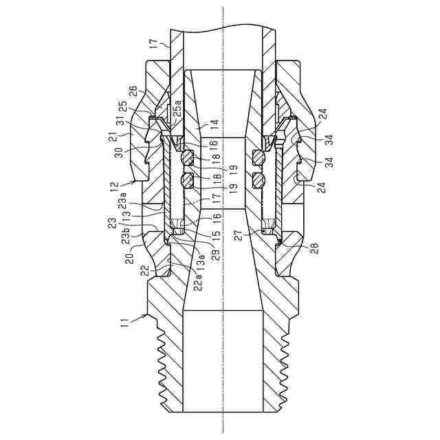
管継手を示す断面図である。
上記管継手のロックリング及び割リングと、それらの周辺を示す断面図である。
図1の管継手における一点鎖線で囲んだ箇所を示す拡大図である。
透視筒体を示す斜視図である。
上記透視筒体を示す斜視図である。
上記管継手を図1の上方から見た状態を示す平面図である。
図6の管継手の矢印VII-VII線断面図である。
上記管継手を示す断面図である。
【発明を実施するための形態】
(【0011】以降は省略されています)
この特許をJ-PlatPat(特許庁公式サイト)で参照する
関連特許
他の特許を見る