TOP
|
特許
|
意匠
|
商標
特許ウォッチ
Twitter
他の特許を見る
公開番号
2025181698
公報種別
公開特許公報(A)
公開日
2025-12-11
出願番号
2025082334
出願日
2025-05-16
発明の名称
導電性ペースト、電子部品、および積層セラミックコンデンサ
出願人
住友金属鉱山株式会社
代理人
弁理士法人貴和特許事務所
主分類
B22F
9/00 20060101AFI20251204BHJP(鋳造;粉末冶金)
要約
【課題】印刷性に優れた導電性ペースト、並びに、これを用いた電子部品および積層セラミックコンデンサを提供する。
【解決手段】導電性粉末、分散剤、バインダー樹脂、および有機溶剤を含み、前記分散剤は、分岐鎖を1つ以上有する分岐炭化水素基と、カルボキシ基(-COOH)とを有し、かつ、分子量が1000以下であるカルボン酸を含むカルボン酸系分散剤である、導電性ペースト。
【選択図】図1
特許請求の範囲
【請求項1】
導電性粉末、分散剤、バインダー樹脂、および有機溶剤を含み、前記分散剤は、分岐鎖を1つ以上有する分岐炭化水素基とカルボキシ基(-COOH)とを有し、かつ、分子量が1000以下であるカルボン酸を含むカルボン酸系分散剤である、導電性ペースト。
続きを表示(約 780 文字)
【請求項2】
前記分岐鎖は、前記カルボキシ基(-COOH)と結合した炭素原子を1位とした場合に、1位から3位のいずれかの炭素原子から分岐している、請求項1に記載の導電性ペースト。
【請求項3】
前記カルボン酸の炭素数が4以上50以下である、請求項1に記載の導電性ペースト。
【請求項4】
前記カルボン酸の分子量が80以上600以下である、請求項1に記載の導電性ペースト。
【請求項5】
前記分岐炭化水素基は、炭素数3以上35以下の分岐アルキル基または炭素数3以上30以下の分岐アルケニル基である、請求項4に記載の導電性ペースト。
【請求項6】
前記カルボン酸が、2-メチルペンタン酸、3-メチルペンタン酸、2,2-ジメチルペンタン酸、2-メチルヘキサン酸、5-メチルヘキサン酸、2-エチルヘキサン酸、2-プロピルペンタン酸、または2-ヘキサデシルオクタデカン酸の群から選択される少なくとも1種である、請求項5に記載の導電性ペースト。
【請求項7】
前記分散剤は、前記導電性粉末100質量部に対して、0.2質量部以上3質量部以下含有されている、請求項1に記載の導電性ペースト。
【請求項8】
前記導電性粉末は、Ni、Pd、Pt、Au、Ag、Cu、またはこれらの合金から選ばれる少なくとも1種の金属粉末を含む、請求項1に記載の導電性ペースト。
【請求項9】
前記導電性粉末は、平均粒径が0.05μm以上1.0μm以下である、請求項1に記載の導電性ペースト。
【請求項10】
誘電体粉末を含み、前記誘電体粉末は、ペロブスカイト型酸化物からなるセラミック粉末を含む、請求項1に記載の導電性ペースト。
(【請求項11】以降は省略されています)
発明の詳細な説明
【技術分野】
【0001】
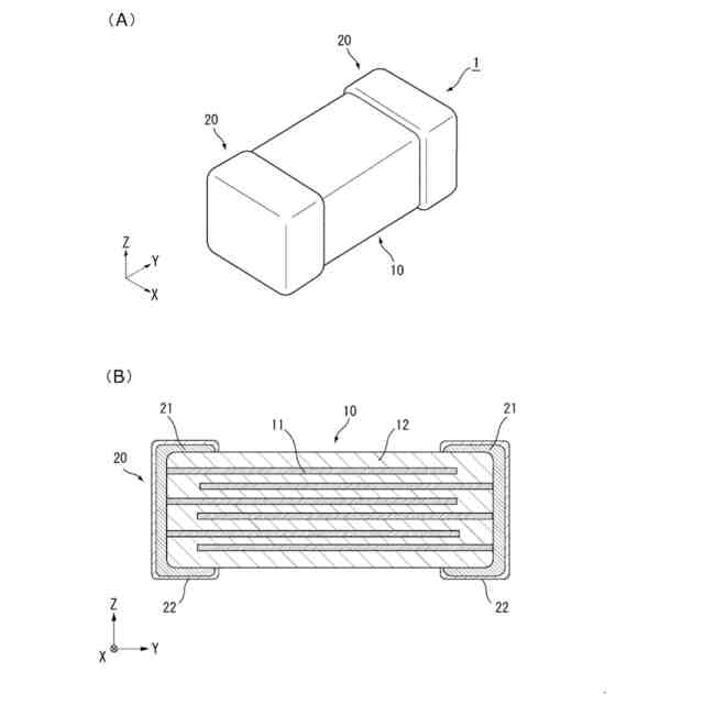
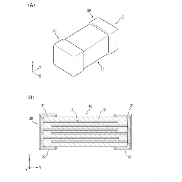
本開示は、内部電極を有する積層セラミックコンデンサおよびその他の電子部品、および、積層セラミックコンデンサや電子部品の内部電極を形成するために使用される導電性ペーストに関する。
続きを表示(約 1,600 文字)
【背景技術】
【0002】
携帯電話やデジタル機器などの電子機器の小型化および高性能化に伴い、積層セラミックコンデンサなどの電子部品についても小型化および高容量化が望まれている。電子部品のうち積層セラミックコンデンサは、複数の誘電体層と複数の内部電極層とが交互に積層した構造を有し、これらの誘電体層および内部電極層を薄膜化することにより、その小型化および高容量化を図ることができる。
【0003】
積層セラミックコンデンサは、一般的には次のように製造される。チタン酸バリウム(BaTiO
3
)などの誘電体粉末およびバインダー樹脂を用いて誘電体グリーンシートを形成する。誘電体グリーンシートの表面上に、内部電極用の導電性ペーストを所定の電極パターンで印刷し、さらに乾燥を施して、内部電極層となる乾燥膜を形成する。乾燥膜が形成された誘電体グリーンシートを多層に積み重ねて積層体を得て、この積層体を加熱圧着して一体化した後に、切断してチップを得る。該チップに対して、酸化性雰囲気または不活性雰囲気中で脱バインダー処理、および、還元雰囲気中で加熱焼成を行い、焼成チップを得る。最後に、焼成チップに対して、外部電極用ペーストを塗布および焼成し、得られた外部電極上にニッケルメッキなどを施すことにより、積層セラミックコンデンサを完成させる。
【0004】
一般的に、内部電極層の形成に用いられる導電性ペーストは、導電性粉末、誘電体粉末、バインダー樹脂、および有機溶剤を含む。また、導電性ペーストは、導電性粉末などの分散性を向上させるために分散剤を含むことがある。
【0005】
導電性ペーストには、経時的に粘度が増加しやすいという問題がある。このため、製造当初は、所望粘度で誘電体グリーンシート上に所定厚みの電極パターンを形成することができるが、時間経過とともに増粘していき、製造当初の印刷条件では既定の範囲内に厚みを維持できない場合がある。
【0006】
導電性ペーストの粘度特性を改善するための対策として、たとえば、特開2019-046581号公報には、分散剤として、分子量が5000以下であり、かつ、分岐鎖を1つ以上有する分岐炭化水素基を有する第1の酸系分散剤と、および、前記第1の酸系分散剤以外の第2の酸系分散剤とを含むことを特徴とする、導電性ペーストが記載されている。この導電性ペーストは、良好な粘度安定性と分散性を有するとされている。
【0007】
また、誘電体グリーンシートの薄膜化に伴い、導電性ペーストには、その塗布後の乾燥膜の表面平滑性を向上させることが要求されている。
【0008】
特開2020-017405号公報には、分散剤として、所定のアミノ酸系分散剤と所定のアミン系分散剤とを含有し、前記アミノ酸系分散剤と前記アミン系分散剤の配合比が質量比で、1/4以上1/2以下の範囲であり、前記アミノ酸系分散剤と前記アミン系分散剤との合計含有量が、導電性ペースト全体に対して、0.7質量%以上1.2質量%以下である、導電性ペーストが記載されている。この導電性ペーストは、その塗布後の乾燥膜において高い表面平滑性と高い密度が得られるとされている。
【先行技術文献】
【特許文献】
【0009】
特開2019-046581号公報
特開2020-017405号公報
【発明の概要】
【発明が解決しようとする課題】
【0010】
しかしながら、近年の内部電極層の薄膜化に伴う導電性粉末の小粒径化により、その粒子表面の比表面積が大きくなるため、導電性粉末(金属粉末)の表面活性が高くなり、分散性の低下や、粘度特性の低下が生じる場合がある。
(【0011】以降は省略されています)
この特許をJ-PlatPat(特許庁公式サイト)で参照する
関連特許
他の特許を見る