TOP
|
特許
|
意匠
|
商標
特許ウォッチ
Twitter
他の特許を見る
公開番号
2025181627
公報種別
公開特許公報(A)
公開日
2025-12-11
出願番号
2025005298
出願日
2025-01-15
発明の名称
通信装置、制御方法、及びプログラム
出願人
キヤノン株式会社
代理人
弁理士法人大塚国際特許事務所
主分類
H04W
74/0816 20240101AFI20251204BHJP(電気通信技術)
要約
【課題】複数のチャネルにより構成される通信リンクを用いる通信システムにおいて周波数リソースをより効率的に利用すること。
【解決手段】IEEE802.11規格シリーズに準拠した通信を行う通信装置は、送信権を取得するために用いられる第1のチャネルと、第1のチャネルとは異なる1つ以上の第2のチャネルとにより構成される1つの通信リンクにおいて、少なくとも第1のチャネルを用いる第1の通信方式と、第1のチャネルを用いることができない期間において第1のチャネルを用いずに1つ以上の第2のチャネルを用いる第2の通信方式とのいずれかを用いて通信を行うように構成され、送信対象のフレームについて、その送信対象のフレームが、他の通信装置からの別のフレームの受信を伴う制御通信における所定のフレームである場合に、その期間において送信対象のフレームを送信しないと決定する。
【選択図】 図5
特許請求の範囲
【請求項1】
IEEE802.11規格シリーズに準拠した通信を行う通信装置であって、
送信権を取得するために用いられる第1のチャネルと、前記第1のチャネルとは異なる1つ以上の第2のチャネルとにより構成される1つの通信リンクにおいて、少なくとも前記第1のチャネルを用いる第1の通信方式と、前記第1のチャネルを用いることができない期間において前記第1のチャネルを用いずに1つ以上の前記第2のチャネルを用いる第2の通信方式とのいずれかを用いて通信を行う通信手段を有し、
前記通信手段は、送信対象のフレームについて、当該送信対象のフレームが、他の通信装置からの別のフレームの受信を伴う制御通信における所定のフレームである場合に、前記期間において当該送信対象のフレームを送信しないと決定する、
ことを特徴とする通信装置。
続きを表示(約 1,100 文字)
【請求項2】
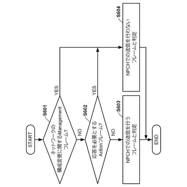
前記所定のフレームは、ネットワークの構成変更に関するManagementフレームを含む、ことを特徴とする請求項1に記載の通信装置。
【請求項3】
前記通信装置は、ステーションであり、
前記Managementフレームは、Probe Request、Association Request、Reassociation Request、Authentication Requestを含むことを特徴とする請求項2に記載の通信装置。
【請求項4】
前記通信装置は、アクセスポイントであり、
前記Managementフレームは、Probe Response、Association Response、Reassociation Response、Authentication Responseを含むことを特徴とする請求項2に記載の通信装置。
【請求項5】
前記所定のフレームは、前記他の通信装置からの応答を必要とするActionフレームを含む、ことを特徴とする請求項1に記載の通信装置。
【請求項6】
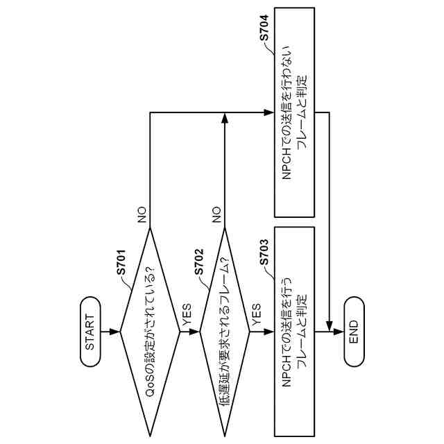
前記通信手段は、さらに、前記送信対象のフレームについて、当該フレームによって送信されるデータに関してQoS(Quality of Service)が設定されていない場合、前記期間において当該送信対象のフレームを送信しないと決定する、ことを特徴とする請求項1に記載の通信装置。
【請求項7】
前記通信手段は、前記送信対象のフレームが、低遅延が要求されるデータを含んだフレームである場合に、前記期間において当該送信対象のフレームを送信すると決定する、ことを特徴とする請求項1に記載の通信装置。
【請求項8】
前記通信手段は、前記送信対象のフレームのアクセスカテゴリがAC_VI又はAC_VOに設定されている場合に、前記低遅延が要求されるデータを含んだフレームとして、前記期間において当該送信対象のフレームを送信すると決定する、ことを特徴とする請求項7に記載の通信装置。
【請求項9】
前記通信手段は、前記送信対象のフレームに含まれるデータが所定のアプリケーションから出力されたデータである場合に、前記低遅延が要求されるデータを含んだフレームとして、前記期間において当該送信対象のフレームを送信すると決定する、ことを特徴とする請求項7に記載の通信装置。
【請求項10】
前記Managementフレームは、DeauthenticationとDisassociationを含む、ことを特徴とする請求項2に記載の通信装置。
(【請求項11】以降は省略されています)
発明の詳細な説明
【技術分野】
【0001】
本発明は、複数のチャネルにより構成される通信リンクを用いて通信可能な通信装置における通信制御技術に関する。
続きを表示(約 2,600 文字)
【背景技術】
【0002】
近年、通信されるデータ量の増加に伴い、無線LAN(Local Area Network)などの通信技術の開発が進められている。無線LANの主要な通信規格として、IEEE(Institute of Electrical and Electronic Engineers)802.11規格シリーズが知られている。IEEE802.11規格シリーズには、IEEE802.11a/b/g/n/ac/ax/be規格などが含まれる。さらなる通信の信頼性の向上のために、IEEE802.11be規格の後継規格として、IEEE802.11bn規格の開発が進んでいる。IEEE802.11bn規格を策定するIEEE802.11WG(Working Group)では、UHR SGにおいて、この規格の目標や検討範囲等が定められ、TGbnにおいて、この規格に含まれるべき詳細な技術の内容が規定される予定である。なお、UHR SGは、Ultra High Reliability Study Groupの略語である。また、TGbnは、Task Group bnの略語である。
【0003】
IEEE802.11bn規格に含められる技術の1つの候補として、複数のチャネルにより構成される通信リンクを用いた通信方法において周波数リソースを効率的に利用する技術が検討されている。例えば、特許文献1では、送信権を獲得するために用いられるPrimary Channelを使用することができない場合に、他のチャネルを使用して通信を行う技術が記載されている。
【先行技術文献】
【特許文献】
【0004】
米国特許第11696353号明細書
【発明の概要】
【発明が解決しようとする課題】
【0005】
本発明は、複数のチャネルにより構成される通信リンクを用いる通信システムにおいて周波数リソースをより効率的に利用可能とする技術を提供する。
【課題を解決するための手段】
【0006】
本発明の一態様による通信装置は、IEEE802.11規格シリーズに準拠した通信を行う通信装置であって、送信権を取得するために用いられる第1のチャネルと、前記第1のチャネルとは異なる1つ以上の第2のチャネルとにより構成される1つの通信リンクにおいて、少なくとも前記第1のチャネルを用いる第1の通信方式と、前記第1のチャネルを用いることができない期間において前記第1のチャネルを用いずに1つ以上の前記第2のチャネルを用いる第2の通信方式とのいずれかを用いて通信を行う通信手段を有し、前記通信手段は、送信対象のフレームについて、当該送信対象のフレームが、他の通信装置からの別のフレームの受信を伴う通信における所定のフレームである場合に、前記期間において当該送信対象のフレームを送信しないと決定する。
【発明の効果】
【0007】
本発明によれば、複数のチャネルにより構成される通信リンクを用いる通信システムにおいて周波数リソースをより効率的に利用することが可能となる。
【図面の簡単な説明】
【0008】
無線通信システムの構成例を示す図である。
通信装置がデータを送信する際のタイムチャートの一例を示す概略図である。
通信装置のハードウェア構成例を示す図である。
通信装置の機能構成例を示す図である。
フレームの送信可否を判定する処理の流れの例を示す図である。
フレームを送信するか否かを判定する処理の流れの例を示す図である。
フレームを送信するか否かを判定する処理の流れの別の例を示す図である。
【発明を実施するための形態】
【0009】
以下、添付図面を参照して実施形態を詳しく説明する。なお、以下の実施形態は特許請求の範囲に係る発明を限定するものではない。実施形態には複数の特徴が記載されているが、これらの複数の特徴の全てが発明に必須のものとは限らず、また、複数の特徴は任意に組み合わせられてもよい。さらに、添付図面においては、同一若しくは同様の構成に同一の参照番号を付し、重複した説明は省略する。
【0010】
(システム構成)
図1に、本実施形態(第一の実施形態)に係る無線通信システムの構成例を示す。無線通信システムは、例えば、アクセスポイント(AP101)とステーション(STA102)とを含む。AP101及びSTA102は、それぞれIEEE802.11規格シリーズに準拠した無線通信を実行可能な通信装置である。本実施形態において、AP101とSTA102を区別する必要がない場合に、これらを総称して通信装置と呼ぶことがある。IEEEは、Institute of Electrical and Electronics Engineersの略である。図1は、AP101が構築するネットワーク103に、STA102が参加する構成を示している。ネットワーク103は、Basic Service Set(BSS)とも呼ばれうる。なお、図1では、AP101により構成されていると共にSTA102が参加するネットワーク103の近傍に、AP111により構成されていると共にSTA112が参加するネットワーク113が存在している状態を示している。AP111及びSTA112は、AP101及びSTA102と同様にIEEE802.11規格シリーズに準拠した無線通信を実行可能な通信装置である。AP101及びSTA102にとって、ネットワーク103は、自装置が接続するBSSであり、以下では、このBSSを、自BSS又は単にBSSと呼ぶ。一方、AP101及びSTA102にとって、ネットワーク113は、自BSSに対する干渉を与えうるネットワークであり、Overlapping BSS(OBSS)と呼ばれうる。なお、図1では、ネットワーク103及びネットワーク113は、それぞれ1つのSTAのみが参加している状態が示されているが、当然に1つのネットワークに複数のSTAが参加しうる。また、1つのSTAが複数のネットワークに参加してもよい。
(【0011】以降は省略されています)
この特許をJ-PlatPat(特許庁公式サイト)で参照する
関連特許
他の特許を見る