TOP
|
特許
|
意匠
|
商標
特許ウォッチ
Twitter
他の特許を見る
公開番号
2025181593
公報種別
公開特許公報(A)
公開日
2025-12-11
出願番号
2024176093
出願日
2024-10-07
発明の名称
表皮材及び該表皮材によって覆われた乗物用シート
出願人
テイ・エス テック株式会社
代理人
個人
,
個人
主分類
D06N
7/00 20060101AFI20251204BHJP(繊維または類似のものの処理;洗濯;他に分類されない可とう性材料)
要約
【課題】ワディング材を被覆する裏面材と着座面表皮材の溶着箇所の剥離を抑制することができる表皮材及び該表皮材によって覆われた乗物用シートを提供する。
【解決手段】
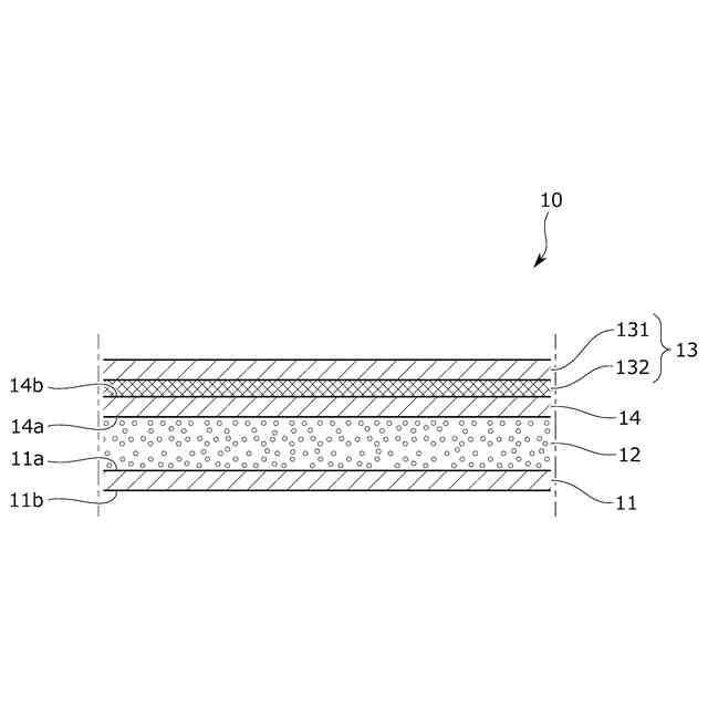
シート用表皮材10は、自動二輪車用シート1に用いられる。シート用表皮材10は、裏面材11と、裏面材11の上に配置されるワディング材12と、ワディング材12のさらに上に配置される着座面表皮材13と、ワディング材12と着座面表皮材13の間に配置される中間表皮材14と、を有し、裏面材11、着座面表皮材13、及び中間表皮材14は、互いに溶着し、中間表皮材14は、裏面材11及び着座面表皮材13と同一の素材を含んでいる。
【選択図】図3
特許請求の範囲
【請求項1】
乗物用シートに用いられる表皮材であって、
第一表皮材と、
前記第一表皮材に重ねて配置されるワディング材と、
前記ワディング材にさらに重ねて配置される第二表皮材と、
前記ワディング材と前記第二表皮材の間に配置される中間表皮材と、を有し、
前記第一表皮材、前記第二表皮材、及び前記中間表皮材は、互いに溶着し、
前記中間表皮材は、前記第一表皮材及び前記第二表皮材と同一の素材を含むことを特徴とする表皮材。
続きを表示(約 550 文字)
【請求項2】
前記第一表皮材は裏面材であり、
前記第二表皮材は着座面側に配置される表皮材であって、前記中間表皮材側に基布を有し、
前記基布は、厚み方向に貫通する貫通孔を有することを特徴とする請求項1に記載の表皮材。
【請求項3】
前記貫通孔は、網目状に形成されていることを特徴とする請求項2に記載の表皮材。
【請求項4】
前記第一表皮材、前記第二表皮材、及び前記中間表皮材は、ポリ塩化ビニル製であることを特徴とする請求項1に記載の表皮材。
【請求項5】
前記第一表皮材は、前記ワディング材と面接触する第一接触面と、該第一接触面と対向する第一対向面と、を有し、
前記第一接触面の表面粗さは、前記第一対向面の表面粗さより小さいことを特徴とする請求項1に記載の表皮材。
【請求項6】
前記中間表皮材は、前記ワディング材と面接触する中間接触面と、該中間接触面と対向する中間対向面と、を有し、
前記中間接触面の表面粗さは、前記中間対向面の表面粗さより小さいことを特徴とする請求項1に記載の表皮材。
【請求項7】
請求項1から請求項6のいずれか一項に記載の表皮材によって覆われた乗物用シート。
発明の詳細な説明
【技術分野】
【0001】
本発明は、表皮材及び該表皮材によって覆われた乗物用シートに係り、特に、溶着処理された表皮材及び該表皮材によって覆われた乗物用シートに関する。
続きを表示(約 2,000 文字)
【背景技術】
【0002】
従来、二輪自動車用の着座シートは、合成樹脂製のボトムプレートと、ボトムプレートを覆うシート用表皮材によって構成されている。シート用表皮材は、ボトムプレートに当接する裏面材と、着座面を覆う着座面表皮材と、裏面材材及び着座面表皮材によって被覆された発泡ポリウレタン製のワディング材と、が積層された構成を有している。また、着座面表皮材と裏面材は、ウェルダー加工と呼ばれる高周波溶着処理が施され、互いに溶着固定される。そのため、裏面材と着座面表皮材の内側でワディング材が横ズレすることを抑制し、もって着座性を向上することができるとともに、着座面表皮材に形成される溶着痕によって着座シートの意匠性の向上が図られている。
【0003】
特許文献1には、塩化ビニル製の裏面材及び着座面表皮材と、裏面材及び着座面表皮材によって被覆された発泡ポリウレタンと、から構成されるシート用カバーパッドが記載されている。裏面材及び着座面表皮材は、ウェルダー加工によって互いに高周波溶着されている。そのため、縫合によって両者を接合する場合と比べて、着座面表皮材及び裏面材の内側に水が浸入することを抑制することができ、着座シートの耐水性及び耐候性を向上することができる。
【先行技術文献】
【特許文献】
【0004】
特開昭56-25677号公報
【発明の概要】
【発明が解決しようとする課題】
【0005】
特許文献1に記載された技術によって、着座シートの耐水性及び耐候性を向上することができるものの、更なる改善が求められていた。具体的に説明すると、裏面材及び着座面表皮材は塩化ビニル製のシート材から構成されているため、経年劣化によって溶着箇所が剥離する虞があった。このような場合、ワディング材が裏面材又は着座面表皮材に対して横ずれし、着座性が低下する。また、ワディング材と裏面材又は着座面表皮材の間の摩擦によってワディング材の表面(摩擦面)が摩耗する可能性があった。
【0006】
本発明は、上記の課題に鑑みてなされたものであり、その目的は、ワディング材を被覆する裏面材と着座面表皮材の溶着箇所の剥離を抑制することができる表皮材及び該表皮材によって覆われた乗物用シートを提供することにある。
また、本発明の他の目的は、ワディング材の表面が摩耗することを抑制することができる表皮材及び該表皮材によって覆われた乗物用シートを提供することにある。
【課題を解決するための手段】
【0007】
前記課題は、本発明の表皮材によれば、乗物用シートに用いられる表皮材であって、第一表皮材と、前記第一表皮材に重ねて配置されるワディング材と、前記ワディング材にさらに重ねて配置される第二表皮材と、前記ワディング材と前記第二表皮材の間に配置される中間表皮材と、を有し、前記第一表皮材、前記第二表皮材、及び前記中間表皮材は、互いに溶着し、前記中間表皮材は、前記第一表皮材及び前記第二表皮材と同一の素材を含むことにより解決される。
【0008】
上記構成によれば、第一表皮材(裏面材)と第二表皮材(着座面表皮材)の間に中間表皮材が介在し、中間表皮材は、裏面材、着座面表皮材と同一の素材を含んでいる。そのため、裏面材と着座面表皮材は、中間表皮材を介してより強固に溶着する。これにより、裏面材と着座面表皮材の溶着箇所の剥離を抑制することが可能となる。
また、ワディング材と着座面表皮材の間に中間表皮材が介在しているため、ワディング材の表面を中間表皮材が覆うことによりワディング材を摩耗から保護することができる。これにより、クッション材の表面(裏面材又は着座面表皮材と接触する面)が摩耗することを抑制することが可能となる。
【0009】
また、前記第一表皮材は裏面材であり、前記第二表皮材は着座面側に配置される表皮材であって、前記中間表皮材側に基布を有し、前記基布は、厚み方向に貫通する貫通孔を有するとよい。
上記構成によれば、第二表皮材(着座面表皮材)とワディング材の間に位置する基布に貫通孔が形成されているため、着座面表皮材は、貫通孔を貫通して中間表皮材及び裏面材と強固に溶着する。これにより、着座面表皮材の強度を確保しつつ、裏面材と着座面表皮材の溶着箇所の剥離を抑制することが可能となる。
【0010】
また、前記貫通孔は、網目状に形成されているとよい。
上記構成によれば、着座面表皮材とワディング材の間に位置する基布に網目状に貫通孔が形成されている。そのため、着座面表皮材は、貫通孔を貫通して中間表皮材及び裏面材と均一に溶着する。これにより、裏面材と着座面表皮材の溶着箇所の剥離を効果的に抑制することが可能となる。
(【0011】以降は省略されています)
この特許をJ-PlatPat(特許庁公式サイト)で参照する
関連特許
他の特許を見る