TOP
|
特許
|
意匠
|
商標
特許ウォッチ
Twitter
他の特許を見る
10個以上の画像は省略されています。
公開番号
2025181584
公報種別
公開特許公報(A)
公開日
2025-12-11
出願番号
2024153434
出願日
2024-09-05
発明の名称
プラズマ処理装置及びプラズマ処理装置の制御方法
出願人
東京エレクトロン株式会社
代理人
弁理士法人ITOH
主分類
H01L
21/3065 20060101AFI20251204BHJP(基本的電気素子)
要約
【課題】環状部材に付着する堆積物を好適に除去することができるプラズマ処理装置及びプラズマ処理装置の制御方法を提供する。
【解決手段】プラズマ処理チャンバと、前記プラズマ処理チャンバ内に設けられ、基板を支持する基板支持部と、前記基板支持部に支持された基板を囲むように配置される環状部材と、前記環状部材を昇降可能なリフタと、前記プラズマ処理チャンバ内にガスを導入するガス導入部と、前記プラズマ処理チャンバ内にプラズマを生成するプラズマ生成部と、制御部と、を備え、前記制御部は、前記リフタを制御して前記環状部材を上昇させ、前記制御部は、前記環状部材が上昇した状態で、前記プラズマ生成部を制御して第1のクリーニングガスのプラズマを生成し、前記環状部材の下面と前記環状部材の載置面とをクリーニングするように構成される、プラズマ処理装置。
【選択図】図6
特許請求の範囲
【請求項1】
プラズマ処理チャンバと、
前記プラズマ処理チャンバ内に設けられ、基板を支持する基板支持部と、
前記基板支持部に支持された基板を囲むように配置される環状部材と、
前記環状部材を昇降可能なリフタと、
前記プラズマ処理チャンバ内にガスを導入するガス導入部と、
前記プラズマ処理チャンバ内にプラズマを生成するプラズマ生成部と、
制御部と、を備え、
前記制御部は、前記リフタを制御して前記環状部材を上昇させ、
前記制御部は、前記環状部材が上昇した状態で、前記プラズマ生成部を制御して第1のクリーニングガスのプラズマを生成し、前記環状部材の下面と前記環状部材の載置面とをクリーニングするように構成される、
プラズマ処理装置。
続きを表示(約 1,500 文字)
【請求項2】
前記制御部は、前記リフタを制御して前記環状部材を下降させ、
前記制御部は、前記環状部材が下降した状態で、前記プラズマ生成部を制御して第2のクリーニングガスのプラズマを生成し、前記環状部材の上面をクリーニングするように構成される、
請求項1に記載のプラズマ処理装置。
【請求項3】
前記環状部材は、第1環状部材と、第2環状部材と、を有し、
前記第1環状部材は、前記第2環状部材の上に設けられ、
前記リフタは、前記第1環状部材を支持する支持ピンと、前記支持ピンを昇降させるアクチュエータと、を有し、
前記制御部は、前記リフタを制御して前記第1環状部材を前記第2環状部材から上昇させ、
前記制御部は、前記第1環状部材が前記第2環状部材から上昇した状態で、前記プラズマ生成部を制御して前記第1のクリーニングガスのプラズマを生成し、前記第1環状部材の下面と前記第2環状部材の上面とをクリーニングし、
前記制御部は、前記リフタを制御して前記第1環状部材を前記第2環状部材に向けて下降させ、
前記制御部は、前記第1環状部材が前記第2環状部材に向けて下降した状態で、前記プラズマ生成部を制御して前記第2のクリーニングガスのプラズマを生成し、前記第1環状部材の上面をクリーニングするように構成される、
請求項2に記載のプラズマ処理装置。
【請求項4】
前記第1環状部材が前記第2環状部材から上昇した状態は、前記第1環状部材の下面が前記プラズマ処理チャンバの天板側のシースよりも上方外側に配置される、
請求項3に記載のプラズマ処理装置。
【請求項5】
前記プラズマ処理チャンバの天板に電力を供給する直流生成部をさらに備え、
前記第1環状部材の下面と前記第2環状部材の上面とのクリーニングにおいて、前記直流生成部から前記天板に電力を供給する、
請求項4に記載のプラズマ処理装置。
【請求項6】
前記第1環状部材が前記第2環状部材に向けて下降した状態は、前記第1環状部材の上面が前記基板支持部側のシースよりも下方外側に配置される、
請求項3乃至請求項5のいずれか1項に記載のプラズマ処理装置。
【請求項7】
前記基板支持部にバイアス電力を供給するバイアス電力生成部をさらに備え、
前記第1環状部材の下面と前記第2環状部材の上面とのクリーニング及び/又は前記第1環状部材の上面のクリーニングにおいて、前記バイアス電力生成部から前記基板支持部にバイアス電力を供給する、
請求項6に記載のプラズマ処理装置。
【請求項8】
前記制御部は、
前記第1環状部材の下面と前記第2環状部材の上面とをクリーニングした後に前記プラズマ生成部を制御して、前記第1環状部材の上面をクリーニングするように構成される、
請求項3に記載のプラズマ処理装置。
【請求項9】
前記制御部は、
前記第1環状部材の上面のクリーニング後に前記プラズマ生成部を制御して、前記第1環状部材の下面と前記第2環状部材の上面とをクリーニングするように構成される、
請求項3に記載のプラズマ処理装置。
【請求項10】
前記制御部は、
前記環状部材のクリーニング後に前記リフタを制御して、前記アクチュエータのトルクに基づいて前記第1環状部材の消耗量を検出するように構成される、
請求項3に記載のプラズマ処理装置。
(【請求項11】以降は省略されています)
発明の詳細な説明
【技術分野】
【0001】
本開示は、プラズマ処理装置及びプラズマ処理装置の制御方法に関する。
続きを表示(約 2,200 文字)
【背景技術】
【0002】
特許文献1には、フォーカスリングが第1環状部材と第2環状部材とを有し、第2環状部材を上昇させることでシースを調整するプラズマ処理装置が開示されている。
【先行技術文献】
【特許文献】
【0003】
特開2020-113753号公報
【発明の概要】
【発明が解決しようとする課題】
【0004】
一の側面では、本開示は、環状部材に付着する堆積物を好適に除去することができるプラズマ処理装置及びプラズマ処理装置の制御方法を提供する。
【課題を解決するための手段】
【0005】
上記課題を解決するために、一の態様によれば、プラズマ処理チャンバと、前記プラズマ処理チャンバ内に設けられ、基板を支持する基板支持部と、前記基板支持部に支持された基板を囲むように配置される環状部材と、前記環状部材を昇降可能なリフタと、前記プラズマ処理チャンバ内にガスを導入するガス導入部と、前記プラズマ処理チャンバ内にプラズマを生成するプラズマ生成部と、制御部と、を備え、前記制御部は、前記リフタを制御して前記環状部材を上昇させ、前記制御部は、前記環状部材が上昇した状態で、前記プラズマ生成部を制御して第1のクリーニングガスのプラズマを生成し、前記環状部材の下面と前記環状部材の載置面とをクリーニングするように構成される、プラズマ処理装置が提供される。
【発明の効果】
【0006】
一の側面によれば、本開示は、環状部材に付着する堆積物を好適に除去することができるプラズマ処理装置及びプラズマ処理装置の制御方法を提供することができる。
【図面の簡単な説明】
【0007】
容量結合型のプラズマ処理装置の構成例を説明するための図の一例。
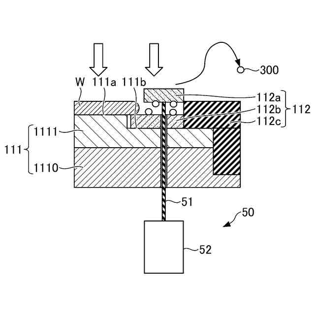
第1実施形態に係るリングアセンブリの動作の一例を示す部分拡大断面図。
第2実施形態に係るリングアセンブリの動作の一例を示す部分拡大断面図。
基板処理時のプラズマ処理装置を示す部分拡大断面図の一例である。
参考例に係るクリーニング処理を説明するプラズマ処理装置の部分拡大断面図の一例。
クリーニング処理を説明するフローチャートの一例。
ステップS103におけるプラズマ処理装置の部分拡大断面図の一例。
第1環状部材の消耗補完を説明するフローチャートの一例。
第1環状部材を駆動する際のトルクの変化を示すグラフの一例。
第3実施形態に係るリングアセンブリの基板処理時における動作の一例を示す部分拡大断面図。
第3実施形態に係るリングアセンブリのクリーニング処理時における動作の一例を示す部分拡大断面図。
第4実施形態に係るリングアセンブリのクリーニング処理時における動作の一例を示す部分拡大断面図。
第5実施形態に係るリングアセンブリの基板処理時における動作の一例を示す部分拡大断面図。
第5実施形態に係るリングアセンブリのクリーニング処理時における動作の一例を示す部分拡大断面図。
第5実施形態に係るリングアセンブリを有する基板支持部におけるピンの配置の一例を説明する平面図。
【発明を実施するための形態】
【0008】
以下、図面を参照して本開示を実施するための形態について説明する。各図面において、同一構成部分には同一符号を付し、重複した説明を省略する場合がある。
【0009】
[プラズマ処理システム]
以下に、プラズマ処理システムの構成例について説明する。図1は、容量結合型のプラズマ処理装置(基板処理装置)1の構成例を説明するための図の一例である。
【0010】
プラズマ処理システムは、容量結合型のプラズマ処理装置1及び制御部2を含む。容量結合型のプラズマ処理装置1は、プラズマ処理チャンバ10、ガス供給部20、電源システム30、排気システム40及びリフタ50(後述する図2,3等参照)を含む。また、プラズマ処理装置1は、基板支持部11及びガス導入部を含む。ガス導入部は、少なくとも1つの処理ガスをプラズマ処理チャンバ10内に導入するように構成される。ガス導入部は、シャワーヘッド13を含む。基板支持部11は、プラズマ処理チャンバ10内に配置される。シャワーヘッド13は、基板支持部11の上方に配置される。一実施形態において、シャワーヘッド13は、プラズマ処理チャンバ10の天部(ceiling)の少なくとも一部を構成する。プラズマ処理チャンバ10は、シャワーヘッド13、プラズマ処理チャンバ10の側壁10a及び基板支持部11により規定されたプラズマ処理空間10sを有する。プラズマ処理チャンバ10は、少なくとも1つの処理ガスをプラズマ処理空間10sに供給するための少なくとも1つのガス供給口と、プラズマ処理空間10sからガスを排出するための少なくとも1つのガス排出口とを有する。プラズマ処理チャンバ10は接地される。シャワーヘッド13及び基板支持部11は、プラズマ処理チャンバ10の筐体とは電気的に絶縁される。
(【0011】以降は省略されています)
この特許をJ-PlatPat(特許庁公式サイト)で参照する
関連特許
他の特許を見る