TOP
|
特許
|
意匠
|
商標
特許ウォッチ
Twitter
他の特許を見る
公開番号
2025181578
公報種別
公開特許公報(A)
公開日
2025-12-11
出願番号
2024133323,2024088133
出願日
2024-08-08,2024-05-30
発明の名称
情報中継装置、情報中継方法、及び、情報中継プログラム
出願人
フリー株式会社
代理人
個人
主分類
G06Q
10/06 20230101AFI20251204BHJP(計算;計数)
要約
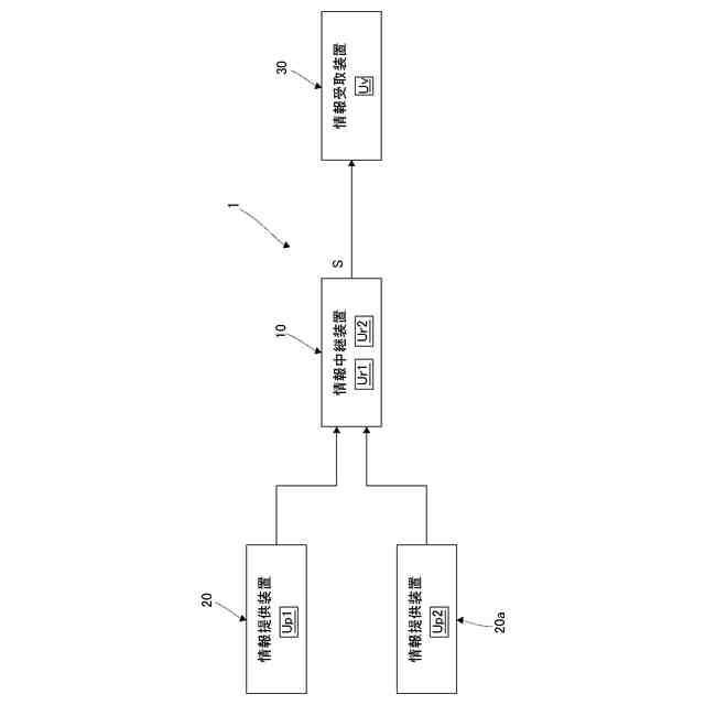
【課題】 より少ない金銭的コストと時間的コストで、情報提供装置から提供されたユーザ情報を中継して情報受取装置に渡すように連携させる。
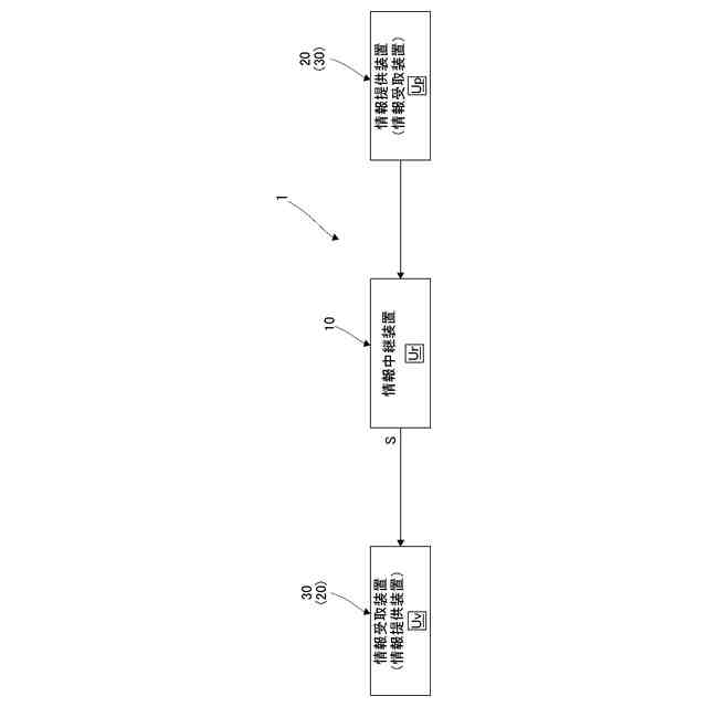
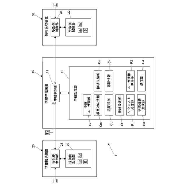
【解決手段】 情報中継装置10は、中継記憶部12、ユーザ情報取得部P2、送信情報生成部P3、及び、送信部P4を有する。中継記憶部12は、提供元ユーザ情報Upを提供する情報提供装置20にアクセスするための認証情報Crを記憶する。ユーザ情報取得部P2は、認証情報Crによって認証を受けて情報提供装置20にアクセスし、情報提供装置20から提供元ユーザ情報Upを取得し、提供元ユーザ情報Upに基づく中継ユーザ情報Urを中継記憶部12に記憶させる。送信情報生成部P3は、中継ユーザ情報Urに基づいて、所定形式を有する送信情報Sを生成する。送信部P4は、送信情報Sを情報受取装置30に送信する。
【選択図】図3
特許請求の範囲
【請求項1】
提供元ユーザ情報を提供する情報提供装置にアクセスするための認証情報を記憶する中継記憶部と、
前記認証情報によって認証を受けて前記情報提供装置にアクセスし、前記情報提供装置から前記提供元ユーザ情報を取得し、前記提供元ユーザ情報に基づく中継ユーザ情報を前記中継記憶部に記憶させるユーザ情報取得部と、
前記中継ユーザ情報に基づいて、所定形式を有する送信情報を生成する送信情報生成部と、
前記送信情報を情報受取装置に送信する送信部と、
を有する情報中継装置。
続きを表示(約 1,500 文字)
【請求項2】
前記所定形式は、SCIMに準拠したJSON形式である、請求項1に記載の情報中継装置。
【請求項3】
前記中継記憶部は、前記中継ユーザ情報を記憶し、
前記送信情報生成部は、前記中継記憶部に記憶された前記中継ユーザ情報に基づいて、前記送信情報を生成する、
請求項1に記載の情報中継装置。
【請求項4】
前記ユーザ情報取得部が、前記情報提供装置から前記提供元ユーザ情報を取得し、前記提供元ユーザ情報に基づく前記中継ユーザ情報を取得すると、前記送信情報生成部が、前記中継ユーザ情報に基づいて、前記所定形式の前記送信情報を生成し、前記送信部が前記送信情報を前記情報受取装置に送信する、請求項1に記載の情報中継装置。
【請求項5】
リクエスト受信部を有し、
前記リクエスト受信部は、前記情報受取装置から情報提供リクエストを受信し、
前記ユーザ情報取得部は、前記情報提供リクエストの受信に応じ、前記情報提供装置から前記提供元ユーザ情報を取得し、前記提供元ユーザ情報に基づく前記中継ユーザ情報を前記中継記憶部に記憶させ、
前記送信情報生成部は、前記中継ユーザ情報に基づいて、前記所定形式の前記送信情報を生成し、
前記送信部は、前記送信情報を前記情報受取装置に送信する、
請求項1に記載の情報中継装置。
【請求項6】
前記認証情報は、HTTP認証に用いられる情報である、請求項1に記載の情報中継装置。
【請求項7】
前記情報提供装置は、第1の情報提供装置と第2の情報提供装置を有し、
前記ユーザ情報取得部は、前記第1の情報提供装置から取得した第1の提供元ユーザ情報に基づく第1の中継ユーザ情報と、前記第2の情報提供装置から取得した第2の提供元ユーザ情報に基づく第2の中継ユーザ情報とを前記中継記憶部に記憶させ、
前記送信情報生成部は、前記第1の中継ユーザ情報に不足項目があるとき、前記第2の中継ユーザ情報から前記不足項目を取得し、前記送信情報を生成する、
請求項1に記載の情報中継装置。
【請求項8】
前記中継ユーザ情報は、組織における人事に関する情報である、請求項1に記載の情報中継装置。
【請求項9】
ユーザ情報取得部により、提供元ユーザ情報を提供する情報提供装置にアクセスするための中継記憶部に記憶された認証情報によって認証を受けて前記情報提供装置にアクセスし、前記情報提供装置から前記提供元ユーザ情報を取得し、前記提供元ユーザ情報に基づく中継ユーザ情報を前記中継記憶部に記憶させ、
送信情報生成部により、前記中継ユーザ情報に基づいて、所定形式を有する送信情報を生成し、
送信部により、前記送信情報を情報受取装置に送信する、
を有する情報中継方法。
【請求項10】
提供元ユーザ情報を提供する情報提供装置にアクセスするための中継記憶部に記憶された認証情報によって認証を受けて前記情報提供装置にアクセスし、前記情報提供装置から前記提供元ユーザ情報を取得し、前記提供元ユーザ情報に基づく中継ユーザ情報を前記中継記憶部に記憶させるユーザ情報取得部のコードと、
前記中継ユーザ情報に基づいて、所定形式を有する送信情報を生成する送信情報生成部のコードと、
前記送信情報を情報受取装置に送信する送信部のコードと、
をコンピュータに実行させる情報中継プログラム。
発明の詳細な説明
【技術分野】
【0001】
本発明は、情報中継装置、情報中継方法、及び、情報中継プログラムに関する。
続きを表示(約 2,000 文字)
【背景技術】
【0002】
従来、企業等の組織の業務を効率化できるように、記憶装置に記憶された人事情報等のユーザ情報を活用して各種のサービスを提供する業務システムがある。
【0003】
例えば、特開2021-5310号公報には、第1のユーザ又は第2のユーザの装置が保持する表計算ソフトに入力され、入力された情報は、ユーザの操作に応じて当該表計算ソフトが実行するスクリプトによって人事評価支援装置に送信され、出力制御部は、複数の第1のユーザの評価に関する情報を一覧表示する集計用一覧表を第2のユーザの装置に出力し、第1のユーザの評価に関する情報を表計算ソフトの所定の表示位置にマッピングして表示させ、データ登録部は、第2のユーザが表計算ソフトを介して入力する複数の第1のユーザの評価を表す情報をまとめて取得し、記憶装置に登録する人事評価支援装置が開示される。
【0004】
近年、業務システムは、クラウド上に設けられたサーバからSaaS(Software as a Service)としてサービス提供されるものが現れ、より手軽に、組織が業務や部門等に応じた業務システムを複数導入することができるようになりつつある。
【先行技術文献】
【特許文献】
【0005】
特開2021-5310号公報
【発明の概要】
【発明が解決しようとする課題】
【0006】
しかしながら、組織において、従業員等のユーザ情報を用いる複数の業務システムを導入した場合、一方の業務システムにおいてユーザ情報が変更され、他方の業務システムにおいてユーザ情報が変更されていない等、ユーザ情報が最新状態に保たれていない状態になると、業務システムに正しい処理結果を期待できなくなる。業務システムの各々のユーザ情報を最新状態に保つためには、手作業で管理する他、外部接続するためのAPI(application programming interface)等を利用し、業務システム同士を接続してユーザ情報の連携を行う方法が考えられるものの、APIは、業務システムに合わせて開発された独自の仕様を有することがあり、実際にAPIを利用するためには、ユーザ情報にアクセスするための機能を個別に開発しなければならず、多くの金銭的コストと時間的コストがかかる。
【0007】
そこで、本発明の実施形態は、より少ない金銭的コストと時間的コストで、情報提供装置から提供されたユーザ情報を中継して情報受取装置に渡すように連携させることができる、情報中継装置、情報中継方法、及び、情報中継プログラムを提供することを目的とする。
【課題を解決するための手段】
【0008】
実施形態に係る情報中継装置は、中継記憶部、ユーザ情報取得部、送信情報生成部、及び、送信部を有する。前記中継記憶部は、提供元ユーザ情報を提供する情報提供装置にアクセスするための認証情報を記憶する。前記ユーザ情報取得部は、前記認証情報によって認証を受けて前記情報提供装置にアクセスし、前記情報提供装置から前記提供元ユーザ情報を取得し、前記提供元ユーザ情報に基づく中継ユーザ情報を前記中継記憶部に記憶させる。前記送信情報生成部は、前記中継ユーザ情報に基づいて、所定形式を有する送信情報を生成する。前記送信部は、前記送信情報を情報受取装置に送信する。
【0009】
実施形態に係る情報中継方法は、ユーザ情報取得部により、提供元ユーザ情報を提供する情報提供装置にアクセスするための中継記憶部に記憶された認証情報によって認証を受けて前記情報提供装置にアクセスし、前記情報提供装置から前記提供元ユーザ情報を取得し、前記提供元ユーザ情報に基づく中継ユーザ情報を前記中継記憶部に記憶させ、送信情報生成部により、前記中継ユーザ情報に基づいて、所定形式を有する送信情報を生成し、送信部により、前記送信情報を情報受取装置に送信する。
【0010】
実施形態に係る情報中継プログラムは、ユーザ情報取得部のコード、送信情報生成部のコード、及び、送信部のコードを有する。前記ユーザ情報取得部のコードは、提供元ユーザ情報を提供する情報提供装置にアクセスするための中継記憶部に記憶された認証情報によって認証を受けて前記情報提供装置にアクセスし、前記情報提供装置から前記提供元ユーザ情報を取得し、前記提供元ユーザ情報に基づく中継ユーザ情報を前記中継記憶部に記憶させる。前記送信情報生成部のコードは、前記中継ユーザ情報に基づいて、所定形式を有する送信情報を生成する。前記送信部のコードは、前記送信情報を情報受取装置に送信する。
【発明の効果】
(【0011】以降は省略されています)
この特許をJ-PlatPat(特許庁公式サイト)で参照する
関連特許
他の特許を見る