TOP
|
特許
|
意匠
|
商標
特許ウォッチ
Twitter
他の特許を見る
10個以上の画像は省略されています。
公開番号
2025181576
公報種別
公開特許公報(A)
公開日
2025-12-11
出願番号
2024129869,2024088798
出願日
2024-08-06,2024-05-31
発明の名称
地車のブレーキシステム
出願人
株式会社井上工務店
代理人
個人
主分類
F16D
55/225 20060101AFI20251204BHJP(機械要素または単位;機械または装置の効果的機能を生じ維持するための一般的手段)
要約
【課題】メンテナンスが容易な地車のブレーキシステムを提供する。
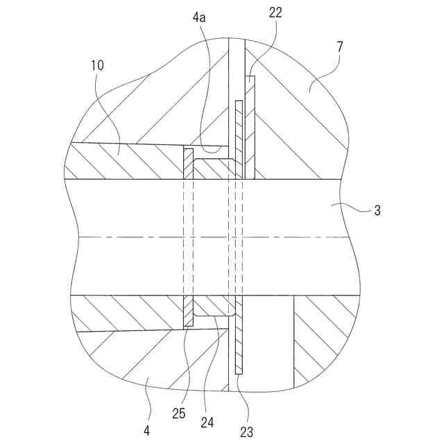
【解決手段】地車本体に車軸3が着脱自在に取り付けられ、車軸3に車輪4が回転自在に支持されている、地車におけるブレーキシステムであって、ディスクブレーキ装置を備え、ディスクブレーキ装置は、車輪4と一体に回転するブレーキロータ30と、ブレーキロータ30を制動するキャリパ31と、を備え、ブレーキロータ30は、車輪4と共に車軸3に対して軸方向に所定範囲内で移動可能に設けられ、ディスクブレーキ装置は、ブレーキロータ30の軸方向の移動にキャリパ31を追従させる追従機構部を備えている。
【選択図】図4
特許請求の範囲
【請求項1】
地車本体に車軸が着脱自在に取り付けられ、車軸に車輪が回転自在に支持されている、地車におけるブレーキシステムであって、
ディスクブレーキ装置を備え、
ディスクブレーキ装置は、
車輪と一体に回転するブレーキロータと、
ブレーキロータを制動するキャリパと、
を備える、地車のブレーキシステム。
続きを表示(約 1,400 文字)
【請求項2】
ブレーキロータと車輪は、車軸に対して軸方向に所定範囲内で移動可能に設けられ、
ディスクブレーキ装置は、ブレーキロータの軸方向の移動にキャリパを追従させる追従機構部を備えている、請求項1記載の地車のブレーキシステム。
【請求項3】
追従機構部は、車輪に取り付けられると共に車軸に回転自在に支持されるベース筒と、ベース筒を径方向外側から回転自在に支持すると共にベース筒と一体的に軸方向に移動可能なキャリパベースと、を備え、
ベース筒にブレーキロータが取り付けられ、
キャリパベースにキャリパが取り付けられている、請求項2記載の地車のブレーキシステム。
【請求項4】
追従機構部は、地車本体に取り付けられ、キャリパベースの軸方向の移動を案内するベースガイドを備えている、請求項3記載の地車のブレーキシステム。
【請求項5】
車軸は、車輪が取り付けられた状態で地車本体から取り外される構成であり、
キャリパベースは、互いに連結及び分離可能な保持ベースと取付ベースとを備え、保持ベースは、ベース筒を径方向外側から回転可能に支持するようにベース筒に取り付けられ、取付ベースは、地車本体に軸方向に移動可能に取り付けられ、取付ベースにキャリパが取り付けられている、請求項3又は4記載の地車のブレーキシステム。
【請求項6】
車軸は、車輪が取り付けられた状態で地車本体から取り外される構成であり、
ディスクブレーキ装置は、キャリパが取り付けられる取付ベースを備え、
取付ベースは、キャリパがブレーキロータを制動するブレーキ位置と、キャリパがブレーキロータに対して径方向外側に離反した位置であって且つ車軸の取り外しの妨げにならない位置である退避位置との間を移動可能に、地車本体に取り付けられている、請求項1記載の地車のブレーキシステム。
【請求項7】
車軸は、地車本体から下方に取り外される構成であり、
取付ベースは、車軸と平行な軸線まわりに上下に回動可能に設けられ、ブレーキ位置から上方に回動して退避位置となる、請求項6記載の地車のブレーキシステム。
【請求項8】
ディスクブレーキ装置は、車軸に取り付けられる保持ベースを備え、取付ベースは、保持ベースに連結及び分離可能に設けられ、取付ベースを保持ベースに連結すると、取付ベースはブレーキ位置に保持され、取付ベースを保持ベースから分離すると、取付ベースはブレーキ位置と退避位置との間を移動可能となる、請求項6又は7記載の地車のブレーキシステム。
【請求項9】
ディスクブレーキ装置は、取付ベースのブレーキ位置を越える車軸側への移動を所定以内に規制する規制部を備えている、請求項8記載の地車のブレーキシステム。
【請求項10】
取付ベースは、規制部に当接可能な当接部を備え、当接部が規制部に当接することにより取付ベースのブレーキ位置を越える車軸側への移動が規制され、
当接部が規制部に当接した際に、ブレーキロータの外周面と、ブレーキロータの外周面に対して径方向外側に対向するキャリパの径方向対向面との間には、隙間が確保される、請求項9記載の地車のブレーキシステム。
発明の詳細な説明
【技術分野】
【0001】
本発明は、だんじり、山車、鉾、屋台等の地車に使用されるブレーキシステムに関する。
続きを表示(約 2,300 文字)
【背景技術】
【0002】
だんじりには下記特許文献1記載のようなドラム式のブレーキが用いられている。ドラム式のブレーキにおいては、車輪に取り付けられたブレーキドラムの外周面にブレーキバンドが巻き付けられている。そして、ブレーキバンドでブレーキドラムを締め付けることで、ブレーキドラムを制動することができる。しかしながら、ブレーキバンドとブレーキドラムの当たり具合を微調整することが難しい。即ち、安定した制動力を確保するためのバンド調整が容易ではない。また、摩擦抵抗の大きいブレーキバンドを使用すると、制動力は大きくなるものの、だんじりの走行中にブレーキバンドがバタバタという異音を発しやすくなるという問題があって、走行中に異音が発生しないようにバンド調整をすることが難しい。更には、ブレーキバンドは劣化しやすく、劣化が進むことでバンド調整が更に困難となる。
【先行技術文献】
【特許文献】
【0003】
特開平11-148520号公報
【発明の概要】
【発明が解決しようとする課題】
【0004】
本発明は、メンテナンスが容易な地車のブレーキシステムを提供することを課題とする。
【課題を解決するための手段】
【0005】
本発明に係る地車のブレーキシステムは、地車本体に車軸が着脱自在に取り付けられ、車軸に車輪が回転自在に支持されている、地車におけるブレーキシステムであって、ディスクブレーキ装置を備え、ディスクブレーキ装置は、車輪と一体に回転するブレーキロータと、ブレーキロータを制動するキャリパと、を備える。
【0006】
この構成によれば、ブレーキロータとキャリパとを有するディスクブレーキ装置を備えている。そのため、従来のようなバンド調整が不要であって、メンテナンスも容易であり、安定した制動力を容易に得ることができる。
【0007】
特に、ブレーキロータと車輪は、車軸に対して軸方向に所定範囲内で移動可能に設けられ、ディスクブレーキ装置は、ブレーキロータの軸方向の移動にキャリパを追従させる追従機構部を備えていることが好ましい。この構成によれば、ブレーキロータと車輪が車軸に対して軸方向に所定範囲内で移動可能となっている。そのため、地車本体や車輪が例えば木製で構成されていても、ブレーキロータと車輪が軸方向に微動することで地車本体や車輪の走行中の歪み等を容易に吸収することができる。一方、ブレーキロータの軸方向の移動に対してキャリパが追従して軸方向に移動するので、ブレーキロータとキャリパとの間の軸方向の位置関係が保たれる。そのため、地車の走行時にブレーキロータが車軸と共に軸方向に移動しても、キャリパがブレーキロータを軸方向に確実に挟持することができ、ブレーキロータに所定の制動力を確実に付与することができる。
【0008】
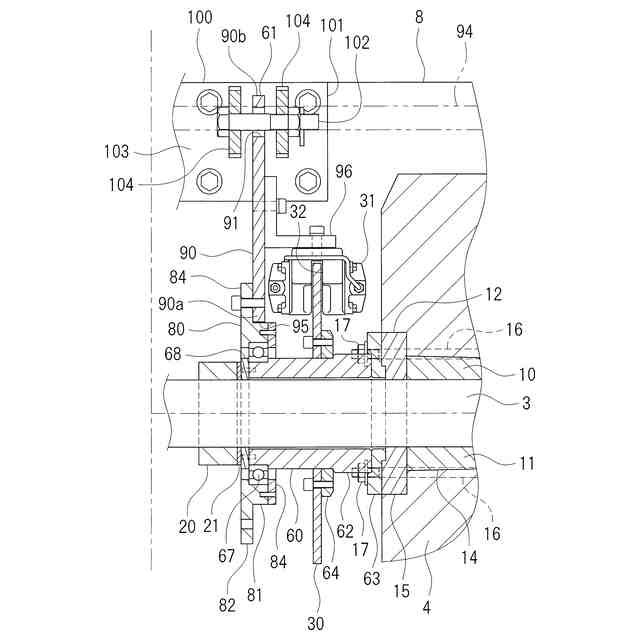
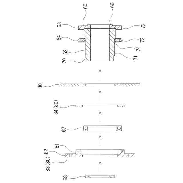
更に、追従機構部は、車輪に取り付けられると共に車軸に回転自在に支持されるベース筒と、ベース筒を径方向外側から回転自在に支持すると共にベース筒と一体的に軸方向に移動可能なキャリパベースと、を備え、ベース筒にブレーキロータが取り付けられ、キャリパベースにキャリパが取り付けられていることが好ましい。この構成によれば、ベース筒にブレーキロータが取り付けられ、キャリパベースにキャリパが取り付けられている。キャリパベースは、ベース筒を径方向外側から回転自在に支持すると共にベース筒と一体となって軸方向に移動する。そのため、キャリパベースに取り付けられたキャリパは、ベース筒を介してブレーキロータと共に軸方向に移動でき、キャリパとブレーキロータとの間の軸方向の位置関係を容易に維持することができる。
【0009】
また更に、追従機構部は、地車本体に取り付けられ、キャリパベースの軸方向の移動を案内するベースガイドを備えていることが好ましい。この構成によれば、ベースガイドがキャリパベースの軸方向の移動を案内するので、キャリパベースがスムーズに軸方向に移動でき、それに伴ってキャリパも軸方向にスムーズに移動できてブレーキロータに容易に追従できる。
【0010】
また、車軸は、車輪が取り付けられた状態で地車本体から取り外される構成であり、キャリパベースは、互いに連結及び分離可能な保持ベースと取付ベースとを備え、保持ベースは、ベース筒を径方向外側から回転可能に支持するようにベース筒に取り付けられ、取付ベースは、地車本体に軸方向に移動可能に取り付けられ、取付ベースにキャリパが取り付けられていることが好ましい。この構成によれば、車輪を交換する際に、車軸が地車本体から取り外される。車軸には車輪が取り付けられた状態であり、ベース筒、ブレーキロータもまた車軸に取り付けられた状態であって、これらは車軸と共に一括的に地車本体から取り外される。その際、保持ベースを取付ベースから分離させることができる。そのため、保持ベースは車軸と共に地車本体から取り外される一方、取付ベースは地車本体にそのまま残る。即ち、車軸を地車本体から取り外す際に、車輪、ブレーキロータ、ベース筒、及び、保持ベースを車軸に取り付けた状態のままで、車軸と共に地車本体から一括的に取り外すことができる。そして、車輪を交換した後に車軸を地車本体に取り付けた後に、保持ベースに取付ベースを連結させることができる。従って、車輪の交換作業を容易に行うことができる。
(【0011】以降は省略されています)
この特許をJ-PlatPat(特許庁公式サイト)で参照する
関連特許
他の特許を見る