TOP
|
特許
|
意匠
|
商標
特許ウォッチ
Twitter
他の特許を見る
10個以上の画像は省略されています。
公開番号
2025181570
公報種別
公開特許公報(A)
公開日
2025-12-11
出願番号
2024112340
出願日
2024-07-12
発明の名称
入浴剤
出願人
株式会社エフトイズ・コンフェクト
代理人
個人
主分類
B65D
77/00 20060101AFI20251204BHJP(運搬;包装;貯蔵;薄板状または線条材料の取扱い)
要約
【課題】
本発明の目的は、本体の強度向上と入浴剤の楽しみを増大させた入浴剤を提供するも
のである。
【解決手段】
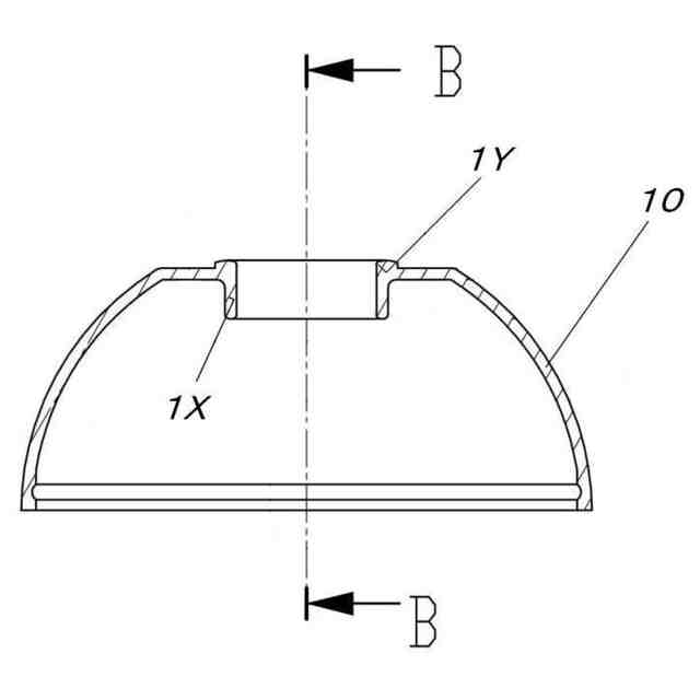
入浴剤Bは、開口部11を有し、分離又は、開閉自在な本体1と、この本体1の内側
であって、開口部11の周囲を環状に囲むように形成された内側リブ1Xと、本体1内に
収納された発泡剤入りの入浴剤Bと、開口部11を開閉する蓋体とを備え、ているもので
ある。
【選択図】図1
特許請求の範囲
【請求項1】
開口部を有し、分離又は、開閉自在な本体と、
この本体の内側であって、前記開口部の周囲を環状に囲むように形成された環状体を有する内側リブと、
前記本体内に収納された発泡剤入りの入浴剤と、
前記開口部を開閉する蓋体とを備え、
ている
ことを特徴とする入浴剤。
続きを表示(約 390 文字)
【請求項2】
本体は、略球状形状であり、
前記本体の上面と下面にそれぞれ平坦面が形成され、
前記上面の前記平坦面に開口部が位置し、
前記本体の外側であって、前記開口部の周囲に沿って囲むように形成された外側リブ
とを備えている
ことを特徴とする請求項1記載の入浴剤。
【請求項3】
玩具、アクセサリー、乗り物の形状、動物の形状、魚の形状、人形の形状、果物の形状、植物の形状及びキャラクターの形状、ピンズ、ストラップ、巾着袋、クーポンの何れである本体内に内在されている被収納体は、少なくとも、平らな平面部、凹凸面、曲面の内、何れかを有し、
環状体は凹所を有し、
前記被収納体が前記環状体に当接した際、前記被収納体と前記凹所との間に隙間が形成される
ことを特徴とする請求項1記載の入浴剤。
発明の詳細な説明
【技術分野】
【0001】
本発明は、入浴剤に係り、特に、本体の強度向上と入浴剤の楽しみを増大させた入浴
剤に関する。
続きを表示(約 1,400 文字)
【背景技術】
【0002】
従来、例えば、外殻を形成する水溶性の固形入浴剤の内部に、発泡剤を含む粉末入浴
剤と、比重が1以下の玩具とを収容してなることを特徴とする玩具入り入浴剤がある(特
許文献参照)。
【先行技術文献】
【特許文献】
【0003】
実開平5ー15945号公報
【発明の概要】
【発明が解決しようとする課題】
【0004】
ところが、上記玩具入り入浴剤においては、固形入浴剤が溶け出して外殻が崩壊する
と、発泡剤が「プチパチ」という音を伴って発泡し、粉末入浴剤が湯中に拡散するだけで
、泡の方向性がなく、面白みに欠けるという問題点が生じた。
【0005】
本発明は、上記の問題点を考慮してなされた入浴剤を提供することにある。
【課題を解決するための手段】
【0006】
請求項1記載の入浴剤は、開口部を有し、分離又は、開閉自在な本体と、この本体の内側であって、前記開口部の周囲を環状に囲むように形成された環状体を有する内側リブと、前記本体内に収納された発泡剤入りの入浴剤と、前記開口部を開閉する蓋体とを備え、ているものである。
【0007】
また、請求項2記載の入浴剤は、請求項1記載の入浴剤において、本体は、略球状形
状であり、前記本体の上面と下面にそれぞれ平坦面が形成され、前記上面の前記平坦面に
開口部が位置し、前記本体の外側であって、前記開口部の周囲に沿って囲むように形成さ
れた外側リブとを備えているものである。
【0008】
また、請求項3記載の入浴剤は、請求項1記載の入浴剤において、玩具、アクセサリー、乗り物の形状、動物の形状、魚の形状、人形の形状、果物の形状、植物の形状及びキャラクターの形状、ピンズ、ストラップ、巾着袋、クーポンの何れである本体内に内在されている被収納体は、少なくとも、平らな平面部、凹凸面、曲面の内、何れかを有し、環状体は凹所を有し、前記被収納体が前記環状体に当接した際、前記被収納体と前記凹所との間に隙間が形成されるものである。
【発明の効果】
【0009】
請求項1記載の入浴剤によれば、強度的に弱い開口部の周囲を内側リブで環状に囲む
ように形成して、強度向上を図り、また、蓋体を開口部から外して、本体の開口部を浴槽
内の水面下であって水面に対して略直角方向に位置させて使用すると、発泡剤入りの入浴
剤による泡が内側リブをガイドとして、直線状に排出され、また、本体の開口部を浴槽内
の水面下であって水面に対して略平行に位置させて使用すると、発泡剤入りの入浴剤によ
る泡が内側リブをガイドとして、水面に向かって排出され、発泡剤による泡の排出方向の
相違による変化を楽しむことができる。
【0010】
また、請求項2記載の入浴剤によれば、上述した請求項1記載の発明の効果に加え、
強度的に弱い開口部の周囲に沿って囲むように形成された外側リブにより、強度向上を図
り、内側リブをガイドとして排出される発泡剤入りの入浴剤による泡を外側リブを介して
浴槽内に案内して排出させることができる。
(【0011】以降は省略されています)
この特許をJ-PlatPat(特許庁公式サイト)で参照する
関連特許
他の特許を見る