TOP
|
特許
|
意匠
|
商標
特許ウォッチ
Twitter
他の特許を見る
公開番号
2025181561
公報種別
公開特許公報(A)
公開日
2025-12-11
出願番号
2024098359
出願日
2024-05-31
発明の名称
福祉車両車椅子牽引用ロープ
出願人
個人
,
個人
,
個人
代理人
主分類
A61G
3/02 20060101AFI20251204BHJP(医学または獣医学;衛生学)
要約
【課題】車椅子丙を福祉車両Bに乗せるには、福祉車両Bに備え付けてある牽引用ロープを使い車椅子丙を引き上げる必要があるが、牽引用ロープは運転席のすぐ後ろにある為そこまで取りに行く必要がある。短い時間とは言え、車椅子丙を止める場所が良い条件の場所ばかりではない、 少しの時間ならと思い目を離しその場を離れた時、車椅子丙が動く可能性も又交通量の多い場所では、車椅子丙に車が折衝することが全くないとは言い切れない、それを解決する本発明の福祉車両車椅子牽引ロープを提供する。
【解決手段】車椅子丙を福祉車両Bに乗せるには、福祉車両Bに備え付けの牽引用ロープ1を使うが、運転席の後ろにあり手間がかかるし勝手が悪い、それを解決する為に昇降機Aまで牽引用ロープ1を引き出して昇降機Aに設置して昇降機Aを倒した時には、車椅子丙に直接セットできる状態になる。
【選択図】図7
特許請求の範囲
【請求項1】
車椅子牽引用ロープ(1)を牽引用ロープ収納場所(2)から引き出し直接昇降機Aに取り付けるもので、牽引用ロープ1の先端部分にフックを付けた牽引用ロープ4や磁石で止める牽引用ロープ4‘等を昇降用スロープの図2の下部に4,4‘(図面上の説明であり、両方ともフック使用の4,4であってもいいし、磁石で止めておく4‘4‘の状態でも良い)の状態でその場所に留め置き昇降機に直接セットしておくことを特徴とする福祉車両車椅子牽引用ロープ。
発明の詳細な説明
【技術分野】
【0001】
本発明は、車椅子牽引用ロープ1を運転席後ろの床の部分牽引用ロープ収納場所2に設置してあるものを引き出して、昇降機Aに直接取り付ける福祉車両車椅子牽引用ロープに関する。
続きを表示(約 3,000 文字)
【背景技術】
【0002】
この種の福祉車両車椅子牽引用ロープ1は、車の中の運転席の後ろ側の床の部分2に設置されており、使用するたびにわざわざ運転席後ろ側の2に設置されている場所まで福祉車両に乗り込み、車椅子牽引用ロープ1を取りに行き引き出す必要があり、面倒な事でありその間利用者から目を離していることになり、短い時間と言え何が起こるか解らない状態は理にかなったことではない、これらを改善する為のものである。
【発明の概要】
【発明が解決しようとする課題】
【0003】
短い時間とはいえ車椅子丙を止める場所が良い条件の場所ばかりではない、目を離しその場を離れることは、車椅子丙が勝手に動く、交通量が多ければ車椅子丙に車が接触することが全くないわけでない、雨降りなどの場合、本発明の福祉車両車椅子牽引用ロープ1を運転席のすぐ後ろ2の牽引用ロープ収容場所まで車の中に入り取りに行く間、小さなリアーハッチ6の下で利用者は雨に濡れる時間も又その間に災害等の危険度も高くなる、これらを改善する為に考え出された福祉車両車椅子牽引用ロープである。
【課題を解決する為の手段】
【0004】
課題を解決する為の手段は、牽引用ロープ1をわざわざ運転席の後ろまで取りに入ることを無くすことで解決できる、その為に図2左側面図の昇降機Aのス
ロープの折りたたみ部分5まで牽引用ロープ1を伸ばし、そこから昇降機Aの底の部分Bにカギ状の先の曲がったフックを付けた牽引用ロープ4、又は磁石で止めた牽引用ロープ4‘を昇降用スロープにどちらかを取り付け設置しておく、昇降用スロープを広げた時は車椅子に乗った利用者と介護者が正対して手の届く位置になる図7.その結果として、昇降用スロープの使用時には昇降用スロープを広げた先端部分に4,又は4‘の牽引用ロープが取り付けられているので、目の前に利用者の乗った車椅子図7の状態があり、介護者は体を動かすことなくそのままの状態で牽引用ロープ1を取り付けることが出きる優れた使用仕組みであり、利用者には何のストレスを掛けることなく、すぐに昇降機を起動させることが出きる、これによって本発明のこの使用仕組みを使い福祉車両車椅子牽引用ロープで課題は解決できる。
【発明の効果】
【0005】
本発明の福祉車両車椅子牽引用ロープを使えば車の中に入り牽引用ロープ1を取りに行く必要は無くなり、利用者の乗っている車椅子が勝手に動き出した場合でも止めることが出きるし、車が近づいて来ても車椅子の近くで作業をしていれば災害を回避する行動がとれる。本発明の目的は利用者を安全にスムーズに負荷を掛けない自然の状態の中で、福祉車両に乗せる事が目的であり利用者にとっては、常に車の狭い空間に閉じこめられるような状態になり、少しでも負荷を掛けないことが大切である。介護者が福祉車両の中に出入りすることは当たり前ではあるが、利用者にとってありがたい行為ではない、又介護者にとって利用者に尻を向けての行動は仕方がないとしても出来るだけ避けたいと思う。これらすべてを解決する手段を備えたものが、本発明の福祉車両車椅子牽引用ロープである。その結果として本発明の福祉車両車椅子牽引用ロープを使えば、従来は図5の位置まで牽引ロープを持ちに行き図5図6の位置を後ろ向きに進み図7で向きを変えて牽引用ロープ1を車椅子にセットする作業になるが、本発明の福祉車両車椅子牽引用ロープを使えば、図5と図6の作業は全くなくなり昇降機Aを広げるだけで作業が出来る手間のかからない本発明の福祉車両車椅子牽引用ロープとなり利用者に優しい福祉車両車椅子牽引用ロープとなる。本発明の福祉車両車椅子牽引ロープ方式を使い昇降機に牽引ロープを取り付ける操作の出来ない車椅子丙に牽引ロープを取り付けるには、従来通り図5の運転席の後ろまで入り牽引ロープ1を引き出す作業をしなければならない、又、本発明の福祉車両牽引用ロープを常時介護車両として使用している場合は図5の牽引用ロープ収納場所2に収納の必要はなく、常に昇降機に取り付けたままの状態で据え置くことで、利用者にも介護人にも優しさをかもし出す福祉車両車椅子牽引用ロープである。
【図面の簡単な説明】
【0006】
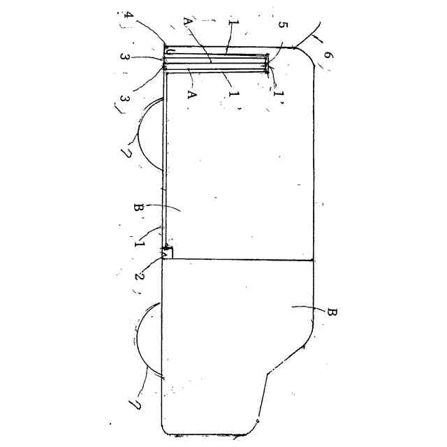
本発明に係る牽引用ロープ1の數納場所2とそこからの牽引用ロープの昇降機Aへの動線のである正面図。
牽引用ロープ1が昇降機Aを取り巻くように設置された左側面図であり、スロープの折りたたみ部分5まで牽引用ロープ1を伸ばしそこからさらに福祉車両Bの床部分まで牽引ロープ1が届いている状態を表す。
本発明に係る牽引用ロープ1の収納場所2から、昇降用スロープ3を使用状態にして福祉車両Bの床の部分を這わせ、先端にフックや磁石を取り付けた牽引用ロープ1を使い車椅子に取り付ける準備の出来た状態の屋根の部分を取り外した平面図である。
昇降機を使用して、牽引ロープ1を使用できる状態の正面図、スロープの先端部分の1‘は、昇降機の5の上にある牽引ロープの長さであり、その部分の分だけ伸びたことを表す。
使用者乙が牽引用ロープ1を取りに行った状態である。この時点で介護者乙は利用者甲に背中(尻)向けた状態なる。
介護者乙が牽引用ロープ1を引き出した状態である。この時点でも介護者乙は利用者甲に背中(尻を)向けた状態である。
介護者乙が牽引ロープ1を取り出して車椅子の所で後ろ向きを前向きに変えて(最初の設定の時だけで2度目からは必要としない、昇降機にセットして置くことが出きるので)利用者甲に正対して、車椅子にフックや磁石など使用している牽引用ロープを取り付けるところである。
【発明を実施する為の形態】
【0007】
車椅子牽引用ロープ1を牽引用ロープ収納場所2から引き出して最初の使用時は図7の車椅子利用者甲の前まで進み牽引ロープを取り付ける。
当日、2回目以降乗り降りする場合には、車椅子牽引用ロープは昇降機Aに直接取り付けてセットして置く使用仕組みで、利用者甲にも介護者乙にも優しい使用仕組みで、
直接昇降機Aに取り付けて有るので、牽引用ロープ1の先端部分にフックを付けた牽引用ロープ4や磁石で止める牽引用ロープ4‘等を昇降用スロープの図2の下部に4.‘4(図面上の説明であり、両方ともフック使用の4.4であってもいいし、磁石で止めておく置く4‘4‘の状態でも良い)の状態でその場所に留め置き昇降機に直接セットしておくことで車椅子に簡単に、素早く取り付けることを特徴とする形態を持つ福祉車両車椅子牽引用ロープ。
【符号の説明】
【0008】
甲 車椅子の利用者
乙 車椅子の介護者
丙 車椅子
A 昇降機
B 福祉車両
1 牽引用ロープ
1‘ 5の折りたたんスロープの上の長さ
2 牽引用ロープ収納場所
3 昇降用スロープ
4 フックを付けた牽引用ロープ
4‘ 磁石を付けた牽引用ロープ
5 折りたたんだスロープ(折り返し)
6 リアーハッチ
7 福祉車両のタイヤ
この特許をJ-PlatPat(特許庁公式サイト)で参照する
関連特許
他の特許を見る