TOP
|
特許
|
意匠
|
商標
特許ウォッチ
Twitter
他の特許を見る
公開番号
2025181534
公報種別
公開特許公報(A)
公開日
2025-12-11
出願番号
2024089580
出願日
2024-05-31
発明の名称
作業機
出願人
工機ホールディングス株式会社
代理人
個人
主分類
B23D
45/16 20060101AFI20251204BHJP(工作機械;他に分類されない金属加工)
要約
【課題】作業性を向上する。
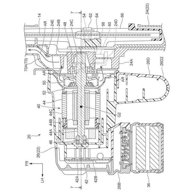
【解決手段】丸鋸10では、ベース側サブハンドル18の左右方向の中心位置18Bが、メインハンドル26Dに対して左側へオフセットし、バッテリ36の左右方向の中心位置36Bがベース側サブハンドル18に対して左側へオフセットしている。すなわち、前後方向から見て、ベース側サブハンドル18が、メインハンドル26Dとバッテリ36との間に配置されている。これにより、丸鋸本体20の後側に位置する作業者に対して、ベース側サブハンドル18への視認性を良好にしつつ、ベース側サブハンドル18を把持させることができる。また、例えば、ベース側サブハンドル18を把持した作業者の腕がバッテリ36に干渉することを抑制できる。したがって、丸鋸10の作業性を向上することができる。
【選択図】図3
特許請求の範囲
【請求項1】
ベースと、
前記ベースに連結され、丸鋸刃を有する本体部と、
を備え、
前記本体部は、
前記ベースの上側に配置されたハウジングと、
前記ハウジングに収容されたモータと、
前記ハウジングに設けられ、前記モータをオンオフさせるトリガを有すると共に、作業者によって把持されるメインハンドルと、
前記ベースに設けられ、作業者によって把持されると共に、左右方向の中心位置が前記メインハンドルに対して左右方向一方側へオフセットしているサブハンドルと、
前記ハウジングに装着され、左右方向の中心位置が前記サブハンドルに対して前記左右方向一方側へオフセットしている電池と、
を含んで構成されている作業機。
続きを表示(約 910 文字)
【請求項2】
前後方向視で、前記モータの重心が前記電池の左右方向他方側で且つ前記電池とラップしない位置にあり、上側から見て、前記作業機の全体の重心が前記メインハンドルに重なっている請求項1に記載の作業機。
【請求項3】
左右方向視で、前記トリガが前記電池と重ならない位置に配置されている請求項1に記載の作業機。
【請求項4】
前記トリガは、作業者によって操作される操作面を有しており、
前記操作面が前記電池よりも前側に位置している請求項3に記載の作業機。
【請求項5】
前記ハウジングは、前記丸鋸刃を覆うソーカバーを有しており、前記ソーカバーは前記メインハンドルの左右方向他方側に位置しており、
左右方向視で、前記ソーカバー、前記メインハンドル、及び前記電池のそれぞれの一部が重なっている請求項1に記載の作業機。
【請求項6】
前記メインハンドルは、左右方向視で上側へ向かうに従い前側へ傾斜しており、
前記メインハンドルの下端部が、前記電池の上下方向の中心位置よりも下側に位置している請求項5に記載の作業機。
【請求項7】
前記ハウジングには、前記モータを制御するコントローラが設けられており、
前記コントローラが、前記モータの左右方向一方側に配置されると共に、前後方向視で前記電池に重なっている請求項5に記載の作業機。
【請求項8】
前後方向視で、前記作業機の全体の重心が前記メインハンドルの下端部に重なっている請求項6に記載の作業機。
【請求項9】
左右方向において前記ソーカバーと前記メインハンドルとの間には、作業者の手が挿入可能な第1間隙が形成され、
左右方向において前記メインハンドルと前記電池との間には、作業者の手が挿入可能な第2間隙が形成されている請求項6に記載の作業機。
【請求項10】
左右方向における前記第1間隙の寸法と前記第2間隙の寸法とが略同じに設定されている請求項9に記載の作業機。
(【請求項11】以降は省略されています)
発明の詳細な説明
【技術分野】
【0001】
本発明は、作業機に関するものである。
続きを表示(約 1,200 文字)
【背景技術】
【0002】
下記特許文献1に記載の丸鋸(作業機)では、ベースの上側に丸鋸本体が設けられている。丸鋸本体は、ハンドルを有しており、ハンドルは、電池の上側に配置されている。丸鋸の切断加工時には、作業者がハンドルを把持して、ベースを加工材上に前側へ摺動させる。
【先行技術文献】
【特許文献】
【0003】
特願2024-34402号公報
【発明の概要】
【発明が解決しようとする課題】
【0004】
ここで、例えば、比較的大型の丸鋸では、サブハンドルがベースに設けられているものがある。これにより、作業者が、一方の手でハンドルを把持し、他方の手でサブハンドルを把持して、切断加工を行うことができる。その結果、丸鋸の作業性を向上することができる。
【0005】
しかしながら、丸鋸においてサブハンドルをベースに設ける場合には、丸鋸を構成する構成部品とサブハンドルとの位置関係によって、丸鋸の作業性が低下する可能性がある。このため、丸鋸では、サブハンドルを、他の構成部品との位置関係を考慮して、作業性を向上できる位置に設けることが望ましい。
【0006】
本発明は、上記事実を考慮して、作業性を向上することができる作業機を提供することを目的とする。
【課題を解決するための手段】
【0007】
本発明の1又はそれ以上の実施形態は、ベースと、前記ベースに連結され、丸鋸刃を有する本体部と、を備え、前記本体部は、前記ベースの上側に配置されたハウジングと、前記ハウジングに収容されたモータと、前記ハウジングに設けられ、前記モータをオンオフさせるトリガを有すると共に、作業者によって把持されるメインハンドルと、前記ベースに設けられ、作業者によって把持されると共に、左右方向の中心位置が前記メインハンドルに対して左右方向一方側へオフセットしているサブハンドルと、前記ハウジングに装着され、左右方向の中心位置が前記サブハンドルに対して前記左右方向一方側へオフセットしている電池と、を含んで構成されている作業機である。
【0008】
本発明の1又はそれ以上の実施形態は、前後方向視で、前記モータの重心が前記電池の左右方向他方側で且つ前記電池とラップしない位置にあり、上側から見て、前記作業機の全体の重心が前記メインハンドルに重なっている作業機である。
【0009】
本発明の1又はそれ以上の実施形態は、左右方向視で、前記トリガが前記電池と重ならない位置に配置されている作業機である。
【0010】
本発明の1又はそれ以上の実施形態は、前記トリガは、作業者によって操作される操作面を有しており、前記操作面が前記電池よりも前側に位置している作業機である。
(【0011】以降は省略されています)
この特許をJ-PlatPat(特許庁公式サイト)で参照する
関連特許
他の特許を見る