TOP
|
特許
|
意匠
|
商標
特許ウォッチ
Twitter
他の特許を見る
10個以上の画像は省略されています。
公開番号
2025181532
公報種別
公開特許公報(A)
公開日
2025-12-11
出願番号
2024089577
出願日
2024-05-31
発明の名称
作業機
出願人
工機ホールディングス株式会社
代理人
個人
主分類
B23D
29/00 20060101AFI20251204BHJP(工作機械;他に分類されない金属加工)
要約
【課題】ブレードの向き変更時における作業性を向上する。
【解決手段】剪断工具10の送りネジ機構40では、リフタ50のリフタナット52が、ドライブシャフト48の雄ネジ48Aに螺合され、ドライブシャフト48が回転することでリフタナット52が前後方向に往復動する。また、ブレード66が、リフタシャフト54の前端部に固定され、リフタシャフト54の後端部が、前後方向に一体移動可能に且つ前後方向を軸として相対回転可能にリフタナット52に連結されている。これにより、前後方向におけるブレード66の位置を変更することなく、ハウジング20に対するブレード66の回転位置を変更することができる。具体的には、ブレード66の回転範囲を規定するストッパを設けることなく、ブレード66の前後位置を維持することができる。したがって、ブレード66の向き変更時の作業性を向上することができる。
【選択図】図3
特許請求の範囲
【請求項1】
モータと、
前記モータの駆動によって前後方向を軸として回転する駆動側ネジ部を有する駆動軸と、
前記駆動側ネジ部に螺合され且つ駆動軸が回転することで前記前後方向に往復動するリフタ従動部を有するリフタと、
前記モータ及び前記駆動軸を収容するハウジングと、
前記前後方向に一体移動可能に前記リフタ従動部に連結されたブレードと、
を備え、
前記ブレードが、前記リフタ従動部に対して前記前後方向を軸として相対回転可能に構成されている作業機。
続きを表示(約 1,500 文字)
【請求項2】
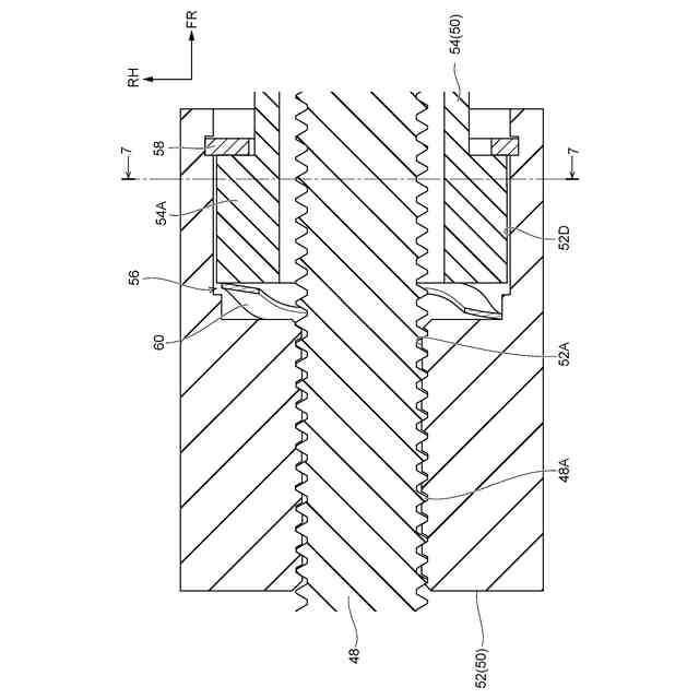
前記リフタは、前記前後方向に延在されたリフタシャフトを有しており、
前記ブレードが、前記リフタシャフトの前端部に連結され、前記リフタシャフトの後端部が、前記リフタ従動部に連結されており、
前記ブレードが前記リフタシャフトに対して前記前後方向に一体移動可能に且つ前記前後方向を軸として相対回転可能に連結されている、
または、
前記リフタシャフトが前記リフタ従動部に対して前記前後方向に一体移動可能に且つ前記前後方向を軸として相対回転可能に連結されている請求項1に記載の作業機。
【請求項3】
前記ハウジングには、前記リフタ従動部の前方において、前記リフタシャフトを前記前後方向に移動可能に支持するシャフト支持部が設けられ、
前記リフタシャフトの後端部が前記リフタ従動部に、前記前後方向に一体移動可能に且つ前記前後方向を軸として相対回転可能に支持されている請求項2に記載の作業機。
【請求項4】
前記シャフト支持部は、前記前後方向を軸として前記ハウジングに対して回転可能となっており、
前記ブレードの板厚方向両側には、前記シャフト支持部に接続されたヘッドプレートが設けられており、
前記リフタシャフトは前記ヘッドプレートに対して相対回転可能に構成され、前記ヘッドプレートによって前記ブレードの前記前後方向を軸とする回転が規制される請求項3に記載の作業機。
【請求項5】
前記リフタ従動部は、前記ハウジングに対し、前記前後方向を軸とした相対回転が不能に且つ前記前後方向に相対移動可能に構成されている請求項1に記載の作業機。
【請求項6】
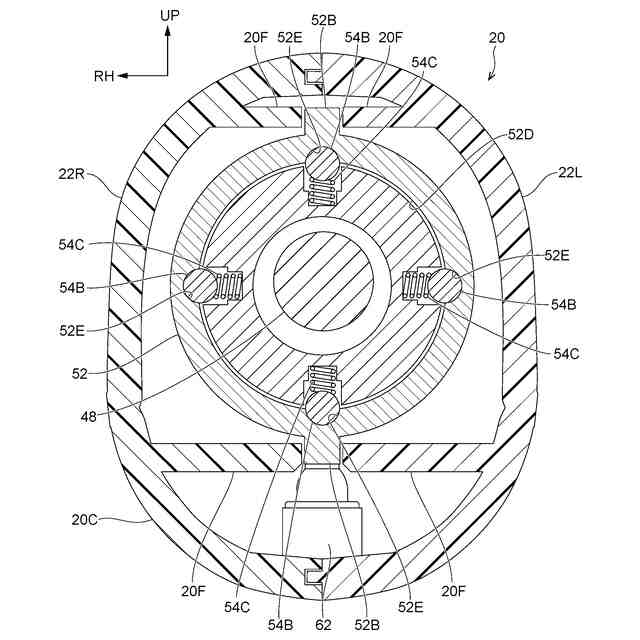
前記リフタ従動部は、前記前後方向を軸方向とする筒状に形成され、
前記リフタ従動部の内周部には、前記駆動側ネジ部に螺合された従動側ネジ部が設けられ、
前記リフタ従動部には、前記前後方向と直交する方向へ突出する回転規制部が設けられており、前記回転規制部が、前記ハウジングと係合することで、前記リフタ従動部が、前記ハウジングに対する相対回転が不能に、且つ前記ハウジングに対して前記前後方向に相対移動可能になっている請求項5に記載の作業機。
【請求項7】
前記ハウジングには、前記リフタの位置を検出する検出スイッチが設けられており、
前記回転規制部によって前記検出スイッチがオンオフされる請求項6に記載の作業機。
【請求項8】
前記回転規制部は、前記前後方向に延在され、前記前後方向における前記回転規制部の一方側端部には、前記検出スイッチを押圧するための傾斜部が形成されており、前記傾斜部が、前記前後方向の他方側へ向かうに従い前記回転規制部の突出方向へ傾斜している請求項7に記載の作業機。
【請求項9】
前記ハウジングは、左右方向に2分割にされたハウジング部材によって構成されており、
前記ハウジング部材には、前記回転規制部を左右方向外側から支持するリフタ支持部が設けられている請求項6に記載の作業機。
【請求項10】
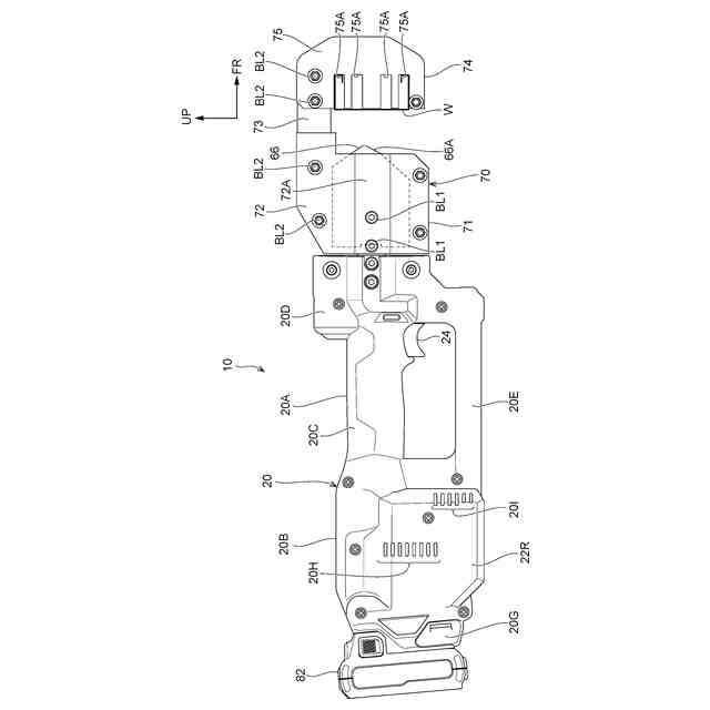
前記ハウジングは、
前記前後方向に延在され、前記駆動軸及び前記リフタを収容すると共に、作業者によって把持されるハンドル部と、
前記ハンドル部の前側に設けられ、前記ハンドル部に対して上下方向両側に張出され、前記シャフト支持部を支持するハンドルエンド部と、
を含んで構成されており、
前記ハウジングには、前記モータを制御するための制御スイッチが設けられ、前記制御スイッチが前記ハンドルエンド部に配置されている請求項3に記載の作業機。
(【請求項11】以降は省略されています)
発明の詳細な説明
【技術分野】
【0001】
本発明は、作業機に関するものである。
続きを表示(約 1,800 文字)
【背景技術】
【0002】
下記特許文献1に記載の電動切断機(作業機)は、モータの駆動により回転するドライブシャフトと、ドライブシャフトに螺合されたリフタと、リフタの先端部に固定されたブレードと、を有している。ドライブシャフトが回転すると、リフタがブレードと共に前方側へ移動して、ヘッド部に支持された被加工物を、ブレード及びヘッド部によって挟み込んで切断する。
【0003】
また、上記電動切断機では、作業者の手動操作によって、被加工材に対するブレードの向きを変更することができる。具体的には、ブレードをガイドするガイド機構を、リフタの軸線回りに回転させることで、ブレードがガイド機構と共に回転して、被加工材に対するブレードの向きが変更される。
【先行技術文献】
【特許文献】
【0004】
特開2023-024840号公報
【発明の概要】
【発明が解決しようとする課題】
【0005】
しかしながら、上記電動切断機では、以下に示す点において改善の余地がある。すなわち、ガイド機構の回転時には、ブレード及びリフタがドライブシャフトに対して相対回転する。リフタはドライブシャフトに螺合されているため、リフタがドライブシャフトに対して相対回転すると、前後方向におけるリフタの初期位置が変化する。このため、リフタの初期位置が大きく変化することを抑えるために、ガイド機構の回転範囲を規制するストッパが設けられている。具体的には、ストッパによって、ガイド機構の回転範囲が180度以下に制限されている。これにより、ブレードの向き変更時には、ガイド機構を180度以下の回転範囲内で回転させる必要があるため、作業者に煩わしさが発生する可能性がある。この場合には、ブレードの向き変更時における作業性が低下する虞がある。
【0006】
本発明は、上記事実を考慮して、ブレードの向き変更時における作業性を向上することができる作業機を提供することを目的とする。
【課題を解決するための手段】
【0007】
本発明の1又はそれ以上の実施形態は、モータと、前記モータの駆動によって前後方向を軸として回転する駆動側ネジ部を有する駆動軸と、前記駆動側ネジ部に螺合され且つ駆動軸が回転することで前記前後方向に往復動するリフタ従動部を有するリフタと、前記モータ及び前記駆動軸を収容するハウジングと、前記前後方向に一体移動可能に前記リフタ従動部に連結されたブレードと、を備え、前記ブレードが、前記リフタ従動部に対して前記前後方向を軸として相対回転可能に構成されている作業機である。
【0008】
本発明の1又はそれ以上の実施形態は、前記リフタは、前記前後方向に延在されたリフタシャフトを有しており、前記ブレードが、前記リフタシャフトの前端部に連結され、前記リフタシャフトの後端部が、前記リフタ従動部に連結されており、前記ブレードが前記リフタシャフトに対して前記前後方向に一体移動可能に且つ前記前後方向を軸として相対回転可能に連結されている、または、前記リフタシャフトが前記リフタ従動部に対して前記前後方向に一体移動可能に且つ前記前後方向を軸として相対回転可能に連結されている作業機である。
【0009】
本発明の1又はそれ以上の実施形態は、前記ハウジングには、前記リフタ従動部の前方において、前記リフタシャフトを前記前後方向に移動可能に支持するシャフト支持部が設けられ、前記リフタシャフトの後端部が前記リフタ従動部に、前記前後方向に一体移動可能に且つ前記前後方向を軸として相対回転可能に支持されている作業機である。
【0010】
本発明の1又はそれ以上の実施形態は、前記シャフト支持部は、前記前後方向を軸として前記ハウジングに対して回転可能となっており、前記ブレードの板厚方向両側には、前記シャフト支持部に接続されたヘッドプレートが設けられており、前記リフタシャフトは前記ヘッドプレートに対して相対回転可能に構成され、前記ヘッドプレートによって前記ブレードの前記前後方向を軸とする回転が規制される作業機である。
(【0011】以降は省略されています)
この特許をJ-PlatPat(特許庁公式サイト)で参照する
関連特許
他の特許を見る