TOP
|
特許
|
意匠
|
商標
特許ウォッチ
Twitter
他の特許を見る
公開番号
2025181522
公報種別
公開特許公報(A)
公開日
2025-12-11
出願番号
2024089564
出願日
2024-05-31
発明の名称
噴出ヘッドおよび液体噴出容器
出願人
株式会社吉野工業所
代理人
個人
,
個人
,
個人
主分類
B05B
11/00 20230101AFI20251204BHJP(霧化または噴霧一般;液体または他の流動性材料の表面への適用一般)
要約
【課題】容器本体に装着されたポンプを変更することなく、押圧操作時の押荷重が軽減された、噴出ヘッドおよび液体噴出容器を提供する。
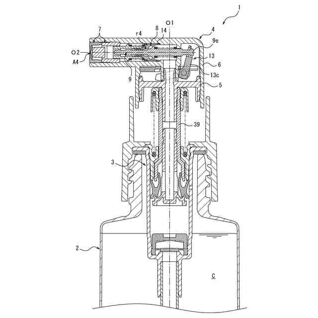
【解決手段】噴出ヘッド4は、ポンプ上端部に固定されるベース5と、摺動可能に保持されるヘッド本体6と、液体を噴出させる噴出部7と、貫通流路r4を備えて前後方向に摺動可能なピストン8と、流路r4を摺動可能に貫通するピストンガイドと、ピストン8を後側に付勢する第1弾性部材11と、ピストン8を前側に付勢する第2弾性部材12と、本体6をベース5に対して押し下げたときにガイドを後側に移動させる梃部材13と、を備える。本体6は、ピストン8の後側移動を制限する段差14を備える。ガイドは、ピストン8を押圧することで貫通流路r4をシールする一方でピストン8が段差14と接触した後にガイドが梃部材13によって後側に移動することでピストン8から離間するシール部9cを備える。
【選択図】図2
特許請求の範囲
【請求項1】
容器本体に配置されたポンプに装着可能であって、前記容器本体の液体を前側に向かって噴出させるための、噴出ヘッドであって、
前記ポンプの上端部に固定されるベースと、前記ベースに摺動可能に保持されるヘッド本体と、前記ヘッド本体の前側に配置されており前記液体を噴出させる噴出部と、貫通流路を備えており前記ヘッド本体の内部を前後方向に摺動可能なピストンと、前記貫通流路を摺動可能に貫通するピストンガイドと、前記ピストンガイドに支持されることで前記ピストンを後側に向かって付勢する第1弾性部材と、前記ヘッド本体に支持されることで前記ピストンを前側に向かって付勢する第2弾性部材と、前記ヘッド本体を前記ベースに対して押し下げたときに前記ピストンガイドを後側に移動させる梃部材と、を備えており、
前記ヘッド本体は、前記ピストンが接触することで当該ピストンの後側の移動を制限する段差を備えており、
前記ピストンガイドは、前記ピストンを押圧することで前記貫通流路をシールする一方で前記ピストンが前記段差と接触した後に前記ピストンガイドが前記梃部材によって前記ピストンに対して後側に移動することで前記ピストンから離間するシール部を備える、噴出ヘッド。
続きを表示(約 350 文字)
【請求項2】
前記ヘッド本体は、前側に向かって延びるノズルを備えており、
前記噴出部は、前記ノズルの内部に配置されている、請求項1に記載された噴出ヘッド。
【請求項3】
前記第1弾性部材は、前記ピストンガイドに設けられた支持筒によって当該ピストンガイドに支持されており、前記ピストンガイドと前記支持筒との間には、前記貫通流路を前記噴出部に連通させる連通路が設けられており、
前記噴出ヘッドは、前記支持筒を摺動可能に保持する補助筒をさらに備えている、請求項1に記載された噴出ヘッド。
【請求項4】
液体を収容可能な容器本体と、前記容器本体に装着されたポンプと、前記ポンプに装着された請求項1に記載された噴出ヘッドと、を備える、液体噴出容器。
発明の詳細な説明
【技術分野】
【0001】
本発明は、噴出ヘッドおよび液体噴出容器に関する。
続きを表示(約 1,500 文字)
【背景技術】
【0002】
従来の液体噴出容器には、容器本体に取り付けられて当該容器本体の内容物を蓄圧して吐出可能な吐出器を備えており、当該吐出器に設けられたノズルヘッドに対する押圧操作が重くなることを抑制しつつ、吐出量を増加させることで使用性を良くしたものが知られている(例えば、特許文献1参照。)。
【先行技術文献】
【特許文献】
【0003】
特開2023-97140号公報
【発明の概要】
【発明が解決しようとする課題】
【0004】
しかしながら、上記従来の液体噴出容器にも依然として、ノズルヘッドに対する押圧操作時の押荷重の軽減という点で改善の余地がある。その一方で、容器本体に装着されるポンプには、汎用性を持たせたいという要求もある。
【0005】
本発明の目的は、容器本体に装着されたポンプを変更することなく、押圧操作時の押荷重が軽減された、噴出ヘッドおよび液体噴出容器を提供することである。
【課題を解決するための手段】
【0006】
(1)本発明に係る噴出ヘッドは、容器本体に配置されたポンプに装着可能であって、前記容器本体の液体を前側に向かって噴出させるための、噴出ヘッドであって、前記ポンプの上端部に固定されるベースと、前記ベースに摺動可能に保持されるヘッド本体と、前記ヘッド本体の前側に配置されており前記液体を噴出させる噴出部と、貫通流路を備えており前記ヘッド本体の内部を前後方向に摺動可能なピストンと、前記貫通流路を摺動可能に貫通するピストンガイドと、前記ピストンガイドに支持されることで前記ピストンを後側に向かって付勢する第1弾性部材と、前記ヘッド本体に支持されることで前記ピストンを前側に向かって付勢する第2弾性部材と、前記ヘッド本体を前記ベースに対して押し下げたときに前記ピストンガイドを後側に移動させる梃部材と、を備えており、前記ヘッド本体は、前記ピストンが接触することで当該ピストンの後側の移動を制限する段差を備えており、前記ピストンガイドは、前記ピストンを押圧することで前記貫通流路をシールする一方で前記ピストンが前記段差と接触した後に前記ピストンガイドが前記梃部材によって前記ピストンに対して後側に移動することで前記ピストンから離間するシール部を備える。
【0007】
(2)上記(1)の噴出ヘッドにおいて、前記ヘッド本体は、前側に向かって延びるノズルを備えており、前記噴出部は、前記ノズルの内部に配置されているものとすることができる。
【0008】
(3)上記(1)または(2)の噴出ヘッドにおいて、前記第1弾性部材は、前記ピストンガイドに設けられた支持筒によって当該ピストンガイドに支持されており、前記ピストンガイドと前記支持筒との間には、前記貫通流路を前記噴出部に連通させる連通路が設けられており、前記噴出ヘッドは、前記支持筒を摺動可能に保持する補助筒をさらに備えているものとすることができる。
【0009】
(4)本発明に係る液体噴出容器は、液体を収容可能な容器本体と、前記容器本体に装着されたポンプと、前記ポンプに装着された上記(1)~(3)のいずれか1つの噴出ヘッドと、を備える。
【発明の効果】
【0010】
本発明によれば、容器本体に装着されたポンプを変更することなく、押圧操作時の押荷重が軽減された、噴出ヘッドおよび液体噴出容器を提供することができる。
【図面の簡単な説明】
(【0011】以降は省略されています)
この特許をJ-PlatPat(特許庁公式サイト)で参照する
関連特許
他の特許を見る