TOP
|
特許
|
意匠
|
商標
特許ウォッチ
Twitter
他の特許を見る
10個以上の画像は省略されています。
公開番号
2025181513
公報種別
公開特許公報(A)
公開日
2025-12-11
出願番号
2024089549
出願日
2024-05-31
発明の名称
情報処理プログラム、情報処理方法、ゲーム装置および情報処理システム
出願人
株式会社Cygames
代理人
弁理士法人青海国際特許事務所
主分類
A63F
13/52 20140101AFI20251204BHJP(スポーツ;ゲーム;娯楽)
要約
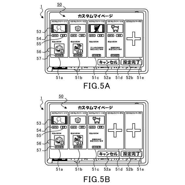
【課題】演出効果を向上する。
【解決手段】情報処理プログラムは、特定選択項目を含む、複数の選択項目から少なくともいずれかを選択するプレイヤの操作を受け付ける処理と、プレイヤによって選択された選択項目に対応する1または複数の演出要素を設定する処理と、所定の開始タイミングにおいて、設定された演出要素を表示する処理と、をコンピュータに遂行させ、演出要素を設定する処理は、プレイヤによって特定選択項目が選択された場合に、第1演出要素および第2演出要素を設定し、演出要素を表示する処理は、プレイヤによって特定選択項目が選択されて第1演出要素および第2演出要素が設定された場合に、第1演出要素を表示した後に、第2演出要素を繰り返し表示する。
【選択図】図15
特許請求の範囲
【請求項1】
特定選択項目を含む、複数の選択項目から少なくともいずれかを選択するプレイヤの操作を受け付ける処理と、
プレイヤによって選択された前記選択項目に対応する1または複数の演出要素を設定する処理と、
所定の開始タイミングにおいて、設定された前記演出要素を表示する処理と、
をコンピュータに遂行させ、
前記演出要素を設定する処理は、
プレイヤによって前記特定選択項目が選択された場合に、第1演出要素および第2演出要素を設定し、
前記演出要素を表示する処理は、
プレイヤによって前記特定選択項目が選択されて前記第1演出要素および前記第2演出要素が設定された場合に、前記第1演出要素を表示した後に、前記第2演出要素を繰り返し表示する、情報処理プログラム。
続きを表示(約 1,900 文字)
【請求項2】
プレイヤによって前記特定選択項目が選択されて前記第1演出要素および前記第2演出要素が設定された場合であって、前記第1演出要素に紐付く所定演出の実行が完了した後から、プレイヤの特定操作を受け付ける処理と、
前記第2演出要素の表示中に、前記特定操作を含む所定条件が成立した場合に、前記第2演出要素に関連するテキスト画像の表示、または、前記第2演出要素に関連する音声の出力を実行する処理と、
をコンピュータに遂行させる、請求項1に記載の情報処理プログラム。
【請求項3】
前記第2演出要素は、前記第2演出要素の表示中における前記特定操作に基づいて、前記第2演出要素における表示内容が変化可能である、
請求項2に記載の情報処理プログラム。
【請求項4】
複数の前記選択項目には、特殊選択項目を含み、
前記演出要素を設定する処理は、
プレイヤによって前記特殊選択項目が選択された場合に、前記第1演出要素を設定せずに、前記第2演出要素を設定し、
前記演出要素を表示する処理は、
プレイヤによって前記特殊選択項目が選択されて前記第2演出要素が設定された場合に、前記第2演出要素を繰り返し表示し、
プレイヤによって前記特定選択項目が選択されて前記第2演出要素を表示する場合と、プレイヤによって前記特殊選択項目が選択されて前記第2演出要素を表示する場合とで、共通のデータに基づいて前記第2演出要素を表示し、
プレイヤによって前記特定選択項目が選択されて前記第2演出要素を表示する場合と、プレイヤによって前記特殊選択項目が選択されて前記第2演出要素を表示する場合とで、異なる制御を実行する処理、
をコンピュータに遂行させる、請求項1に記載の情報処理プログラム。
【請求項5】
1または複数のコンピュータが遂行する情報処理方法であって、
前記コンピュータは、
特定選択項目を含む、複数の選択項目から少なくともいずれかを選択するプレイヤの操作を受け付ける処理と、
プレイヤによって選択された前記選択項目に対応する1または複数の演出要素を設定する処理と、
所定の開始タイミングにおいて、設定された前記演出要素を表示する処理と、
を遂行し、
前記演出要素を設定する処理は、
プレイヤによって前記特定選択項目が選択された場合に、第1演出要素および第2演出要素を設定し、
前記演出要素を表示する処理は、
プレイヤによって前記特定選択項目が選択されて前記第1演出要素および前記第2演出要素が設定された場合に、前記第1演出要素を表示した後に、前記第2演出要素を繰り返し表示する、情報処理方法。
【請求項6】
1または複数のコンピュータを備え、
前記コンピュータが、
特定選択項目を含む、複数の選択項目から少なくともいずれかを選択するプレイヤの操作を受け付ける処理と、
プレイヤによって選択された前記選択項目に対応する1または複数の演出要素を設定する処理と、
所定の開始タイミングにおいて、設定された前記演出要素を表示する処理と、
を遂行し、
前記演出要素を設定する処理は、
プレイヤによって前記特定選択項目が選択された場合に、第1演出要素および第2演出要素を設定し、
前記演出要素を表示する処理は、
プレイヤによって前記特定選択項目が選択されて前記第1演出要素および前記第2演出要素が設定された場合に、前記第1演出要素を表示した後に、前記第2演出要素を繰り返し表示する、ゲーム装置。
【請求項7】
1または複数のコンピュータを備える情報処理システムであって、
前記コンピュータは、
特定選択項目を含む、複数の選択項目から少なくともいずれかを選択するプレイヤの操作を受け付ける処理と、
プレイヤによって選択された前記選択項目に対応する1または複数の演出要素を設定する処理と、
所定の開始タイミングにおいて、設定された前記演出要素を表示する処理と、
を遂行し、
前記演出要素を設定する処理は、
プレイヤによって前記特定選択項目が選択された場合に、第1演出要素および第2演出要素を設定し、
前記演出要素を表示する処理は、
プレイヤによって前記特定選択項目が選択されて前記第1演出要素および前記第2演出要素が設定された場合に、前記第1演出要素を表示した後に、前記第2演出要素を繰り返し表示する、情報処理システム。
発明の詳細な説明
【技術分野】
【0001】
本発明は、情報処理プログラム、情報処理方法、ゲーム装置および情報処理システムに関する。
続きを表示(約 1,900 文字)
【背景技術】
【0002】
特許文献1には、ホーム画面で表示される演出を変更できる機能を有するゲームについて開示されている。
【先行技術文献】
【特許文献】
【0003】
特許第7437291号公報
【発明の概要】
【発明が解決しようとする課題】
【0004】
上記のゲームでは、プレイヤの好みに合わせてホーム画面で表示される演出を変更することができるが、更なる演出効果の向上を実現することが希求されている。
【0005】
本発明は、演出効果を向上することが可能な情報処理プログラム、情報処理方法、ゲーム装置および情報処理システムを提供することを目的としている。
【課題を解決するための手段】
【0006】
上記課題を解決するために、情報処理プログラムは、
特定選択項目を含む、複数の選択項目から少なくともいずれかを選択するプレイヤの操作を受け付ける処理と、
プレイヤによって選択された前記選択項目に対応する1または複数の演出要素を設定する処理と、
所定の開始タイミングにおいて、設定された前記演出要素を表示する処理と、
をコンピュータに遂行させ、
前記演出要素を設定する処理は、
プレイヤによって前記特定選択項目が選択された場合に、第1演出要素および第2演出要素を設定し、
前記演出要素を表示する処理は、
プレイヤによって前記特定選択項目が選択されて前記第1演出要素および前記第2演出要素が設定された場合に、前記第1演出要素を表示した後に、前記第2演出要素を繰り返し表示する。
【0007】
情報処理プログラムは、
プレイヤによって前記特定選択項目が選択されて前記第1演出要素および前記第2演出要素が設定された場合であって、前記第1演出要素に紐付く所定演出の実行が完了した後から、プレイヤの特定操作を受け付ける処理と、
前記第2演出要素の表示中に、前記特定操作を含む所定条件が成立した場合に、前記第2演出要素に関連するテキスト画像の表示、または、前記第2演出要素に関連する音声の出力を実行する処理と、
をコンピュータに遂行させてもよい。
【0008】
前記第2演出要素は、前記第2演出要素の表示中における前記特定操作に基づいて、前記第2演出要素における表示内容が変化可能であってもよい。
【0009】
複数の前記選択項目には、特殊選択項目を含み、
前記演出要素を設定する処理は、
プレイヤによって前記特殊選択項目が選択された場合に、前記第1演出要素を設定せずに、前記第2演出要素を設定し、
前記演出要素を表示する処理は、
プレイヤによって前記特殊選択項目が選択されて前記第2演出要素が設定された場合に、前記第2演出要素を繰り返し表示し、
プレイヤによって前記特定選択項目が選択されて前記第2演出要素を表示する場合と、プレイヤによって前記特殊選択項目が選択されて前記第2演出要素を表示する場合とで、共通のデータに基づいて前記第2演出要素を表示し、
情報処理プログラムは、
プレイヤによって前記特定選択項目が選択されて前記第2演出要素を表示する場合と、プレイヤによって前記特殊選択項目が選択されて前記第2演出要素を表示する場合とで、異なる制御を実行する処理、
をコンピュータに遂行させてもよい。
【0010】
上記課題を解決するために、情報処理方法は、
1または複数のコンピュータが遂行する情報処理方法であって、
前記コンピュータは、
特定選択項目を含む、複数の選択項目から少なくともいずれかを選択するプレイヤの操作を受け付ける処理と、
プレイヤによって選択された前記選択項目に対応する1または複数の演出要素を設定する処理と、
所定の開始タイミングにおいて、設定された前記演出要素を表示する処理と、
を遂行し、
前記演出要素を設定する処理は、
プレイヤによって前記特定選択項目が選択された場合に、第1演出要素および第2演出要素を設定し、
前記演出要素を表示する処理は、
プレイヤによって前記特定選択項目が選択されて前記第1演出要素および前記第2演出要素が設定された場合に、前記第1演出要素を表示した後に、前記第2演出要素を繰り返し表示する。
(【0011】以降は省略されています)
この特許をJ-PlatPat(特許庁公式サイト)で参照する
関連特許
他の特許を見る