TOP
|
特許
|
意匠
|
商標
特許ウォッチ
Twitter
他の特許を見る
10個以上の画像は省略されています。
公開番号
2025181502
公報種別
公開特許公報(A)
公開日
2025-12-11
出願番号
2024089531
出願日
2024-05-31
発明の名称
事故通報装置、事故通報方法および事故通報プログラム
出願人
パイオニア株式会社
代理人
個人
主分類
B60R
21/00 20060101AFI20251204BHJP(車両一般)
要約
【課題】事故について適切な検知を行うこと。
【解決手段】車両に搭載され、当該車両の事故を検知した場合に外部への通報を行う事故通報装置であって、車両に搭載されるセンサの出力に基づいて事故検知の確度を判定する判定部12dと、確度に応じて、前記通報のモードを選択する選択部12gと、選択部12gにより選択されたモードで、通報処理を実行する通報処理部12hと、を備え、選択部12hは、確度が第1基準を満たした場合に、ユーザに通報操作を促す情報を提示して、ユーザによる通報操作を受付けた際に通報を行う第1通報モードを選択し、前記確度が第1基準よりも確度が高い第2基準を満たす場合に、所定時間内にユーザによる取消操作を受付けない限り通報を自動で行う第2通報モードを選択する、ことを特徴とする事故通報装置。
【選択図】図25
特許請求の範囲
【請求項1】
車両に搭載され、当該車両の事故を検知した場合に外部への通報を行う事故通報装置であって、
前記車両に搭載されるセンサの出力に基づいて事故検知の確度を判定する判定部と、
前記確度に応じて、前記通報のモードを選択する選択部と、
前記選択部により選択されたモードで、通報処理を実行する通報処理部と、
を備え、
前記選択部は、前記確度が第1基準を満たした場合に、ユーザに通報操作を促す情報を提示して、前記ユーザによる前記通報操作を受付けた際に前記通報を行う第1通報モードを選択し、前記確度が前記第1基準よりも確度が高い第2基準を満たす場合に、所定時間内に前記ユーザによる取消操作を受付けない限り前記通報を自動で行う第2通報モードを選択する、ことを特徴とする事故通報装置。
続きを表示(約 1,200 文字)
【請求項2】
前記通報処理部は、前記第1通報モードが選択された場合、前記ユーザに通報操作を促す情報を提示した後、所定時間内に前記通報操作がなされなかった場合、前記通報操作を促す情報の提示を中止する通報処理を実行することを特徴とする請求項1に記載の事故通報装置。
【請求項3】
前記選択部は、前記第2基準よりも確度が高い第3基準を満たす場合に、乗員による取り消し操作を受け付けることなく通報を行う第3通報モードを選択することを特徴とする請求項1に記載の事故通報装置。
【請求項4】
前記センサは、
加速度センサとマイクとを含み、
前記判定部は、
前記加速度センサの出力が第1衝撃閾値を超え、且つ、略同時に前記マイクの出力が第1音閾値を超えた場合に、前記確度が第1基準を満たすと判定し、
前記加速度センサの出力が前記第1衝撃閾値より大きい第2衝撃閾値を超えた場合に、前記確度が第2基準を満たすと判定する、ことを特徴とする請求項1に記載の事故通報装置。
【請求項5】
車両に搭載され、当該車両の事故を検知した場合に外部への通報を行う事故通報方法であって、
前記車両に搭載されるセンサの出力に基づいて事故検知の確度を判定する判定方法と、
前記確度に応じて、前記通報のモードを選択する選択方法と、
前記選択方法により選択されたモードで、通報処理を実行する通報処理方法と、
を備え、
前記選択方法は、前記確度が第1基準を満たした場合に、ユーザに通報操作を促す情報を提示して、前記ユーザによる前記通報操作を受付けた際に前記通報を行う第1通報モードを選択し、前記確度が前記第1基準よりも確度が高い第2基準を満たす場合に、所定時間内に前記ユーザによる取消操作を受付けない限り前記通報を自動で行う第2通報モードを選択する、ことを特徴とする事故通報方法。
【請求項6】
車両に搭載され、当該車両の事故を検知した場合に外部への通報を行う事故通報プログラムであって、
前記車両に搭載されるセンサの出力に基づいて事故検知の確度を判定する判定ステップと、
前記確度に応じて、前記通報のモードを選択する選択ステップと、
前記選択ステップにより選択されたモードで、通報処理を実行する通報処理ステップと、
を備え、
前記選択ステップは、前記確度が第1基準を満たした場合に、ユーザに通報操作を促す情報を提示して、前記ユーザによる前記通報操作を受付けた際に前記通報を行う第1通報モードを選択し、前記確度が前記第1基準よりも確度が高い第2基準を満たす場合に、所定時間内に前記ユーザによる取消操作を受付けない限り前記通報を自動で行う第2通報モードを選択する、ことを特徴とする事故通報プログラム。
発明の詳細な説明
【技術分野】
【0001】
本発明は、事故通報装置、事故通報方法および事故通報プログラムに関する。
続きを表示(約 2,700 文字)
【背景技術】
【0002】
自動車の事故発生時の前後の車両状況情報(前方映像、車両速度、急加減速など)を記憶するドライブレコーダは、自動車の衝突事故などの際の検証に有益な情報を提供することになるので、特にトラック等の運送用の車両や、タクシー、バス等の営業用車両への搭載が広まっており、さらに、一般の車両にも搭載されつつある。
【先行技術文献】
【特許文献】
【0003】
特開2022-000818号公報
【発明の概要】
【発明が解決しようとする課題】
【0004】
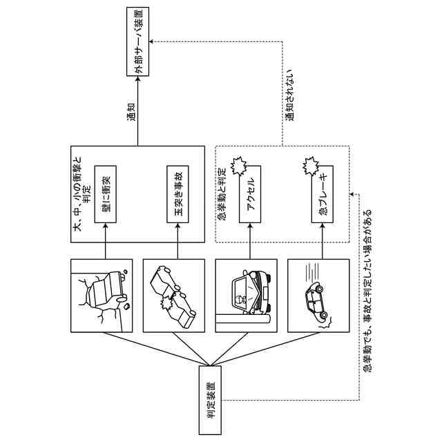
しかしながら、従来技術では、事故について適切な検知が行われないことがある。例えば、事故には、車両が受けた衝撃のレベルによって事故か否かを判定し、緊急通報を行う場合があるが、従来技術では、事故が発生した場合に、衝撃のレベルが低いため事故と検知されずに、急挙動という検知がされることがある。そのため、従来技術では、車両の乗員は事故が発生していると認識しているが、装置は事故と判定していないため緊急通報されないまたは繋がらないという事態に陥ることがある。
【0005】
上述した課題を解決し、目的を達成するため、この装置は、事故について適切な検知を行うことを目的とする。
【課題を解決するための手段】
【0006】
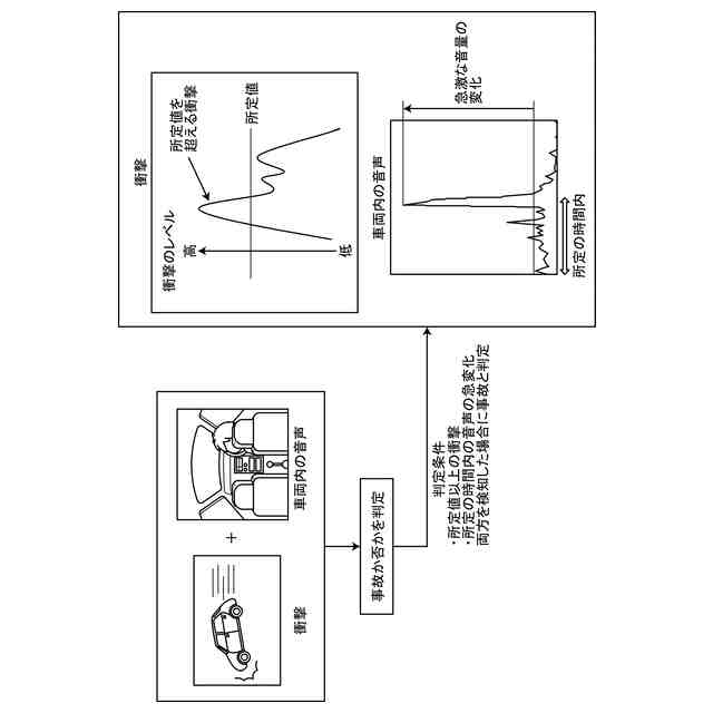
本発明は、車両に搭載される判定装置であって、車両に生じる衝撃を検知する第1検知部と、車両内の音声を検知する第2検知部と、第1検知部および第2検知部の検知結果に基づき車両の事故を判定する判定部と、を有し、判定部は、第1検知部が所定値以上の衝撃を検知し、且つ、当該衝撃が検知されたタイミングを含む所定期間内に第2検知部が音声の音量の急変化を検知したとき、事故と判定する、判定装置を提供する。
【図面の簡単な説明】
【0007】
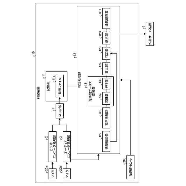
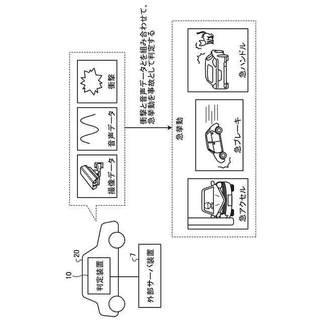
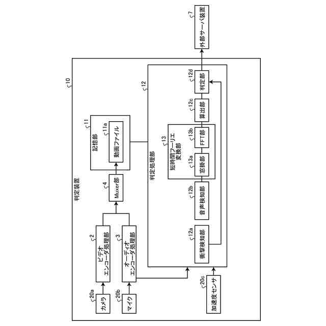
図1は、実施形態1に係るシステムの全体構成例を示す図である。
図2は、一般的な事故判定処理での課題の一例を示す図である。
図3は、実施形態1に係る判定装置の処理内容を説明する図である。
図4は、実施形態1に係る判定装置のブロック図の一例を示す図である。
図5は、実施形態1に係る衝撃検知部により検知される衝撃の区分の一例を示す図である。
図6は、実施形態1に係るFFT解析を行った音声データの一例を示す図である。
図7は、実施形態1に係るFFT解析を行った音声データの一例を示す図である。
図8は、実施形態1に係る判定条件の一例を示す図である。
図9は、実施形態1に係る判定の条件の一例を示す図である。
図10は、実施形態1に係る判定の条件の一例を示す図である。
図11は、実施形態1に係る判定装置の効果の一例を示す図である。
図12は、実施形態1に係る判定処理手順の一例を示すフローチャートである。
図13は、実施形態1に係る判定処理手順の一例を示すフローチャートである。
図14は、実施形態1に係る判定条件の一例を示す図である。
図15は、一般的な事故報知処理の課題の一例を示す図である。
図16は、実施形態2に係る判定装置の処理内容を説明する図である。
図17は、実施形態2に係る判定装置のブロック図の一例を示す図である。
図18は、実施形態2に係る設定変更の画面の一例を示す図である。
図19は、実施形態2に係る衝撃と音声の閾値の設定変更の例について説明する図である。
図20は、実施形態2に係る設定変更の例について説明する図である。
図21は、実施形態2に係る設定変更部が表示する比較対象の一例を示す図である。
図22は、第2の実施形態に係る判定装置における処理の流れの一例を示すフローチャートである。
図23は、一般的な事故報知処理の課題の一例を示す図である。
図24は、実施形態3に係る判定装置の処理内容を説明する図である。
図25は、実施形態3に係る判定装置のブロック図の一例を示す図である。
図26は、実施形態3に係る判定部が判定する確度の一例を示す図である。
図27は、実施形態3に係る通信処理部が実行する通報の一例を示す図である。
図28は、実施形態3に係る通信処理部が実行する通報の一例を示す図である。
図29は、実施形態3に係る判定部の処理の一例を示す図である。
図30は、実施形態3に係る事故通報処理手順の一例を示すフローチャートである。
図31は、実施形態3に係る事故通報処理手順の一例を示すフローチャートである。
図32は、ハードウェア構成例を示す図である。
【発明を実施するための形態】
【0008】
以下に、本願の開示する通報装置、報知方法および報知プログラムの実施例を図面に基づいて詳細に説明する。なお、この実施例によりこの発明が限定されるものではない。また、各実施例は、矛盾のない範囲で適宜組み合わせることができる。
【0009】
<実施形態1>
(全体構成)
実施形態1に係る判定装置について説明する。図1は、実施形態1に係るシステムの全体構成例を説明する図である。図1に示すように、実施形態1に係るシステムは、車両20と、車両20に搭載される判定装置10と、外部サーバ装置7とを有する。図1に示されるように、車両20が走行中の撮像データ、音声データ、衝撃を検知し、検知された内容に基づいて事故発生を判定する。なお、判定装置10と車両20とは、図1に示す数に限られない。
【0010】
判定装置10は、車両20が事故を起こしているか否かを判定する装置である。例えば、判定装置10は、車両20が受けた衝撃と車両20内の音声データとを組み合わせて、事故か否かの判定を行うコンピュータ装置の一例である。例えば、判定装置10は、車両20に内蔵あるいは積載される専用のナビゲーション装置であってよい。また、判定装置10は、ナビゲーション装置と、録画装置(ドライブレコーダ)とで構成されてもよい。この一例として、判定装置10は、互いに独立したナビゲーション装置および録画装置が通信可能に接続された複合的な装置であってよい。他の例として、判定装置10は、ナビゲーション機能と、録画機能とを有する1つの装置であってもよい。
(【0011】以降は省略されています)
この特許をJ-PlatPat(特許庁公式サイト)で参照する
関連特許
他の特許を見る