TOP
|
特許
|
意匠
|
商標
特許ウォッチ
Twitter
他の特許を見る
公開番号
2025181497
公報種別
公開特許公報(A)
公開日
2025-12-11
出願番号
2024089517
出願日
2024-05-31
発明の名称
まつげエクステンション用カウントシステム
出願人
株式会社アンデパンダンス
代理人
個人
主分類
G06M
1/276 20060101AFI20251204BHJP(計算;計数)
要約
【課題】フットスイッチと表示装置が無線通信でき、表示装置として専用装置だけでなく、様々な端末装置を使用できるまつげエクステンション用カウントシステムを提供する。
【解決手段】施術者が被施術者に装着するまつ毛の本数を施術者の足趾を使用して計数するためのまつ毛エクステンション用カウントシステム100であって、フットスイッチ2と、表示装置1と、から構成され、フットスイッチ2は、左入力部21及び右入力部22と、通信部と、制御部と、を備え、表示装置1は、通信部と、左計数値19aと右計数値19bの合計値19cを演算する演算部を含む制御部と、入力部と、左計数値と右計数値と合計値を表示する表示部19と、を備え、入力部は、左計数値と右計数値と合計値のうちいずれか1つ以上を消去するリセットボタン15a~15cを備える。
【選択図】図6
特許請求の範囲
【請求項1】
施術者が被施術者の自毛に人工まつ毛を両手で装着していく作業中に、前記被施術者に装着するまつ毛の本数を前記施術者の足趾を使用して計数するためのまつ毛エクステンション用カウントシステムであって、
フットスイッチと、該フットスイッチと無線通信する表示装置と、から構成され、
前記フットスイッチは、
左足趾を載せて押すことで計数する左入力部と、
右足趾を載せて押すことで計数する右入力部と、
前記左入力部で計数された左計数値と、前記右入力部で計数された右計数値と、を送信する通信部と、
前記左入力部と、前記右入力部と、前記通信部と、を制御する制御部と、
を備え、
前記表示装置は、
前記左計数値と、前記右計数値と、を受信する通信部と、
前記左計数値と前記右計数値の合計値を演算する演算部を含む制御部と、
入力部と、
前記左計数値と、前記右計数値と、前記合計値を表示する表示部と、
を備え、
前記入力部は、
前記左計数値と、前記右計数値と、前記合計値と、のうちいずれか1つ以上を消去するリセットボタンと、
を備えることを特徴とするまつ毛エクステンション用カウントシステム。
続きを表示(約 640 文字)
【請求項2】
前記表示装置の前記入力部は、更に左計数値と右計数値をそれぞれ計数する左計数ボタンと右計数ボタンと、を備え、前記演算部は、前記左計数ボタンと前記右計数ボタンによって計数された数値の合計値を演算し、前記表示装置の前記表示部は、前記表示装置の前記入力部で計数された左計数値と、右計数値と、合計値と、を表示することを特徴とする請求項1に記載のまつ毛エクステンション用カウントシステム。
【請求項3】
前記表示装置の前記入力部は、前記フットスイッチのスリープ期間を設定する設定画面を備え、前記通信部は前記スリープ期間を前記フットスイッチに送信し、前記フットスイッチの前記制御部は、前記左入力部と前記右入力部のどちらも押されない状態が前記スリープ期間継続した後、前記フットスイッチを非通電状態とすることを特徴とする請求項1又は2に記載のまつ毛エクステンション用カウントシステム。
【請求項4】
前記スリープ期間後に非通電状態になった前記フットスイッチにおいて、前記左入力部と前記右入力部のどちらか一方又は両方が押された場合に、前記フットスイッチの通電が開始することを特徴とする請求項3に記載のまつ毛エクステンション用カウントシステム。
【請求項5】
前記表示装置は、スマートフォン、タブレット端末、スマートウォッチおよびパーソナルコンピュータのいずれかである、請求項1又は2に記載のまつ毛エクステンション用カウントシステム。
発明の詳細な説明
【技術分野】
【0001】
本発明は、施術者が被施術者の自毛に人工まつ毛を両手で装着していく作業中に、被施術者に装着するまつ毛の本数を施術者の足趾を使用して計数するためのまつ毛エクステンション用カウントシステムに関する。
続きを表示(約 2,400 文字)
【背景技術】
【0002】
まつ毛エクステンションは、まつげ1本に対して人工まつ毛1本を特殊接着剤で装着していく美容技術であり、非常に緻密な作業のため高度な施術が必要とされる。一般に、被施術者は、出来るだけ多くの人工まつ毛を付けたいと希望することが多く、装着した人工まつ毛の本数を正確に知りたいという要望がある。施術者はいくつかの種類の人工まつ毛を施術テーブルや手の甲、ベッド(施術台)の上に用意して、自毛の状態を確認しながら、様々な種類の人工まつ毛を選んで施術する。そのため、予め必要な本数分の人工まつ毛を準備することが難しく、施術中に人工まつ毛の装着本数を正確に数える必要がある。
【0003】
従来、まつ毛エクステンションでは、装着する人工まつ毛の本数を正確に数えるために、様々な計数機やカウンタ装置が開発されてきた。従来の手押しの数取器は、人工まつ毛を1本装着するごとに片手で操作して装着本数を計数するため、その操作性に一定の経験や熟練度が必要とされ、施術作業の集中力低下や作業時間の短縮化と効率化に問題があった。そのため、両手のハンドフリーを確保しながら、足で操作することにより計数できるカウンタ装置の需要が高まっている。
【0004】
特許文献1のまつ毛エクステンション用電子カウンタ装置200は、フットスイッチ30を押すことで人工まつ毛の装着本数を計数できる装置である(図8参考)。この発明によれば、施術者60はハンドフリーを確保しながらも被施術者70に装着する人工まつ毛の本数を計数でき、施術者60が見やすい場所及び角度に、計数を表示する本体50を施術テーブル等に取り付けることができる。
【先行技術文献】
【特許文献】
【0005】
特許第5750734号公報
【発明の概要】
【発明が解決しようとする課題】
【0006】
特許文献1のまつ毛エクステンション用電子カウンタ装置200は、図8に示すようにフットスイッチ30と本体50が電気コード40を介して接続されている。そのため、設置できる場所は電気コード40の寸法に依存し、電子カウンタ装置の本体50の設置場所が限られる。また、電気コード40又は本体50が破損した場合には、フットスイッチ30が機能していても使用することができない。更に、本体50が電気コード40を介して接続されていることで、本体50が設置されている施術テーブルを動かし難くなる上に、足を引っかける危険もある。また、美容サロン内の美と癒しの空間のイメージを損なわないようにするためにも電気コード40がない方が望ましい。このような理由から、フットスイッチと本体が無線で接続されることが望まれる。また、電子カウンタ装置の表示部である本体は専用装置だけでなく、施術者が所有している端末装置(スマートフォン、タブレット端末等)を使用できることが望まれる。
【0007】
本発明は上記課題に鑑み、フットスイッチと表示装置が無線通信でき、表示装置として専用装置だけでなく、様々な端末装置を使用できるまつげエクステンション用カウントシステムを提供することを目的とする。
【課題を解決するための手段】
【0008】
上記課題を解決するために、本発明のまつ毛エクステンション用カウントシステムは、施術者が被施術者の自毛に人工まつ毛を両手で装着していく作業中に、前記被施術者に装着するまつ毛の本数を前記施術者の足趾を使用して計数するためのまつ毛エクステンション用カウントシステムであって、フットスイッチと、該フットスイッチと無線通信する表示装置と、から構成され、前記フットスイッチは、左足趾を載せて押すことで計数する左入力部と、右足趾を載せて押すことで計数する右入力部と、前記左入力部で計数された左計数値と、前記右入力部で計数された右計数値と、を送信する通信部と、前記左入力部と、前記右入力部と、前記通信部と、を制御する制御部と、を備え、前記表示装置は、前記左計数値と、前記右計数値と、を受信する通信部と、前記左計数値と前記右計数値の合計値を演算する演算部を含む制御部と、入力部と、前記左計数値と、前記右計数値と、前記合計値を表示する表示部と、を備え、前記入力部は、前記左計数値と、前記右計数値と、前記合計値と、のうちいずれか1つ以上を消去するリセットボタンと、を備えることを特徴とする。
【発明の効果】
【0009】
本発明のまつげエクステンション用カウントシステムにより、フットスイッチと表示装置が無線通信できるため、表示装置を設置する場所の自由度が増える。また、本発明のまつげエクステンション用カウントシステムの表示装置として、施術者が見やすい画面の端末装置を使用することができる。
【図面の簡単な説明】
【0010】
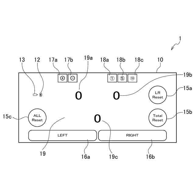
本発明の一実施形態であるまつげエクステンション用カウントシステムの構成を示すブロック図である。
本発明の一実施形態である表示装置の画面である。
本発明の一実施形態である表示装置を横にした状態の画面である。
本発明の一実施形態であるフットスイッチの平面図である。
本発明の一実施形態であるフットスイッチの(A)は側面図、(B)は背面図である。
本発明の一実施形態であるまつげエクステンション用カウントシステムの使用態様を示す説明図である。
本発明の一実施形態である表示装置の使用態様を示す画面である。
従来のまつ毛エクステンション用電子カウンタ装置の使用態様を示す全体斜視図である。
【発明を実施するための形態】
(【0011】以降は省略されています)
この特許をJ-PlatPat(特許庁公式サイト)で参照する
関連特許
他の特許を見る