TOP
|
特許
|
意匠
|
商標
特許ウォッチ
Twitter
他の特許を見る
10個以上の画像は省略されています。
公開番号
2025181487
公報種別
公開特許公報(A)
公開日
2025-12-11
出願番号
2024089504
出願日
2024-05-31
発明の名称
サンドイッチパネルの連結構造
出願人
積水ソフランウイズ株式会社
代理人
個人
,
個人
主分類
E04B
2/74 20060101AFI20251204BHJP(建築物)
要約
【課題】耐火性能に優れるサンドイッチパネルの連結構造を提供する。
【解決手段】本発明のサンドイッチパネルの連結構造100は、厚み方向に相対する二つの主面5C,5D及び相対する二つの主面5C,5Dを繋ぐ二つの側面5A,5Bを少なくとも有し、かつ有機系芯材を含む芯材5と、少なくとも芯材5の主面5C,5Dを覆う表面材10とを備えるサンドイッチパネル1を隣接して配置されているサンドイッチパネルの連結構造であって、隣接する一対のサンドイッチパネル1の側面1X,1Yを突き合わせた連結部2により連結し、連結部にはサンドイッチパネル1の厚み方向に部分的に熱膨張性耐火材20が配置されている。
【選択図】図1
特許請求の範囲
【請求項1】
厚み方向に相対する二つの主面及び前記相対する二つの主面を繋ぐ二つの側面を少なくとも有し、かつ有機系芯材を含む芯材と、少なくとも前記芯材の主面を覆う表面材とを備えるサンドイッチパネルを隣接して配置されているサンドイッチパネルの連結構造であって、
隣接する一対の前記サンドイッチパネルの側面を突き合わせた連結部により連結し、前記連結部には前記サンドイッチパネルの厚み方向に部分的に熱膨張性耐火材が配置されている、サンドイッチパネルの連結構造。
続きを表示(約 550 文字)
【請求項2】
前記熱膨張性耐火材は、前記表面材の前記芯材の側面を覆う部分及び前記芯材の側面の少なくともいずれかに配置されている、請求項1に記載のサンドイッチパネルの連結構造。
【請求項3】
前記有機系芯材は、有機発泡体である、請求項1又は2に記載のサンドイッチパネルの連結構造。
【請求項4】
少なくとも一対の前記熱膨張性耐火材が設けられ、前記一対の前記熱膨張性耐火材が、サンドイッチパネルの厚み方向における中央部を挟んで配置される請求項1又は2に記載のサンドイッチパネルの連結構造。
【請求項5】
前記熱膨張性耐火材が、サンドイッチパネルの厚み方向における中央部に設けられる請求項1又は2に記載のサンドイッチパネルの連結構造。
【請求項6】
前記連結部を構成する前記サンドイッチパネルの側面はいずれも、凹凸が設けられ、かつ互いに嵌合される、請求項1又は2に記載のサンドイッチパネルの連結構造。
【請求項7】
前記連結部に仕切り材をさらに備える、請求項1又は2に記載のサンドイッチパネルの連結構造。
【請求項8】
前記連結部に充填材をさらに備える、請求項1又は2に記載のサンドイッチパネルの連結構造。
発明の詳細な説明
【技術分野】
【0001】
本発明は、建築物における仕切り部に設けられるサンドイッチパネルの連結構造に関する。
続きを表示(約 2,400 文字)
【背景技術】
【0002】
建築物における仕切り部には、耐火性を向上させるためのサンドイッチパネルが設けられることがある。サンドイッチパネルとしては、例えば、ロックウール繊維を圧縮成形してなる繊維質マットの芯材と、該繊維質マットの両面に接着一体化された金属板とを備えたサンドイッチパネルが提案されている(例えば、特許文献1参照)。
【0003】
従来のロックウール繊維を構成材料とするサンドイッチパネルでは、ロックウール繊維の断熱性能が低いため、断熱性能が要求される場所においては、サンドイッチパネルを設置した後に断熱性能が優れるウレタンフォームを吹き増しすることで断熱性能を確保する必要がある。また、ロックウール繊維を構成材料とするサンドイッチパネルは、ロックウール繊維が重量物であるため、施工時などに取り扱いが困難である。
そのため、サンドイッチパネルとしては、断熱性能及び取扱い性を向上させるために芯材としてウレタンフォーム等が使用されることも検討されている(例えば、特許文献2参照)。
【先行技術文献】
【特許文献】
【0004】
特開平6-123141号公報
特開2021-088923号公報
【発明の概要】
【発明が解決しようとする課題】
【0005】
ところで、建築物における仕切り部は、複数のサンドイッチパネルの端部同士を突き合わせて連結した構成とすることがある。サンドイッチパネルの端部同士を突き合わせた連結部では、連結が不十分である場合には酸素流入による燃焼性が悪化したり、芯材として用いるウレタンフォーム等の有機材料の炭化収縮によって隙間が生じて熱パスの発生により耐火性能が低下したりすることがあり、断熱性を良好に維持しながら、耐火性能を向上させることは困難であった。
【0006】
そこで、本発明は、断熱性を良好に維持しながら、耐火性能を向上させることができるサンドイッチパネルの連結構造を提供することを課題とする。
【課題を解決するための手段】
【0007】
本発明は、上記課題を解決するためになされたものであり、本発明の要旨は、以下のとおりである。
[1]厚み方向に相対する二つの主面及び前記相対する二つの主面を繋ぐ二つの側面を少なくとも有し、かつ有機系芯材を含む芯材と、少なくとも前記芯材の主面を覆う表面材とを備えるサンドイッチパネルを隣接して配置されているサンドイッチパネルの連結構造であって、隣接する一対の前記サンドイッチパネルの側面を突き合わせた連結部により連結し、前記連結部には前記サンドイッチパネルの厚み方向に部分的に熱膨張性耐火材が配置されている、サンドイッチパネルの連結構造。
[2]前記熱膨張性耐火材は、前記表面材の前記芯材の側面を覆う部分及び前記芯材の側面の少なくともいずれかに配置されている、[1]に記載のサンドイッチパネルの連結構造。
[3]前記有機系芯材は、有機発泡体である、[1]又は[2]に記載のサンドイッチパネルの連結構造。
[4]少なくとも一対の前記熱膨張性耐火材が設けられ、前記一対の前記熱膨張性耐火材が、サンドイッチパネルの厚み方向における中央部を挟んで配置される[1]~[3]のいずれかに記載のサンドイッチパネルの連結構造。
[5]前記熱膨張性耐火材が、サンドイッチパネルの厚み方向における中央部に設けられる[1]~[3]のいずれかに記載のサンドイッチパネルの連結構造。
[6]前記連結部を構成する前記サンドイッチパネルの側面はいずれも、凹凸が設けられ、かつ互いに嵌合される、[1]~[5]のいずれかに記載のサンドイッチパネルの連結構造。
[7]前記連結部に仕切り材をさらに備える、[1]~[6]のいずれかに記載のサンドイッチパネルの連結構造。
[8]前記連結部に充填材をさらに備える、[1]~[7]のいずれかに記載のサンドイッチパネルの連結構造。
【発明の効果】
【0008】
本発明によれば、耐火性能に優れるサンドイッチパネルの連結構造を提供することができる。
【図面の簡単な説明】
【0009】
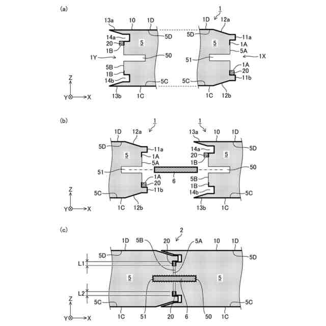
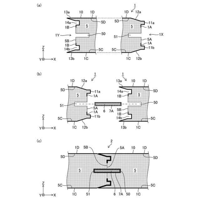
本発明の実施形態に係るサンドイッチパネルの連結構造の模式図である。
本発明の第1の実施形態に係るサンドイッチパネルの連結構造の連結部を示す模式的断面図である。
本発明の第1の実施形態の変形例に係るサンドイッチパネルの連結構造の連結部を示す模式的断面図である。
本発明の第2の実施形態に係るサンドイッチパネルの連結構造の連結部を示す模式的断面図である。
本発明の第3の実施形態に係るサンドイッチパネルの連結構造の連結部を示す模式的断面図である。
本発明の第3の実施形態の変形例に係るサンドイッチパネルの連結構造の連結部を示す模式的断面図である。
本発明の第4の実施形態に係るサンドイッチパネルの連結構造の連結部を示す模式的断面図である。
本発明の第4の実施形態の変形例に係るサンドイッチパネルの連結構造の連結部を示す模式的断面図である。
本発明のその他の実施形態に係るサンドイッチパネルの連結構造の連結部を示す模式的断面図(その1)である。
本発明のその他の実施形態に係るサンドイッチパネルの連結構造の連結部を示す模式的断面図(その2)である。
本発明のその他の実施形態に係るサンドイッチパネルの連結構造の連結部を示す模式的断面図(その3)である。
【発明を実施するための形態】
【0010】
以下、本発明について実施形態を用いてより詳細に説明する。
(【0011】以降は省略されています)
この特許をJ-PlatPat(特許庁公式サイト)で参照する
関連特許
他の特許を見る