TOP
|
特許
|
意匠
|
商標
特許ウォッチ
Twitter
他の特許を見る
10個以上の画像は省略されています。
公開番号
2025181486
公報種別
公開特許公報(A)
公開日
2025-12-11
出願番号
2024089503
出願日
2024-05-31
発明の名称
サンドイッチパネル及びサンドイッチパネルの連結構造
出願人
積水ソフランウイズ株式会社
代理人
個人
,
個人
主分類
E04C
2/292 20060101AFI20251204BHJP(建築物)
要約
【課題】耐火性能に優れるサンドイッチパネル及びサンドイッチパネルの連結構造を提供する。
【解決手段】本発明のサンドイッチパネル1は、相対する二つの主面5C,5D及び相対する二つの主面5C,5Dを繋ぐ二つの側面5A,5Bを少なくとも有し、かつ有機系芯材を含む芯材5と、芯材5の二つの主面5C,5D及び二つの側面5A,5Bの略全面を覆い、かつ側面5A,5Bを覆う部分に凸部11a~c,13a~b及び凹部12a~b,14a~cが設けられる表面材10とを備える。
【選択図】図2
特許請求の範囲
【請求項1】
相対する二つの主面及び前記相対する二つの主面を繋ぐ二つの側面を少なくとも有し、かつ有機系芯材を含む芯材と、
前記芯材の前記二つの主面及び前記二つの側面の略全面を覆い、かつ前記側面を覆う部分に凸部及び凹部が設けられる表面材とを備える、サンドイッチパネル。
続きを表示(約 630 文字)
【請求項2】
前記有機系芯材は、有機発泡体である、請求項1に記載のサンドイッチパネル。
【請求項3】
前記表面材は、前記側面を覆う部分に熱縁切り部を有する、請求項1に記載のサンドイッチパネル。
【請求項4】
前記熱縁切り部が間隙により構成される請求項3に記載のサンドイッチパネル。
【請求項5】
一方の前記側面を覆う部分に設けられる凹凸が、他方の前記側面を覆う部分に設けられる凸凹に対して反転形状を有する、請求項1に記載のサンドイッチパネル。
【請求項6】
前記表面材が不燃面材である請求項1に記載のサンドイッチパネル。
【請求項7】
請求項1~6のいずれか1項に記載のサンドイッチパネルを隣接して配置し、隣接する一対のサンドイッチパネルの側面を突き合わせた連結部により連結する、サンドイッチパネルの連結構造。
【請求項8】
前記連結部における一方のサンドイッチパネルの側面に設けられる凹凸が、他方のサンドイッチパネルの側面に設けられる凸凹に対して反転形状を有する、請求項7に記載のサンドイッチパネルの連結構造。
【請求項9】
前記連結部に熱縁切り部としての仕切り材をさらに備える、請求項7に記載のサンドイッチパネルの連結構造。
【請求項10】
前記連結部に充填材をさらに備える、請求項7に記載のサンドイッチパネルの連結構造。
発明の詳細な説明
【技術分野】
【0001】
本発明は、建築物における仕切り部に設けられるサンドイッチパネル及びサンドイッチパネルの連結構造に関する。
続きを表示(約 2,300 文字)
【背景技術】
【0002】
建築物における仕切り部には、耐火性を向上させるためのサンドイッチパネルが設けられることがある。サンドイッチパネルとしては、例えば、ロックウール繊維を圧縮成形してなる繊維質マットの芯材と、該繊維質マットの両面に接着一体化された金属板とを備えたサンドイッチパネルが提案されている(例えば、特許文献1参照)。
【0003】
従来のロックウール繊維を構成材料とするサンドイッチパネルでは、ロックウール繊維の断熱性能が低いため、断熱性能が要求される場所においては、サンドイッチパネルを設置した後に断熱性能が優れるウレタンフォームを吹き増しすることで断熱性能を確保する必要がある。また、ロックウール繊維を構成材料とするサンドイッチパネルは、ロックウール繊維が重量物であるため、施工時などに取り扱いが困難である。
そのため、サンドイッチパネルとしては、断熱性能及び取扱い性を向上させるために芯材としてウレタンフォーム等が使用されることも検討されている(例えば、特許文献2参照)。
【先行技術文献】
【特許文献】
【0004】
特開平6-123141号公報
特開2021-088923号公報
【発明の概要】
【発明が解決しようとする課題】
【0005】
ところで、建築物における仕切り部は、複数のサンドイッチパネルの端部同士を突き合わせて連結した構成とすることがある。サンドイッチパネルの端部同士を突き合わせた連結部では、連結が不十分である場合には酸素流入によって燃焼性が悪化したり、芯材として用いるウレタンフォーム等の有機材料の炭化収縮によって隙間が生じて熱パスの発生により耐火性能が低下したりすることがあった。
【0006】
そこで、本発明は、耐火性能に優れるサンドイッチパネル及びサンドイッチパネルの連結構造を提供することを課題とする。
【課題を解決するための手段】
【0007】
本発明は、上記課題を解決するためになされたものであり、本発明の要旨は、以下のとおりである。
[1]相対する二つの主面及び前記相対する二つの主面を繋ぐ二つの側面を少なくとも有し、かつ有機系芯材を含む芯材と、前記芯材の前記二つの主面及び前記二つの側面の略全面を覆い、かつ前記側面を覆う部分に凸部及び凹部が設けられる表面材とを備える、サンドイッチパネル。
[2]前記有機系芯材は、有機発泡体である、[1]に記載のサンドイッチパネル。
[3]前記表面材は、前記側面を覆う部分に熱縁切り部を有する、[1]又は[2]に記載のサンドイッチパネル。
[4]前記熱縁切り部が間隙により構成される[3]に記載のサンドイッチパネル。
[5]一方の前記側面を覆う部分に設けられる凹凸が、他方の前記側面を覆う部分に設けられる凸凹に対して反転形状を有する、[1]~[4]のいずれかに記載のサンドイッチパネル。
[6]前記表面材が不燃面材である[1]~[5]のいずれかに記載のサンドイッチパネル。
[7][1]~[6]のいずれかに記載のサンドイッチパネルを隣接して配置し、隣接する一対のサンドイッチパネルの側面を突き合わせた連結部により連結する、サンドイッチパネルの連結構造。
[8]前記連結部における一方のサンドイッチパネルの側面に設けられる凹凸が、他方のサンドイッチパネルの側面に設けられる凸凹に対して反転形状を有する、[7]に記載のサンドイッチパネルの連結構造。
[9]前記連結部に熱縁切り部としての仕切り材をさらに備える、[7]又は[8]に記載のサンドイッチパネルの連結構造。
[10]前記連結部に充填材をさらに備える、[7]~[9]のいずれかに記載のサンドイッチパネルの連結構造。
【発明の効果】
【0008】
本発明によれば、耐火性能に優れるサンドイッチパネル及びサンドイッチパネルの連結構造を提供することができる。
【図面の簡単な説明】
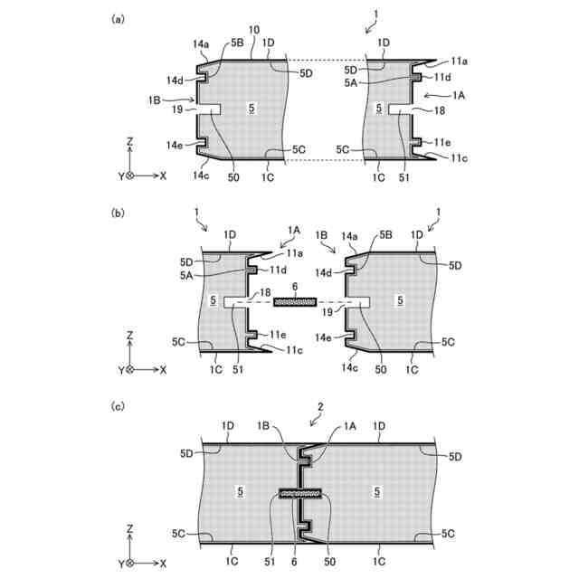
【0009】
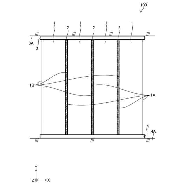
本発明の実施形態に係るサンドイッチパネルの連結構造の模式図である。
本発明の第1の実施形態に係るサンドイッチパネルの模式的断面図である。
本発明の第1の実施形態の変形例に係るサンドイッチパネルの模式的断面図である。
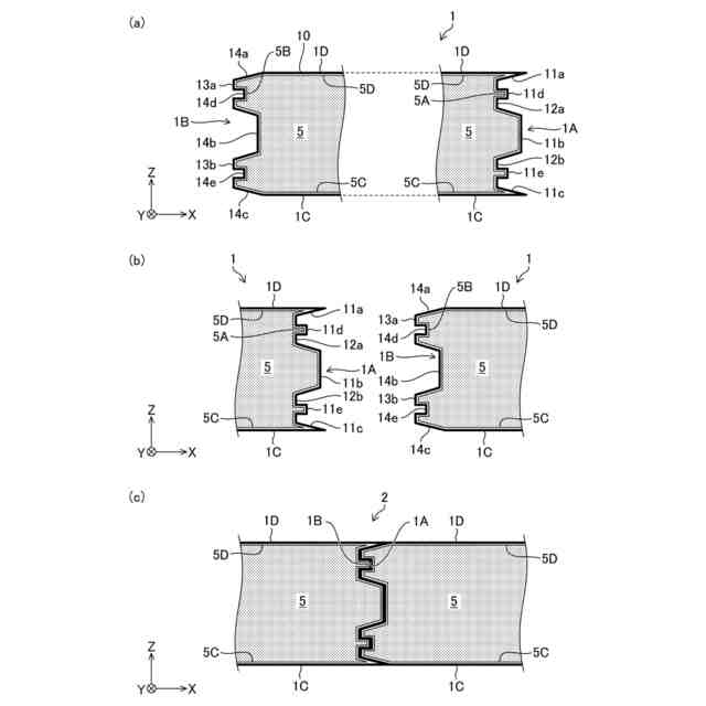
本発明の第2の実施形態に係るサンドイッチパネルの模式的断面図である。
本発明の第2の実施形態の変形例に係るサンドイッチパネルの模式的断面図である。
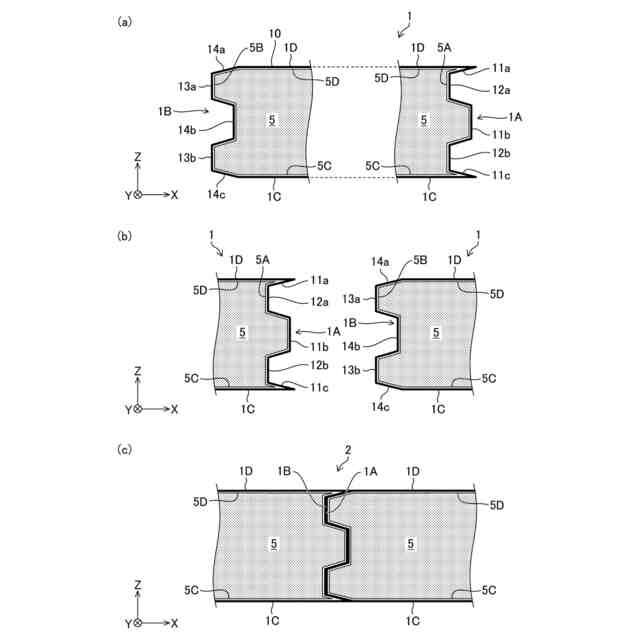
本発明の第3の実施形態に係るサンドイッチパネルの模式的断面図である。
本発明の第3の実施形態の変形例1に係るサンドイッチパネルの模式的断面図である。
本発明の第3の実施形態の変形例2に係るサンドイッチパネルの模式的断面図である。
本発明のその他の実施形態に係るサンドイッチパネルの模式的断面図(その1)である。
本発明のその他の実施形態に係るサンドイッチパネルの模式的断面図(その2)である。
本発明のその他の実施形態に係るサンドイッチパネルの模式的断面図(その3)である。
本発明のその他の実施形態に係るサンドイッチパネルの模式的断面図(その4)である。
【発明を実施するための形態】
【0010】
以下、本発明について実施形態を用いてより詳細に説明する。
(【0011】以降は省略されています)
この特許をJ-PlatPat(特許庁公式サイト)で参照する
関連特許
他の特許を見る