TOP
|
特許
|
意匠
|
商標
特許ウォッチ
Twitter
他の特許を見る
公開番号
2025181482
公報種別
公開特許公報(A)
公開日
2025-12-11
出願番号
2024089488
出願日
2024-05-31
発明の名称
ダイカスト製造装置およびダイカスト用オリフィス
出願人
株式会社ダイレクト21
,
川崎工業株式会社
代理人
個人
,
個人
主分類
B22D
17/22 20060101AFI20251204BHJP(鋳造;粉末冶金)
要約
【課題】ビスケットとダイカスト製品部との間を繋ぐ箇所は折れやすく十分な強度を持たせられなかった。
【解決手段】オリフィス構成部品に冷媒通路を形成し、この冷媒通路に冷却媒体を供給するようにした。併せて、前記オリフィスを通過する第2加圧手段の加圧ピンには内部に冷媒通路を形成し、この冷媒通路に冷却媒体を供給する。
【選択図】図4
特許請求の範囲
【請求項1】
ダイカスト金型に溶湯を射出する第1加圧手段の他に、キャビティに直結する通路を加圧するピンを有する第2加圧手段を設けたダイカスト製造装置において、
前記第2加圧手段の加圧経路にオリフィスを設け、当該オリフィス部分にて溶湯遮蔽をなす構成であって、
前記オリフィス構成部品に冷媒通路を形成し、この冷媒通路に冷却媒体を供給することを特徴とするダイカスト製造装置。
続きを表示(約 1,400 文字)
【請求項2】
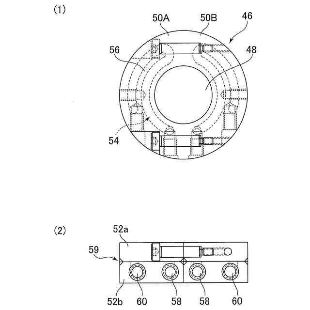
前記オリフィスは円環状の突起であって、可動型と固定型とに取り付けられる半円環状とされ、半円環状のそれぞれに冷媒通路を設け、入口と出口を設けたことを特徴とする請求項1に記載のダイカスト製造装置。
【請求項3】
ダイカスト金型に溶湯を射出する第1加圧手段の他に、キャビティに直結する通路を加圧するピンを有する第2加圧手段を設けたダイカスト製造装置において、
前記第2加圧手段の加圧経路にオリフィスを設け、当該オリフィス部分にて溶湯遮蔽をなす構成であって、
前記オリフィスを通過する第2加圧手段の加圧ピンには内部に冷媒通路を形成し、この冷媒通路に冷却媒体を供給することを特徴とするダイカスト製造装置。
【請求項4】
前記冷媒通路は加圧ピンに形成した通路穴の内部に配管を挿通した二重通路となし、内部配管に入口を接続し、外部の通路穴には出口を接続することにより冷却効果を高めるようにしたことを特徴とする請求項3に記載のダイカスト製造装置。
【請求項5】
ダイカスト金型に溶湯を射出する第1加圧手段の他に、キャビティに直結する通路を加圧するピンを有する第2加圧手段を設けたダイカスト製造装置において、
前記第2加圧手段の加圧経路にオリフィスを設け、当該オリフィス部分にて溶湯遮蔽をなす構成であって、
前記オリフィス構成部品に冷媒通路を形成し、この冷媒通路に冷却媒体を供給するとともに、
前記オリフィスを通過する第2加圧手段の加圧ピンには内部に冷媒通路を形成し、この冷媒通路に冷却媒体を供給することを特徴とするダイカスト製造装置。
【請求項6】
ダイカスト金型に溶湯を射出する第1加圧手段の他に、キャビティに直結する通路を加圧するピンを有する第2加圧手段を設けたダイカスト製造装置に設けられる溶湯遮蔽をなすオリフィスであって、オリフィス構成部品に冷媒通路を形成し、この冷媒通路に冷却媒体を供給することを可能としたダイカスト用オリフィス。
【請求項7】
前記オリフィスは固定金型と可動金型とにそれぞれ取り付けられる半円環状とされ、それぞれ内側の冷媒通路と外側の還流通路とから構成されていることを特徴とする請求項6に記載のダイカスト用オリフィス。
【請求項8】
前記オリフィスは加圧ピンの通る方向に上下分割され、その合わせ面に冷媒通路と還流通路を形成して両者を張り合わせ接合したことを特徴とする請求項7に記載のダイカスト用オリフィス。
【請求項9】
キリ穴を設けて上下に冷媒通路と還流通路を形成し、一端側で両通路を連絡通路で連絡し、他端側に冷媒通路の入口と出口を設けたことを特徴とする請求項7に記載のダイカスト用オリフィス。
【請求項10】
ダイカスト金型に溶湯を射出する第1加圧手段の他に、キャビティに直結する通路を加圧するピンを有する第2加圧手段を設けたダイカスト製造装置において、
前記第2加圧手段の加圧経路にオリフィスを設け、当該オリフィス部分にて溶湯遮蔽をなす構成であって、
前記オリフィスの構成部品にその周辺部材より熱伝導性が高い材料を用いることを特徴とするダイカスト製造装置。
(【請求項11】以降は省略されています)
発明の詳細な説明
【技術分野】
【0001】
本発明はダイカスト製造装置およびダイカスト用オリフィスに関し、特にランナー加圧法や局部加圧法を用いられる部分の冷却構造を備えたダイカスト製造装置およびダイカスト金型の冷却に関する。
続きを表示(約 1,400 文字)
【背景技術】
【0002】
ダイカスト製品の鋳造方法は、金型で作ったキャビティにアルミ等の溶湯をプランジャーで充填し、キャビティに倣った形状に凝固させた製品を取り出して行う。また、製品として成形するときに巣が出来ないように、プランジャーを更に増圧する動作を加えるための増圧機構がプランジャー後部に設けられている。プランジャーによるキャビティ内への充填加圧作用を行って、キャビティ形状に合わせた製品を製造している。
【0003】
また、近年、プランジャーで加圧した製品から更に巣を除くため、プランジャーによる1次加圧の後に、製品に至るランナー部分に製品部を押圧する加圧ピンを別途に配置し、2次的に高い圧力で製品を押圧する構造のものが提案されている。特に高加圧する際に溶湯が逆流しないように加圧ピンの摺動箇所にオリフィスを設け、高圧で押圧するようにしている(特許文献1)。2次加圧手段の加圧ピンは高加圧を行うため、プランジャーより小径とされ、プランジャーの加圧限度(80MPa)を超える300MPaを与えるようにしている。
【0004】
ところが、従来の加圧ピンはランナーとの摺動隙間が小さく、摺動部分がオリフィスであるが連続生産すると高熱になり、逆流防止機能が低下し、溶湯に逆流が増え、加圧効果が悪化した。
【先行技術文献】
【特許文献】
【0005】
特許第7090254号
【発明の概要】
【発明が解決しようとする課題】
【0006】
本発明は、上記問題点に着目し、プランジャーによる溶湯射出後に第2射出としてのランナーの加圧を行うに際し、オリフィス部分の冷却と加圧ピン部分の冷却を行うことができるようにしたダイカスト装置とその製法を提供することを目的としている。
【課題を解決するための手段】
【0007】
本発明は、上記目的を達成するため、以下のように構成したものである。ダイカスト金型に溶湯を射出する第1加圧手段の他に、キャビティに直結する通路を加圧するピンを有する第2加圧手段を設けたダイカスト製造装置において、前記第2加圧手段の加圧経路にオリフィスを設け、当該オリフィス部分にて溶湯遮蔽をなす構成であって、前記オリフィス構成部品に冷媒通路を形成し、この冷媒通路に冷却媒体を供給するように構成した。
【0008】
この場合、前記オリフィスは円環状の突起であって、可動型と固定型とに取り付けられる半円環状とされ、半円環状のそれぞれに冷媒通路を設け、入口と出口を設けたものである。
【0009】
また、ダイカスト金型に溶湯を射出する第1加圧手段の他に、キャビティに直結する通路を加圧するピンを有する第2加圧手段を設けたダイカスト製造装置において、前記第2加圧手段の加圧経路にオリフィスを設け、当該オリフィス部分にて溶湯遮蔽をなす構成であって、前記オリフィスを通過する第2加圧手段の加圧ピンには内部に冷媒通路を形成し、この冷媒通路に冷却媒体を供給するようにしている。
【0010】
前記冷媒通路は加圧ピンに形成した通路穴の内部に配管を挿通した二重通路となし、内部配管に入口を接続し、外部の通路穴には出口を接続することにより冷却効果を高めるようにしたものである。
(【0011】以降は省略されています)
この特許をJ-PlatPat(特許庁公式サイト)で参照する
関連特許
他の特許を見る