TOP
|
特許
|
意匠
|
商標
特許ウォッチ
Twitter
他の特許を見る
10個以上の画像は省略されています。
公開番号
2025181408
公報種別
公開特許公報(A)
公開日
2025-12-11
出願番号
2024089377
出願日
2024-05-31
発明の名称
二次電池の端子および二次電池の端子の製造方法
出願人
日東精工株式会社
代理人
主分類
H01M
50/567 20210101AFI20251204BHJP(基本的電気素子)
要約
【課題】本発明は、接合部品と被接合部材との密着性に優れた二次電池の端子を提供する。
【解決手段】
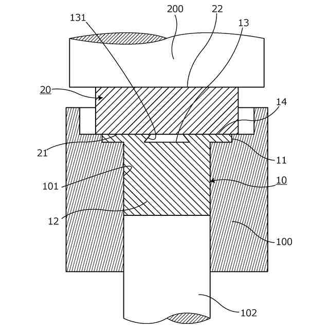
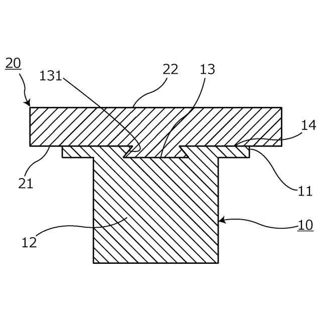
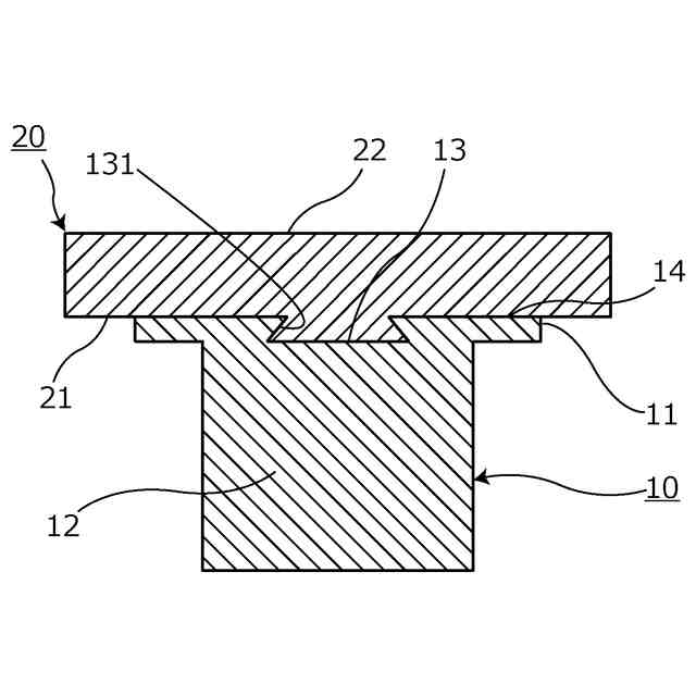
金属製の接合部材10と、前記接合部材10と抜脱不能に接合された金属製の被接合部材20とを有する二次電池の端子であって、前記接合部材10は、前記被接合部材20との接合界面に粗面部14を有しており、前記被接合部材20は、前記接合部材10の粗面部14と隙間なく密着していることを特徴とする二次電池の端子による。また、前記粗面部14は、梨地加工による凹凸であることを特徴とする請求項1に記載の二次電池の端子。さらに、前記粗面部14は、前記嵌合部13より遙かに小さい微少溝であることを特徴とする。
【選択図】図2
特許請求の範囲
【請求項1】
金属製の接合部材と、
前記接合部材と抜脱不能に接合された金属製の被接合部材とを有する二次電池の端子であって、
前記接合部材は、前記被接合部材との接合界面に粗面部を有しており、
前記被接合部材は、前記接合部材の粗面部と隙間なく密着していることを特徴とする二次電池の端子。
続きを表示(約 360 文字)
【請求項2】
前記粗面部は、梨地加工による凹凸であることを特徴とする請求項1に記載の二次電池の端子。
【請求項3】
前記粗面部は、前記嵌合部より遙かに小さい微少溝であることを特徴とする請求項1に記載の二次電池の端子。
【請求項4】
金属製の接合部材と、
前記接合部材に重ねられた金属製の被接合部材とを備え
前記接合部材に粗面部を形成する工程と、
前記接合部材に被接合部材を重ねる工程と、
前記被接合部材および接合部材を加圧し、被接合部材を接合部材に沿って流動するよう塑性変形させることで被接合部材と接合部材とを密着させる加圧工程とを含み、
前記加圧工程時、被接合部材が粗面部に密着するよう変形することを特徴とする二次電池の端子の製造方法。
発明の詳細な説明
【技術分野】
【0001】
本発明は、異種金属部材同士を接合して成る二次電池の端子およびその製造方法に関する。
続きを表示(約 1,700 文字)
【背景技術】
【0002】
従来から、異種金属同士を接合してなる二次電池の端子として、特許文献1に示すものが知られている。この二次電池の端子は、アルミニウム材で成る板状部材と、銅材で成る棒状部材とを圧接させることによって棒状部材に形成された凹部に板状部材の中心部が流入して成り、リチウムイオン電池の負極端子として用いられている。
【先行技術文献】
【特許文献】
【0003】
特許第7389766号公報
【発明の概要】
【発明が解決しようとする課題】
【0004】
しかしながら、従来の二次電池の端子は、凹部から離れた平面同士での接触箇所において、密着性が低くなりやすい。このため、端子としては電気伝導率が劣り、また強度面においても抜け強度が脆弱なものとなる問題を有していた。
【0005】
本発明は、上記問題に鑑みて創成されたものであり、密着性に優れた二次電池の端子およびその二次電池の端子の接合方法を提供することを目的とする。
【課題を解決するための手段】
【0006】
本発明は、上記課題に鑑みて創生されたものであり、金属製の接合部材と、前記接合部材と抜脱不能に接合された金属製の被接合部材とを有する二次電池の端子であって、前記接合部材は、前記被接合部材との接合界面に粗面部を有しており、前記被接合部材は、前記接合部材の粗面部と隙間なく密着していることを特徴とする。
なお、前記粗面部は、梨地加工による凹凸であることが好ましい。
もしくは、前記粗面部は、前記嵌合部より遙かに小さい微少溝であることが好ましい。
【0007】
また、本発明の第2の目的は、上記二次電池の端子の製造方法であり、金属製の接合部材と、前記接合部材に重ねられた金属製の被接合部材とを備え前記接合部材に粗面部を形成する工程と、前記接合部材に被接合部材を重ねる工程と、前記被接合部材および接合部材を加圧し、被接合部材を接合部材に沿って流動するよう塑性変形させることで被接合部材と接合部材とを密着させる加圧工程とを含み、前記加圧工程時、被接合部材が粗面部に密着するよう変形することを特徴とする。
【発明の効果】
【0008】
本発明によって製造された二次電池の端子は、接合部材に粗面部が形成されており、被接合部材が接合部材の粗面部に沿って変形するため、高い密着性を発揮できる等の利点がある。
【0009】
また、上記二次電池の端子の製造方法は、被接部材を接合部材に設けた粗面部に沿って変形させながら密着させ
」ため、接合部材にのみ粗面部を成形すればよく、比較的安価に製造可能等の利点を有する。
【図面の簡単な説明】
【0010】
本発明によって接合される前の二次電池の端子の部品形状を示す図であり、(a)は被接合部材の形状を示す側面図であり、(b)は接合部材の形状を示す側面図である。
本発明に係る二次電池の端子の形状を示す側面図である。
本発明に係る電池端子の接合界面を示す要部拡大概略側面図である。
本発明に掛かる二次電池の端子の接合方法を示す側面図である。
図4から次の状態に移行した状態を示す側面図である。
本発明に掛かる二次電池の端子の他の実施形態の接合部材を示す概略平面図である。
本発明に掛かる二次電池の端子の他の実施形態の接合部材を示す概略平面図である。
本発明に掛かる二次電池の端子の他の実施形態の接合部材を示す概略平面図である。
本発明に係る二次電池の端子の他の実施形態の接合界面を示す要部拡大概略側面図である。
本発明に係る二次電池の端子の他の実施形態の接合界面を示す要部拡大概略側面図である。
本発明に係る二次電池の端子の他の実施形態の接合界面を示す要部拡大概略側面図である。
本発明に係る二次電池の端子の他の実施形態の接合界面を示す要部拡大概略側面図である。
【発明を実施するための形態】
(【0011】以降は省略されています)
この特許をJ-PlatPat(特許庁公式サイト)で参照する
関連特許
他の特許を見る