TOP
|
特許
|
意匠
|
商標
特許ウォッチ
Twitter
他の特許を見る
公開番号
2025181359
公報種別
公開特許公報(A)
公開日
2025-12-11
出願番号
2024089298
出願日
2024-05-31
発明の名称
導電性ペースト、電子部品、及び積層セラミックコンデンサ
出願人
住友金属鉱山株式会社
代理人
個人
,
個人
主分類
H01G
4/30 20060101AFI20251204BHJP(基本的電気素子)
要約
【課題】 小粒子径の導電性粉末を用いた場合であっても、粘度特性と、乾燥膜特性とを両立できる導電性ペーストを提供する。
【解決手段】 導電性粉末、分散剤、バインダー樹脂、及び、有機溶剤を含む導電性ペーストであって、バインダー樹脂は、エチルセルロースを含み、エチルセルロースは、置換度が2.60以上2.72以下であり、かつ、重量平均分子量が80,000以上200,000以下であり、分散剤は、重量平均分子量が5,000以上であるカルボン酸系高分子分散剤を含む、導電性ペースト。
【選択図】図1
特許請求の範囲
【請求項1】
導電性粉末、分散剤、バインダー樹脂、及び、有機溶剤を含む導電性ペーストであって、
前記バインダー樹脂は、エチルセルロースを含み、
前記エチルセルロースは、置換度が2.60以上2.72以下であり、かつ、重量平均分子量が80,000以上200,000以下であり、
前記分散剤は、重量平均分子量が5,000以上であるカルボン酸系高分子分散剤を含む、導電性ペースト。
続きを表示(約 720 文字)
【請求項2】
前記エチルセルロースの置換度が、2.63以上2.70以下である、請求項1に記載の導電性ペースト。
【請求項3】
前記バインダー樹脂の含有量は、前記導電性ペースト全体に対して2質量%以上4質量%未満である、請求項1に記載の導電性ペースト。
【請求項4】
前記カルボン酸系高分子分散剤の含有量は、前記導電性ペースト全体に対して0.01質量%以上2.0質量%未満である、請求項1に記載の導電性ペースト。
【請求項5】
前記エチルセルロースと前記カルボン酸系高分子分散剤の質量比が、10:20~10:0.5である、請求項1に記載の導電性ペースト。
【請求項6】
前記カルボン酸系高分子分散剤は、くし型構造のカルボン酸系高分子分散剤である、請求項1に記載の導電性ペースト。
【請求項7】
前記カルボン酸系高分子分散剤は、アルキレンオキシド重合体を含有する構成のグラフト鎖を有する、請求項1に記載の導電性ペースト。
【請求項8】
前記導電性粉末は、平均粒子径が0.05μm以上、0.3μm以下である、請求項1に記載の導電性ペースト。
【請求項9】
前記導電性ペーストは、ずり速度4sec
-1
における粘度が40Pa・s以下である、請求項1に記載の導電性ペースト。
【請求項10】
前記有機溶剤は、ジヒドロターピネオール、ジヒドロターピニルアセテート、ターピネオールからなる群より選ばれる1種類以上を含む、請求項1に記載の導電性ペースト。
(【請求項11】以降は省略されています)
発明の詳細な説明
【技術分野】
【0001】
本発明は、導電性ペースト、電子部品、及び積層セラミックコンデンサに関する。
続きを表示(約 1,900 文字)
【背景技術】
【0002】
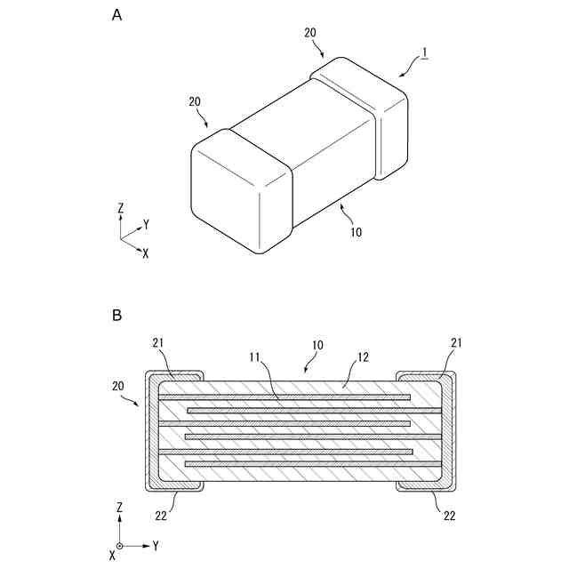
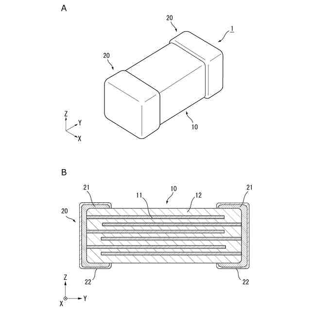
携帯電話やデジタル機器などの電子機器の小型化および高性能化に伴い、積層セラミックコンデンサなどを含む電子部品についても小型化および高容量化が望まれている。積層セラミックコンデンサは、複数の誘電体層と複数の内部電極層とが交互に積層した構造を有し、これらの誘電体層及び内部電極層を薄膜化することにより、小型化及び高容量化を図ることができる。
【0003】
積層セラミックコンデンサは、例えば、次のように製造される。まず、チタン酸バリウム(BaTiO
3
)などの誘電体粉末及びバインダー樹脂を含有する誘電体グリーンシートの表面上に、導電性粉末、バインダー樹脂、及び、有機溶剤などを含む内部電極用ペースト(導電性ペースト)を、所定の電極パターンで印刷したものを、多層に積み重ねることにより、内部電極と誘電体グリーンシートとを多層に積み重ねた積層体を得る。次に、この積層体を加熱圧着して一体化し、圧着体を形成する。この圧着体を切断し、酸化性雰囲気または不活性雰囲気中にて脱有機バインダー処理を行った後、焼成を行い、焼成チップを得る。次いで、焼成チップの両端部に外部電極用ペーストを塗布し、焼成後、外部電極表面にニッケルメッキなどを施して、積層セラミックコンデンサが得られる。
【0004】
積層セラミックコンデンサの小型化及び高容量化に向けて内部電極層の薄層化を実現するには、導電性ペーストに含まれるニッケル粒子の粒子径を低下させる必要がある。しかしながら、ニッケル粒子の粒子径を低下させると、比表面積の増大の増大に伴い導電性ペーストの粘度が増大してしまうことがある。よって、印刷方法に合わせて適度に粘度の調整を行う必要がある。
【0005】
これまで、導電性ペーストの粘度特性の改善の試みがなされている。例えば、特許文献1には、少なくとも金属成分と、酸化物と、分散剤と、バインダー樹脂とを含有する導電性ペーストであって、金属成分は、その表面組成が、特定の組成比を有するNi粉末であり、分散剤の酸点量は、500~2000μmol/gであり、バインダー樹脂の酸点量は、15~100μmol/gである導電性ペーストが記載されている。そして、特許文献1によれば、この導電性ペーストは、良好な分散性と粘度安定性を有するとされている。
【0006】
また、例えば、特許文献2には、導電性粉末、セラミック粉末、分散剤、バインダー樹脂及び有機溶剤を含む導電性ペーストであって、バインダー樹脂が、質量平均分子量が30000~150000であり、エトキシ基含有量が45~50質量%のエチルセルロースを含み、分散剤が、特定の一般式で示されるアミン系分散剤を含み、有機溶剤が、ジヒドロターピネオールと、特定の一般式で示される溶剤を含む、導電性ペーストが記載されている。そして、特許文献2によれば、乾燥後の導電膜としての平滑性が高く、経時的な粘度変化が少ない、導電性ペースト、電子部品、及び、積層セラミックコンデンサを提供することができるとされている。
【先行技術文献】
【特許文献】
【0007】
特開2015-216244号公報
特開2023-160730号公報
【発明の概要】
【発明が解決しようとする課題】
【0008】
上記特許文献1、2に記載されるように、導電性ペーストの粘度調整の手法としては、例えば、導電性ペーストに含有させるバインダー樹脂の種類、分子量、および特性の調整、分散剤の種類及びその含有量の調整などが従来から行われている。
【0009】
しかしながら、導電性粉末の小粒径化に伴い、バインダー樹脂の種類、分子量および含有量、分散剤の種類、含有量等を調整すると、導電性ペーストの粘度以外の各種特性も大きく変化してしまい、導電性ペーストの粘度特性と、その他の種々の特性とを両立した導電性ペーストを得ることが難しかった。そこで、導電性粉末を小粒径化しても、粒径が大きい導電性粉末を用いた導電性ペーストにおいて得られていた好適な特性(例、乾燥膜特性)を維持、又は向上させ、かつ、粘度特性をより向上させることが望まれていた。
【0010】
本発明は、このような状況に鑑み、導電性粉末を小粒径化しても、導電性ペーストの粘度特性と、乾燥膜特性とを両立した導電性ペースト、これを用いた電子部品、及び積層セラミックコンデンサを提供することを目的とする。
【課題を解決するための手段】
(【0011】以降は省略されています)
この特許をJ-PlatPat(特許庁公式サイト)で参照する
関連特許
他の特許を見る